TOP
|
特許
|
意匠
|
商標
特許ウォッチ
Twitter
他の特許を見る
公開番号
2025120814
公報種別
公開特許公報(A)
公開日
2025-08-18
出願番号
2024015923
出願日
2024-02-05
発明の名称
センサ素子およびガスセンサ
出願人
日本碍子株式会社
代理人
弁理士法人アイテック国際特許事務所
主分類
G01N
27/416 20060101AFI20250808BHJP(測定;試験)
要約
【課題】被測定ガス中の水素に起因する素子本体のクラックを抑制しつつ特定ガス濃度の検出精度の低下を抑制する。
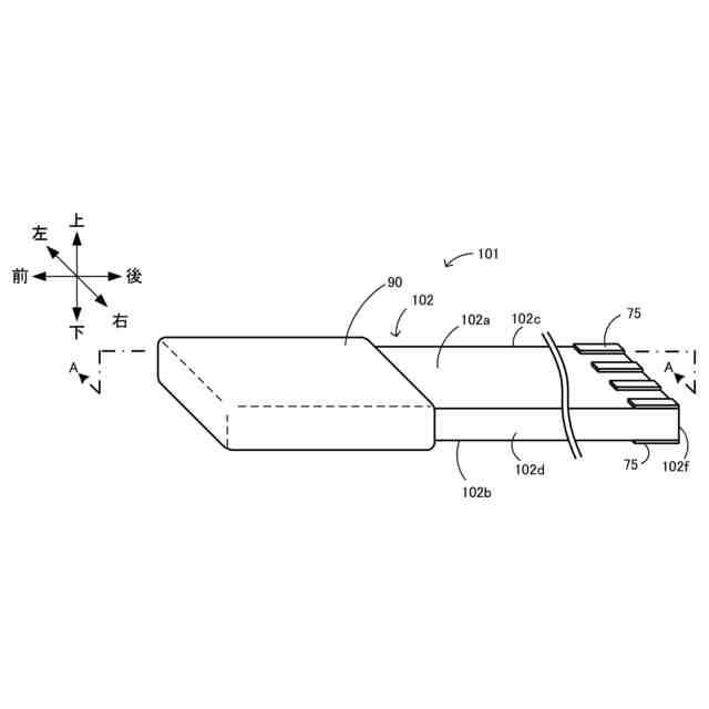
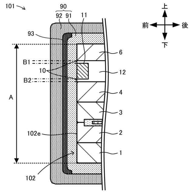
【解決手段】センサ素子101は、被測定ガス中のアンモニアおよびNOxの合計濃度である特定ガス濃度を検出するためのものである。センサ素子101は、酸素イオン伝導性の固体電解質体を有し、ガス導入口10から被測定ガスを導入して流通させる被測定ガス流通部が内部に設けられた素子本体102と、酸化触媒としての第1種貴金属およびアンモニアの酸化を抑制する酸化抑制触媒としての第2種貴金属を含有し、素子本体102の外面のうちガス導入口10を有する開口面である第5面102eの少なくとも一部を覆う触媒部93と、を備えている。
【選択図】図4
特許請求の範囲
【請求項1】
被測定ガス中のアンモニアおよびNOxの合計濃度である特定ガス濃度を検出するためのセンサ素子であって、
酸素イオン伝導性の固体電解質体を有し、ガス導入口から前記被測定ガスを導入して流通させる被測定ガス流通部が内部に設けられた素子本体と、
酸化触媒としての第1種貴金属およびアンモニアの酸化を抑制する酸化抑制触媒としての第2種貴金属を含有し、前記素子本体の外面のうち前記ガス導入口を有する開口面の少なくとも一部を覆う触媒部と、
を備えたセンサ素子。
続きを表示(約 1,200 文字)
【請求項2】
請求項1に記載のセンサ素子であって、
前記触媒部は、前記第1種貴金属としてPt、Rh、Ir、Ru、Pdの少なくとも1つを含み、
前記触媒部は、前記第2種貴金属としてAuを含む、
センサ素子。
【請求項3】
請求項2に記載のセンサ素子であって、
前記触媒部は、前記第1種貴金属としてPtを含み、
前記触媒部は、X線光電子分光法(XPS)を用いて測定されたAu/Pt比(=Auが存在する部分の面積/Ptが存在する部分の面積)が0.1以上である、
センサ素子。
【請求項4】
請求項3に記載のセンサ素子であって、
前記触媒部は、前記Au/Pt比が0.25以上である、
センサ素子。
【請求項5】
請求項1~4のいずれか1項に記載のセンサ素子であって、
前記触媒部は、前記ガス導入口の少なくとも一部を覆っている、
センサ素子。
【請求項6】
請求項1~4のいずれか1項に記載のセンサ素子であって、
前記素子本体の前記外面のうち前記開口面の少なくとも一部を覆う多孔質保護層、
を更に備え、
前記多孔質保護層は、少なくとも一部が前記触媒部と前記素子本体との間に設けられている、
センサ素子。
【請求項7】
請求項1~4のいずれか1項に記載のセンサ素子であって、
前記素子本体のうち前記開口面の少なくとも一部を覆う多孔質保護層、
を更に備え、
前記多孔質保護層は、少なくとも一部が前記触媒部を覆っている、
センサ素子。
【請求項8】
請求項1~4のいずれか1項に記載のセンサ素子であって、
前記触媒部は、酸素吸蔵材を含有している、
センサ素子。
【請求項9】
請求項1~4のいずれか1項に記載のセンサ素子であって、
前記素子本体は、長手方向に沿った両端である前端および後端と前記長手方向に沿った外面である側面とを有し且つ前記前端側が前記被測定ガスに晒され、
前記開口面は、前記素子本体の前端面または側面である、
センサ素子。
【請求項10】
請求項1~4のいずれか1項に記載のセンサ素子であって、
前記被測定ガス流通部のうち測定室に設けられた内側測定電極、および、前記被測定ガスと接触するように前記素子本体の外面に設けられた外側測定電極、を有する測定用ポンプセルと、
前記被測定ガス流通部のうち前記測定室の上流側に設けられた酸素濃度調整室に設けられた内側調整電極、および、前記被測定ガスと接触するように前記素子本体の外面に設けられた外側調整電極、を有する調整用ポンプセルと、
前記素子本体を加熱するヒータと、
を更に備えたセンサ素子。
(【請求項11】以降は省略されています)
発明の詳細な説明
【技術分野】
【0001】
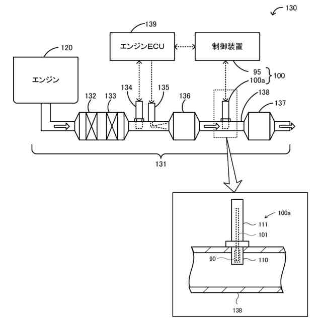
本発明は、センサ素子およびガスセンサに関する。
続きを表示(約 2,300 文字)
【背景技術】
【0002】
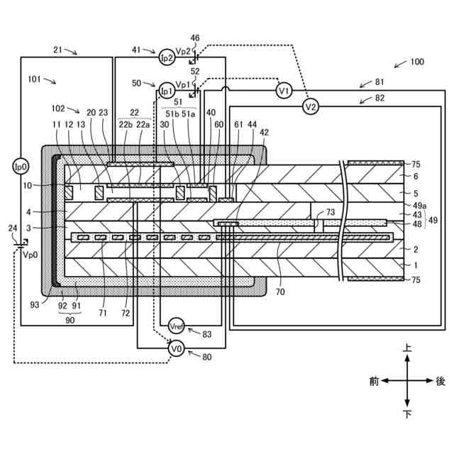
従来、自動車の排気ガスなどの被測定ガスにおけるアンモニアなどの特定ガスの濃度を検出するガスセンサが知られている。例えば、特許文献1には、素子本体と、主ポンプセルと、補助ポンプセルと、測定用ポンプセルと、を有するセンサ素子を備えたガスセンサが記載されている。素子本体は、酸素イオン伝導性の固体電解質層を含み被測定ガスを導入して流通させる被測定ガス流通部が内部に設けられている。主ポンプセルは、被測定ガス流通部のうちの第1内部空所に設けられた内側主ポンプ電極と、素子本体の外側の被測定ガスに晒される部分に設けられた外側主ポンプ電極と、を有する。補助ポンプセルは、被測定ガス流通部のうちの第1内部空所よりも下流側の第2内部空所に設けられた内側補助ポンプ電極と、素子本体の外側の被測定ガスに晒される部分に設けられた外側補助ポンプ電極と、を有する。測定用ポンプセルは、被測定ガス流通部のうちの第2内部空所よりも下流側の測定室に設けられた内側測定電極と、素子本体の外側の被測定ガスに晒される部分に設けられた外側測定電極と、を有する。このセンサ素子を用いてアンモニアの濃度を検出する場合、まず、第1内部空所ではアンモニアがNOxに変換される。また、主ポンプセルおよび補助ポンプセルによって第1内部空所および第2内部空所で被測定ガスの酸素濃度が調整される。続いて、酸素濃度が調整された後の被測定ガス中のNOxが測定室で還元される。そして、NOxの還元で生じた酸素を測定用ポンプセルが汲み出すときに流れるポンプ電流に基づいて、被測定ガス中のアンモニアの濃度が検出される。
【先行技術文献】
【特許文献】
【0003】
特開2022-091669号公報
【発明の概要】
【発明が解決しようとする課題】
【0004】
こうしたガスセンサにおいて、特定ガス濃度としてアンモニアとNOxとの合計濃度を検出する場合がある。この場合に、被測定ガス中に水素が含まれると、水素が被測定ガス流通部の内部で酸化し、酸化反応時の発熱に起因して素子本体にクラックが生じる場合がある。また、これに対する対策として、水素が被測定ガス流通部の内部に到達する前に酸化触媒を用いて水素を酸化させることも考えられるが、その場合はアンモニアも酸化されて窒素に変換されてしまい、特定ガス濃度の検出精度が低下してしまう場合がある。
【0005】
本発明はこのような課題を解決するためになされたものであり、被測定ガス中の水素に起因する素子本体のクラックを抑制しつつ特定ガス濃度の検出精度の低下を抑制することを主目的とする。
【課題を解決するための手段】
【0006】
本発明は、上述した主目的を達成するために以下の手段を採った。
【0007】
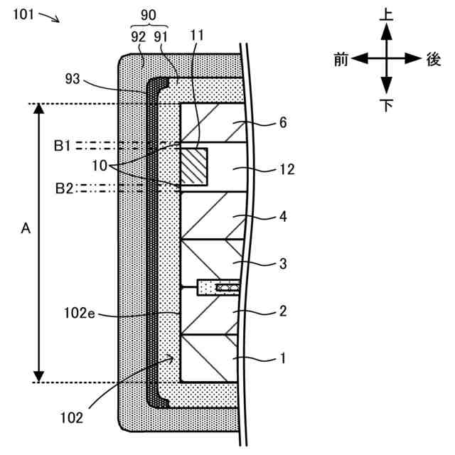
[1]本発明のセンサ素子は、
被測定ガス中のアンモニアおよびNOxの合計濃度である特定ガス濃度を検出するためのセンサ素子であって、
酸素イオン伝導性の固体電解質体を有し、ガス導入口から前記被測定ガスを導入して流通させる被測定ガス流通部が内部に設けられた素子本体と、
酸化触媒としての第1種貴金属およびアンモニアの酸化を抑制する酸化抑制触媒としての第2種貴金属を含有し、前記素子本体の外面のうち前記ガス導入口を有する開口面の少なくとも一部を覆う触媒部と、
を備えたものである。
【0008】
このセンサ素子では、酸化触媒としての第1種貴金属を含有する触媒部が素子本体の外面のうちガス導入口を有する開口面の少なくとも一部を覆っているから、被測定ガス中の水素を触媒部で酸化できる。これにより、水素が素子本体の内部で酸化することを抑制できるから、水素の酸化反応の発熱による素子本体のクラックの発生を抑制できる。また、触媒部はアンモニアの酸化を抑制する酸化抑制触媒としての第2種貴金属も含有しているから、被測定ガス中のアンモニアが素子本体の内部に到達する前に触媒部で酸化されて窒素に変化してしまうことを抑制できる。これにより、特定ガス濃度の検出精度の低下を抑制できる。以上のことから、このセンサ素子では、被測定ガス中の水素に起因する素子本体のクラックの発生を抑制しつつ特定ガス濃度の検出精度の低下を抑制できる。なお、水素はアンモニアと比べて酸化されやすいことから、アンモニアの方が第2種貴金属の影響を受けて酸化が抑制されやすい。そのため、触媒部が第1種貴金属と第2種貴金属とを含有することで、触媒部では水素を酸化させつつアンモニアの酸化を抑制することができる。
【0009】
[2]上述したセンサ素子(前記[1]に記載のセンサ素子)において、前記触媒部は、前記第1種貴金属としてPt、Rh、Ir、Ru、Pdの少なくとも1つを含み、前記触媒部は、前記第2種貴金属としてAuを含んでいてもよい。
【0010】
[3]上述したセンサ素子(前記[2]に記載のセンサ素子)において、前記触媒部は、前記第1種貴金属としてPtを含み、前記触媒部は、X線光電子分光法(XPS)を用いて測定されたAu/Pt比(=Auが存在する部分の面積/Ptが存在する部分の面積)が0.1以上であってもよい。こうすれば、被測定ガス中のアンモニアが触媒部で酸化されるのを抑制して特定ガス濃度の検出精度の低下を抑制する効果がより確実に得られる。
(【0011】以降は省略されています)
この特許をJ-PlatPat(特許庁公式サイト)で参照する
関連特許
日本碍子株式会社
電池
3か月前
日本碍子株式会社
蒸発器
1日前
日本碍子株式会社
熱交換器
2か月前
日本碍子株式会社
熱交換器
1か月前
日本碍子株式会社
把持方法
1か月前
日本碍子株式会社
ガスセンサ
2か月前
日本碍子株式会社
回収システム
1日前
日本碍子株式会社
ウエハ載置台
1か月前
日本碍子株式会社
電気化学セル
23日前
日本碍子株式会社
空調システム
1か月前
日本碍子株式会社
亜鉛二次電池
1か月前
日本碍子株式会社
電気加熱式担体
1か月前
日本碍子株式会社
電気加熱式担体
1か月前
日本碍子株式会社
ハニカム構造体
1か月前
日本碍子株式会社
ハニカム構造体
1か月前
日本碍子株式会社
ハニカム構造体
2か月前
日本碍子株式会社
ハニカム構造体
1か月前
日本碍子株式会社
ハニカム構造体
2か月前
日本碍子株式会社
ハニカム構造体
1か月前
日本碍子株式会社
ハニカム構造体
2か月前
日本碍子株式会社
メタン製造反応器
1か月前
日本碍子株式会社
ハニカムフィルタ
1か月前
日本碍子株式会社
セラミックヒータ
2日前
日本碍子株式会社
アルカリ二次電池
2か月前
日本碍子株式会社
車両用調湿システム
1日前
日本碍子株式会社
車両用空調システム
1日前
日本碍子株式会社
導波素子の製造方法
2か月前
日本碍子株式会社
三相型ハニカムヒータ
1か月前
日本碍子株式会社
半導体製造装置用部材
2か月前
日本碍子株式会社
ウォーキングビーム炉
1か月前
日本碍子株式会社
セラミックサセプター
1か月前
日本碍子株式会社
浄水膜構造体の製造方法
1か月前
日本碍子株式会社
半導体製造装置用ヒータ
1か月前
日本碍子株式会社
センサ素子及びガスセンサ
1か月前
日本碍子株式会社
センサ素子およびガスセンサ
1か月前
日本碍子株式会社
セラミックス部材の製造方法
1か月前
続きを見る
他の特許を見る