TOP
|
特許
|
意匠
|
商標
特許ウォッチ
Twitter
他の特許を見る
公開番号
2025169003
公報種別
公開特許公報(A)
公開日
2025-11-12
出願番号
2024073941
出願日
2024-04-30
発明の名称
ろ過膜の洗浄方法及び洗浄装置
出願人
オルガノ株式会社
代理人
個人
,
個人
主分類
B01D
65/02 20060101AFI20251105BHJP(物理的または化学的方法または装置一般)
要約
【課題】ろ過膜から流出する微粒子の数をさらに低減させることができるろ過膜の洗浄方法を提供する。
【解決手段】ろ過膜14の洗浄方法は、洗浄水にろ過膜14を浸漬させろ過膜14を洗浄水の中で回転または揺動させながら、洗浄水に超音波の振動エネルギーを与える工程を有する。
【選択図】図3
特許請求の範囲
【請求項1】
洗浄水にろ過膜を浸漬させ前記ろ過膜を前記洗浄水の中で回転または揺動させながら、前記洗浄水に超音波の振動エネルギーを与える工程を有する、ろ過膜の洗浄方法。
続きを表示(約 760 文字)
【請求項2】
前記ろ過膜は円筒形であり、
前記ろ過膜を回転させることは、前記ろ過膜を前記円筒形の中心軸の周りで回転させることを含む、請求項1に記載のろ過膜の洗浄方法。
【請求項3】
前記ろ過膜を洗浄槽内に設置し、鉛直方向視で前記中心軸から離れた位置から前記洗浄槽に前記洗浄水を供給し、前記洗浄槽に生じる前記洗浄水の流れによって前記ろ過膜を回転させる、請求項2に記載のろ過膜の洗浄方法。
【請求項4】
前記ろ過膜を回転させることは、前記ろ過膜の正転と反転をそれぞれ少なくとも1回行うことを含む、請求項2に記載のろ過膜の洗浄方法。
【請求項5】
前記洗浄水の温度は30℃以上100℃以下である、請求項1に記載のろ過膜の洗浄方法。
【請求項6】
前記超音波の照射時間は1時間未満である、請求項1に記載のろ過膜の洗浄方法。
【請求項7】
前記洗浄水は、超純水に水素ガスを溶解させて製造される、請求項1から6のいずれか1項に記載のろ過膜の洗浄方法。
【請求項8】
前記洗浄水は、前記超純水に水素ガスを水素濃度1ppm以上で溶解させることを含む、請求項7に記載のろ過膜の洗浄方法。
【請求項9】
超純水にガスを溶解させることを含む洗浄水の製造工程を実行可能な洗浄水の供給装置と、
前記供給装置から前記洗浄水が供給されるろ過膜の洗浄槽と、
前記洗浄槽の中で前記ろ過膜を前記洗浄水に浸漬可能に保持する保持具と、
前記洗浄水に超音波を照射する超音波発生装置と、を有し、
前記保持具は、前記ろ過膜を前記洗浄水の中で回転または揺動させることができるようにされている、ろ過膜の洗浄装置。
発明の詳細な説明
【技術分野】
【0001】
本発明はろ過膜の洗浄方法と洗浄装置に関する。
続きを表示(約 1,400 文字)
【背景技術】
【0002】
超純水製造装置は一般に、原水を処理する前処理装置と、前処理装置の処理水から純水を製造する1次純水システムと、1次純水システムの処理水から超純水を製造する2次純水システムと、を有している。2次純水システムは紫外線酸化装置、イオン交換樹脂充填装置などの装置に加え、最下流に限外ろ過膜装置、精密ろ過膜装置などのろ過膜装置を備えることが多い。これらのろ過膜装置はユースポイントに供給される超純水を最終的にろ過するためのものであるため、ろ過膜装置から流出する微粒子を最小限に抑えるための厳密な管理が求められる。その一環として、これらのろ過膜装置が備えるろ過膜を使用前に洗浄することが知られている。特許文献1にはろ過膜装置のケーシングから取り出したろ過膜をアンモニア水に浸漬させ、アンモニア水に超音波を照射するろ過膜の洗浄方法が記載されている。
【先行技術文献】
【特許文献】
【0003】
特開2002-52322号公報
【発明の概要】
【発明が解決しようとする課題】
【0004】
特許文献1には上記洗浄方法は一定の洗浄効果が得られると記載されているが、依然としてろ過膜から流出する微粒子の数を十分に低減させることができない。
【0005】
本発明は、ろ過膜から流出する微粒子の数をさらに低減させることができるろ過膜の洗浄方法を提供することを目的とする。
【課題を解決するための手段】
【0006】
本発明のろ過膜の洗浄方法は、洗浄水にろ過膜を浸漬させろ過膜を洗浄水の中で回転または揺動させながら、洗浄水に超音波の振動エネルギーを与える工程を有する。
【発明の効果】
【0007】
本発明によれば、ろ過膜から流出する微粒子の数をさらに低減させることができるろ過膜の洗浄方法を提供することができる。
【図面の簡単な説明】
【0008】
超純水製造装置の2次純水システムの概略構成図である。
ろ過膜モジュールの例示的な概略図である。
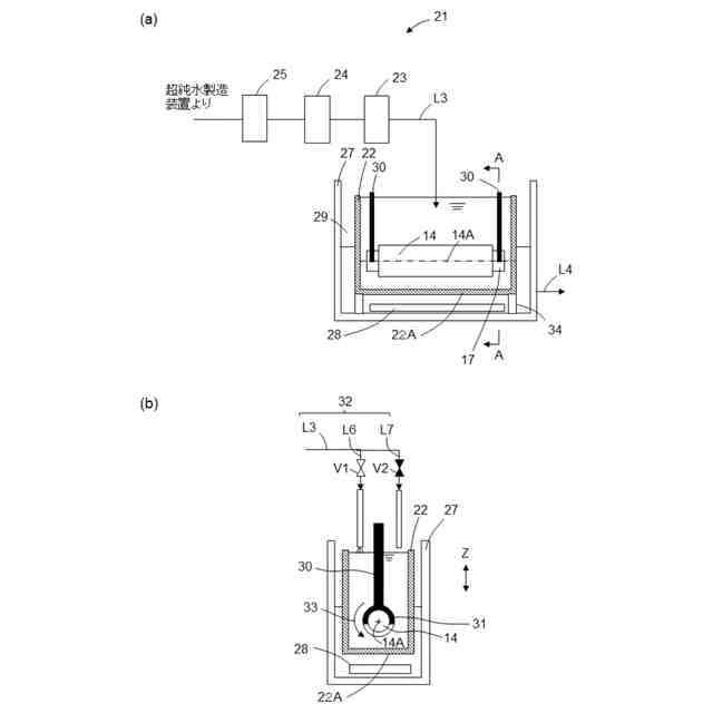
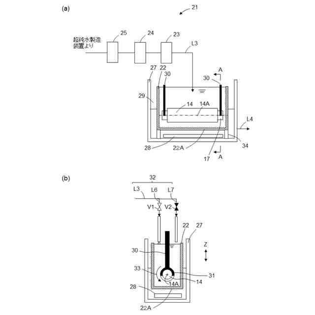
本実施形態に係るろ過膜の洗浄装置の概略構成図である。
ろ過膜を動かす方法の変形例を示す概念図である。
実施例の装置構成を示す略図と微粒子数測定結果を示すグラフである。
【発明を実施するための形態】
【0009】
図面を参照して本発明の実施形態と実施例について説明する。図1は、本発明の一実施形態に係る超純水製造装置の2次純水システム1の概要を示している。超純水製造装置は半導体などの電子部品製造工程で使用される超純水を製造する。2次純水システム1は、1次純水システムで製造された純水から、ユースポイント9に供給される超純水を製造するためのシステムで、サブシステムとも呼ばれる。
【0010】
超純水製造装置の2次純水システム1は純水タンク2、純水供給ポンプ3、熱交換器4、紫外線酸化装置5、イオン交換装置6、膜脱気装置7、限外ろ過膜装置8を有し、これらは主ラインL1上に被処理水の通水方向Dに沿って上記の順序で設けられている。主ラインL1はユースポイント9に接続され、2次純水システム1で製造された超純水はユースポイント9に供給される。ユースポイント9で使用されなかった超純水は、主ラインL1に接続されたリターンラインL2を通って純水タンク2に戻される。
(【0011】以降は省略されています)
この特許をJ-PlatPat(特許庁公式サイト)で参照する
関連特許
オルガノ株式会社
UV照射装置
10日前
オルガノ株式会社
薬液精製システム
1か月前
オルガノ株式会社
水処理装置および水処理方法
1か月前
オルガノ株式会社
水処理装置および水処理方法
1か月前
オルガノ株式会社
ろ過膜の洗浄方法及び洗浄装置
3日前
オルガノ株式会社
尿素処理装置および尿素処理方法
1か月前
オルガノ株式会社
水処理システムおよびその運転方法
1か月前
オルガノ株式会社
気体の処理方法および気体の処理装置
18日前
オルガノ株式会社
冷却水系制御方法および冷却水系制御装置
1か月前
オルガノ株式会社
タンパク質洗浄剤およびタンパク質洗浄方法
1か月前
オルガノ株式会社
不純物の検出方法、検査プレート及び検出装置
8日前
オルガノ株式会社
情報処理装置、判定方法および水処理システム
1か月前
オルガノ株式会社
電池収容体、電池モジュール、および電池パック
11日前
オルガノ株式会社
電池収容体、電池モジュール、および電池パック
1か月前
オルガノ株式会社
水処理設備、制御装置、運転方法およびプログラム
1か月前
オルガノ株式会社
液体処理システム、情報処理装置および情報処理方法
1か月前
オルガノ株式会社
冷却水系の薬注制御方法および冷却水系の薬注制御装置
1か月前
オルガノ株式会社
純水製造システム、回収処理水供給装置および純水製造方法
1か月前
オルガノ株式会社
水処理装置、溶存ガス測定装置の設置方法、および溶存ガス測定方法
1日前
オルガノ株式会社
懸濁物質濃度の測定装置、懸濁物質濃度の測定方法、晶析反応システム、および晶析反応方法
2か月前
オルガノ株式会社
強酸性カチオン交換樹脂の製造方法および製造設備、ならびに該強酸性カチオン交換樹脂の再利用方法
1か月前
オルガノ株式会社
強塩基性アニオン交換樹脂の製造方法および製造設備、ならびに該強塩基性アニオン交換樹脂の再利用方法
1か月前
株式会社西部技研
除湿装置
1か月前
株式会社日本触媒
ドロー溶質
24日前
ユニチカ株式会社
複合中空糸膜
1か月前
日本バイリーン株式会社
フィルタ
9日前
サンノプコ株式会社
消泡剤
22日前
東レ株式会社
中空糸膜モジュール
1か月前
東レ株式会社
遠心ポッティング方法
16日前
トヨタ自動車株式会社
濾過装置
10日前
ヤマシンフィルタ株式会社
フィルタ装置
1か月前
個人
気液混合装置
22日前
大和ハウス工業株式会社
反応装置
1か月前
松岡紙業 株式会社
油吸着体の製造方法
24日前
富士電機株式会社
ガス処理システム
19日前
株式会社フクハラ
圧縮空気圧回路ユニット
22日前
続きを見る
他の特許を見る