TOP
|
特許
|
意匠
|
商標
特許ウォッチ
Twitter
他の特許を見る
10個以上の画像は省略されています。
公開番号
2025172203
公報種別
公開特許公報(A)
公開日
2025-11-20
出願番号
2025155094,2020168503
出願日
2025-09-18,2020-10-05
発明の名称
純水製造システムおよび純水製造方法
出願人
オルガノ株式会社
代理人
個人
,
個人
主分類
B01D
61/12 20060101AFI20251113BHJP(物理的または化学的方法または装置一般)
要約
【課題】処理水の水質の高純度化を実現するとともに、製造コストの上昇を抑えることができる純水製造システムおよび純水製造方法を提供する。
【解決手段】純水製造システム1が、逆浸透膜装置4と、逆浸透膜装置4の後段に配置された電気式脱イオン水製造装置5と、逆浸透膜装置4の処理条件を制御する制御装置8と、を含む。制御装置8は、電気式脱イオン水製造装置5の特定の物質の除去率が閾値以下になり、かつ、電気式脱イオン水製造装置5の処理水の特定の物質の濃度が規定値以下で比抵抗が規定値以上になるように、逆浸透膜装置4への被処理水のpH、回収率、圧力、水温のいずれか一つ以上を制御する。
【選択図】図1
特許請求の範囲
【請求項1】
逆浸透膜装置と、前記逆浸透膜装置の後段に配置された電気式脱イオン水製造装置と、前記逆浸透膜装置の処理条件を制御する制御装置と、を含み、
前記制御装置は、前記電気式脱イオン水製造装置の特定の物質の除去率が閾値以下になり、かつ、前記電気式脱イオン水製造装置の処理水の前記特定の物質の濃度が規定値以下で比抵抗が規定値以上になるように、前記逆浸透膜装置への被処理水のpH、回収率、圧力、水温のいずれか一つ以上を制御することを特徴とする、純水製造システム。
続きを表示(約 1,400 文字)
【請求項2】
前記特定の物質の除去率はホウ素除去率である、請求項1に記載の純水製造システム。
【請求項3】
前記閾値は99.7%である、請求項2に記載の純水製造システム。
【請求項4】
前記電気式脱イオン水製造装置の処理水のホウ素の濃度が50ng/L以下で比抵抗が17MΩ・cm以上になるように、前記逆浸透膜装置への被処理水のpH、回収率、圧力、水温のいずれか一つ以上を制御する、請求項2または3に記載の純水製造システム。
【請求項5】
逆浸透膜装置と、前記逆浸透膜装置の後段に配置された電気式脱イオン水製造装置と、前記逆浸透膜装置の処理条件を制御する制御装置と、を含み、
前記制御装置は、前記電気式脱イオン水製造装置の消費電力が350W・h/m
3
以下になり、かつ、前記電気式脱イオン水製造装置の処理水のホウ素の濃度が50ng/L以下で比抵抗が17MΩ・cm以上になるように、前記逆浸透膜装置の処理条件を制御することを特徴とする、純水製造システム。
【請求項6】
逆浸透膜装置と、前記逆浸透膜装置の後段に配置された電気式脱イオン水製造装置と、を含む純水製造システムを用い、
前記逆浸透膜装置への被処理水のpH、回収率、圧力、水温のいずれか一つ以上を、前記電気式脱イオン水製造装置の特定の物質の除去率が閾値以下になり、かつ、前記電気式脱イオン水製造装置の処理水の前記特定の物質の濃度が規定値以下で比抵抗が規定値以上になるように設定して、前記逆浸透膜装置を作動させ、
前記逆浸透膜装置を透過した液体を前記電気式脱イオン水製造装置に供給し、前記特定の物質の除去率が閾値以下になり、かつ、前記電気式脱イオン水製造装置の処理水の前記特定の物質の濃度が規定値以下で比抵抗が規定値以上になるように前記電気式脱イオン水製造装置を作動させることを特徴とする、純水製造方法。
【請求項7】
前記特定の物質の除去率はホウ素除去率である、請求項6に記載の純水製造方法。
【請求項8】
前記閾値は99.7%である、請求項7に記載の純水製造方法。
【請求項9】
前記電気式脱イオン水製造装置の処理水のホウ素の濃度が50ng/L以下で比抵抗が17MΩ・cm以上になるように、前記逆浸透膜装置への被処理水のpH、回収率、圧力、水温のいずれか一つ以上を設定する、請求項7または8に記載の純水製造方法。
【請求項10】
逆浸透膜装置と、前記逆浸透膜装置の後段に配置された電気式脱イオン水製造装置と、を含む純水製造システムを用い、
前記電気式脱イオン水製造装置の消費電力が350W・h/m
3
以下になり、かつ、前記電気式脱イオン水製造装置の処理水のホウ素の濃度が50ng/L以下で比抵抗が17MΩ・cm以上になるように設定した処理条件で、前記逆浸透膜装置を作動させ、
前記逆浸透膜装置を透過した液体を前記電気式脱イオン水製造装置に供給し、前記電気式脱イオン水製造装置の消費電力が350W・h/m
3
以下になり、かつ、前記電気式脱イオン水製造装置の処理水のホウ素の濃度が50ng/L以下で比抵抗が17MΩ・cm以上になるように前記電気式脱イオン水製造装置を作動させることを特徴とする、純水製造方法。
発明の詳細な説明
【技術分野】
【0001】
本発明は、純水製造システムおよび純水製造方法に関する。
続きを表示(約 2,400 文字)
【背景技術】
【0002】
従来、半導体の洗浄等のために超純水が用いられており、半導体の高性能化に伴い、より高純度の純水、超純水が求められている。純水製造システムは、特許文献1に記載されているように、逆浸透膜装置(RO装置)および電気式脱イオン水製造装置(EDI装置)等により構成されている。
【先行技術文献】
【特許文献】
【0003】
特開平11-244853号公報
【発明の概要】
【発明が解決しようとする課題】
【0004】
処理水の水質の高純度化が求められる一方で、超純水製造におけるコストダウンが求められている。EDI装置において水質の高純度化を達成するためには、EDI装置に印加する電流を大きくする必要がある。しかし、EDI装置に印加する電流を大きくすると製造コストが高くなる。
【0005】
本発明は、処理水の水質の高純度化を実現するとともに、製造コストの上昇を抑えることができる純水製造システムおよび純水製造方法を提供することを目的とする。
【課題を解決するための手段】
【0006】
本発明の純水製造システムは、逆浸透膜装置と、前記逆浸透膜装置の後段に配置された電気式脱イオン水製造装置と、前記逆浸透膜装置の処理条件を制御する制御装置と、を含み、前記制御装置は、前記電気式脱イオン水製造装置の特定の物質の除去率が閾値以下になり、かつ、前記電気式脱イオン水製造装置の処理水の前記特定の物質の濃度が規定値以下で比抵抗が規定値以上になるように、前記逆浸透膜装置への被処理水のpH、回収率、圧力、水温のいずれか一つ以上を制御することを特徴とする。
【発明の効果】
【0007】
本発明によると、処理水の水質の高純度化を実現するとともに、製造コストの上昇を抑えることができる純水製造システムおよび純水製造方法を提供することができる。
【図面の簡単な説明】
【0008】
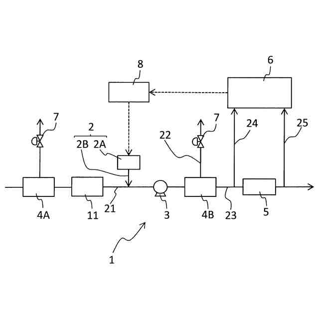
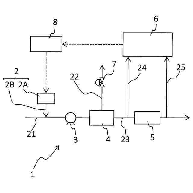
本発明の第1の実施形態に係る純水製造システムの概略構成図である。
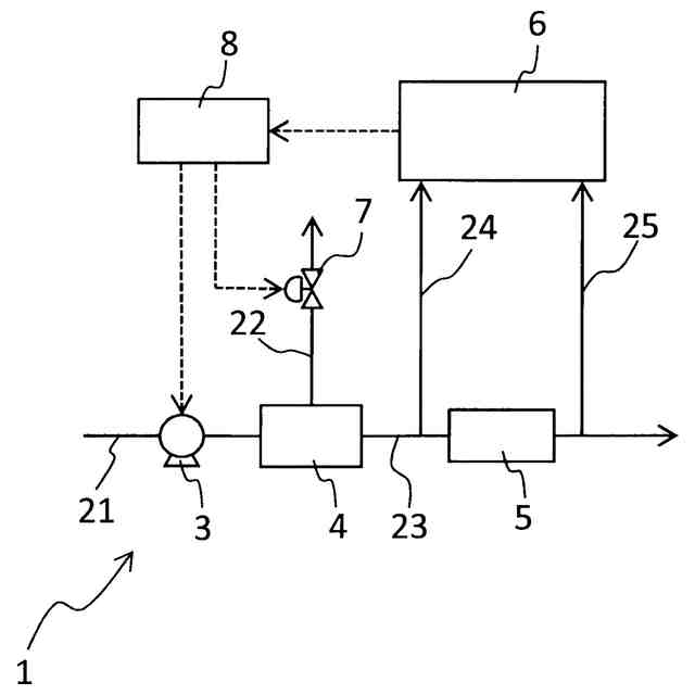
図1に示す純水製造システムの変形例の概略構成図である。
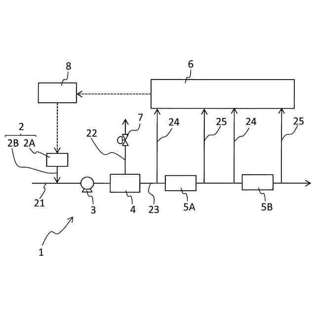
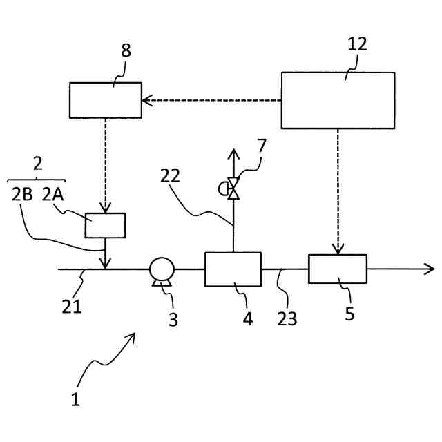
図1に示す純水製造システムの他の変形例の概略構成図である。
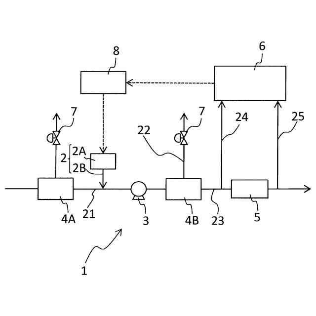
本発明の第2の実施形態に係る純水製造システムの概略構成図である。
本発明の第3の実施形態に係る純水製造システムの概略構成図である。
本発明の第4の実施形態に係る純水製造システムの概略構成図である。
本発明の第5の実施形態に係る純水製造システムの概略構成図である。
【発明を実施するための形態】
【0009】
以下、図面を参照して本発明の実施形態について説明する。
[第1の実施形態]
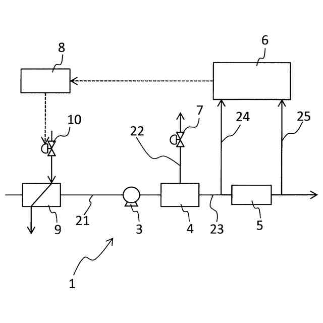
図1は、本発明の第1の実施形態に係る純水製造システムの概略構成図である。本実施形態の純水製造システム1は、ポンプ3と、逆浸透膜装置(RO装置)4と、電気式脱イオン水製造装置(EDI装置)5とが、被処理水の流れ方向に沿って、この順番に接続されている。被処理水供給配管21を流れる被処理水は、ポンプ3で昇圧されて、RO装置4に供給される。RO装置4に供給された被処理水は逆浸透膜に通水されて濃縮水と透過水とが得られる。RO装置4の濃縮室には濃縮水配管22が接続され、透過室には透過水配管23が接続されている。濃縮水配管22には濃縮水が流れ、透過水配管23には透過水が流れる。濃縮水配管22には、背圧弁7が設けられている。RO装置4の透過水は、透過水配管23を介してEDI装置5に被処理水として供給され、被処理水中のイオン成分、ホウ素等が除去される。ポンプ3の前段には薬液注入設備2が設けられている。薬液注入設備2は、薬液タンク及び薬液注入ポンプ2Aと、薬液注入配管2Bとを備えている。薬液注入配管2Bはポンプ3の前段で被処理水供給配管21に接続されており、薬液タンクから薬液注入配管2Bを経由して、被処理水供給配管21を流れる被処理水に薬液が注入される。また、本実施形態の純水製造システム1には、RO装置4の処理条件を制御する制御装置8と、EDI装置5の上流側と下流側の配管から分岐するサンプリングライン24,25に接続し、サンプリングライン24,25を経由して供給された水の不純物濃度を測定する測定装置6とが設けられている。各図面において、液体や気体等が流動可能に接続された部分を実線で示し、液体や気体等の流動を伴わず電力や電気信号の伝達が可能な部分を破線で示している。
【0010】
本発明の純水製造システム1の主な特徴は、制御装置8の制御動作にある。図1に示す実施形態では、測定装置6が、EDI装置5に供給されるEDI処理前の被処理水のホウ素濃度と、EDI装置5から排出されるEDI処理後の処理水のホウ素濃度とを測定する。そして、測定装置6は、測定したホウ素濃度に基づいて、EDI装置5のホウ素除去率を算出する。制御装置8は、測定装置6が算出したEDI装置5のホウ素除去率を入力し、入力したホウ素除去率に基づいて、RO装置4の処理条件、すなわち、図1に示す実施形態では、薬液注入設備2の運転を制御して、RO装置4に供給される被処理水のpHを調節する。なお、本明細書では、ある装置に供給され当該装置による処理が行われる前の液体を被処理水と称し、当該装置において処理が行われて当該装置から排出される処理済みの液体を処理水と称する。ホウ素除去率は、以下の式で求められる。
ホウ素除去率[%]=(1-処理水中のホウ素濃度/被処理水中のホウ素濃度)×100
(【0011】以降は省略されています)
この特許をJ-PlatPat(特許庁公式サイト)で参照する
関連特許
オルガノ株式会社
UV照射装置
22日前
オルガノ株式会社
ろ過膜の洗浄方法及び洗浄装置
15日前
オルガノ株式会社
気体の処理方法および気体の処理装置
1か月前
オルガノ株式会社
不純物の検出方法、検査プレート及び検出装置
20日前
オルガノ株式会社
電池収容体、電池モジュール、および電池パック
23日前
オルガノ株式会社
水処理システム
7日前
オルガノ株式会社
水処理装置、溶存ガス測定装置の設置方法、および溶存ガス測定方法
13日前
オルガノ株式会社
純水製造システムおよび純水製造方法
7日前
オルガノ株式会社
強酸性カチオン交換樹脂の製造方法および製造設備、ならびに該強酸性カチオン交換樹脂の再利用方法
1か月前
オルガノ株式会社
強塩基性アニオン交換樹脂の製造方法および製造設備、ならびに該強塩基性アニオン交換樹脂の再利用方法
1か月前
株式会社西部技研
除湿装置
1か月前
株式会社日本触媒
ドロー溶質
1か月前
プライミクス株式会社
攪拌装置
7日前
日本バイリーン株式会社
フィルタ
21日前
サンノプコ株式会社
消泡剤
1か月前
東レ株式会社
遠心ポッティング方法
28日前
トヨタ自動車株式会社
濾過装置
22日前
株式会社切川物産
撹拌装置
8日前
トヨタ紡織株式会社
フィルタ
1日前
栗田工業株式会社
ギ酸の回収方法
8日前
松岡紙業 株式会社
油吸着体の製造方法
1か月前
トヨタ紡織株式会社
水流帯電装置
1日前
個人
気液混合装置
1か月前
東芝ライテック株式会社
光照射装置
22日前
富士電機株式会社
ガス処理システム
1か月前
株式会社フクハラ
圧縮空気圧回路ユニット
1か月前
株式会社明電舎
成膜装置
1か月前
日本化薬株式会社
直鎖ブテン製造用触媒及びその使用
28日前
東芝ライテック株式会社
紫外線処理装置
7日前
本田技研工業株式会社
二酸化炭素回収装置
1か月前
三浦工業株式会社
撹拌装置
1か月前
いであ株式会社
PFAS除去用バイオ炭の製造方法
23日前
個人
フッ化炭素糸物にフッ素をコーティングした浄水手段
1か月前
JFEエンジニアリング株式会社
二酸化炭素回収方法
1か月前
三菱重工業株式会社
石膏脱水システム
21日前
栗田工業株式会社
有機物含有水の脱泡処理装置
15日前
続きを見る
他の特許を見る