TOP
|
特許
|
意匠
|
商標
特許ウォッチ
Twitter
他の特許を見る
公開番号
2025156877
公報種別
公開特許公報(A)
公開日
2025-10-15
出願番号
2024059614
出願日
2024-04-02
発明の名称
強塩基性アニオン交換樹脂の製造方法および製造設備、ならびに該強塩基性アニオン交換樹脂の再利用方法
出願人
オルガノ株式会社
代理人
個人
,
個人
主分類
B01J
49/07 20170101AFI20251007BHJP(物理的または化学的方法または装置一般)
要約
【課題】使用済みの非再生型混床イオン交換樹脂から、高純度の水質が要求される用途においても適用可能な再利用品の強塩基性アニオン交換樹脂を製造する方法を提供する。
【解決手段】使用済みの非再生型混床イオン交換樹脂に含まれる強酸性カチオン交換樹脂と強塩基性アニオン交換樹脂とを分離する分離工程と、分離後の強塩基性アニオン交換樹脂を、水酸化ナトリウム、水酸化カリウム、およびテトラメチルアンモニウムハイドロオキサイド(TMAH)からなる群より選択される1つ以上の再生剤を用いて再生する再生工程と、を有し、前記分離後の強塩基性アニオン交換樹脂に混入している強酸性カチオン交換樹脂の割合(異樹脂混入率)が、イオン交換樹脂の総体積に対して1体積%以下であることを特徴とする、使用済みの非再生型混床イオン交換樹脂から強塩基性アニオン交換樹脂を製造する方法。
【選択図】図2
特許請求の範囲
【請求項1】
使用済みの非再生型混床イオン交換樹脂から強塩基性アニオン交換樹脂を製造する方法であって、
使用済みの非再生型混床イオン交換樹脂に含まれる強酸性カチオン交換樹脂と強塩基性アニオン交換樹脂とを分離する分離工程と、
分離後の強塩基性アニオン交換樹脂を、水酸化ナトリウム、水酸化カリウム、およびテトラメチルアンモニウムハイドロオキサイド(TMAH)からなる群より選択される1つ以上の再生剤を用いて再生する再生工程と、
を有し、
前記分離後の強塩基性アニオン交換樹脂に混入している強酸性カチオン交換樹脂の割合(異樹脂混入率)が、イオン交換樹脂の総体積に対して1体積%以下であることを特徴とする、強塩基性アニオン交換樹脂の製造方法。
続きを表示(約 1,000 文字)
【請求項2】
前記再生工程において、
前記異樹脂混入率が、イオン交換樹脂の総体積に対して0.2体積%未満である場合は、水酸化ナトリウム、水酸化カリウム、およびTMAHからなる群より選択される1つ以上の再生剤を用いて分離後の強塩基性アニオン交換樹脂の再生を行い、
前記異樹脂混入率が、イオン交換樹脂の総体積に対して0.2体積%以上、1体積%以下である場合は、水酸化ナトリウムおよび水酸化カリウムから選択される1つ以上の再生剤を用いて分離後の強塩基性アニオン交換樹脂の再生を行う、
請求項1に記載の強塩基性アニオン交換樹脂の製造方法。
【請求項3】
請求項1または2に記載の方法によって製造された強塩基性アニオン交換樹脂を、単床アニオン交換樹脂または複床イオン交換樹脂中のアニオン交換樹脂として再利用する、強塩基性アニオン交換樹脂の再利用方法。
【請求項4】
使用済みの非再生型混床イオン交換樹脂から強塩基性アニオン交換樹脂を製造するための設備であって、
使用済みの非再生型混床イオン交換樹脂に含まれる強酸性カチオン交換樹脂と強塩基性アニオン交換樹脂とを分離する分離手段と、
分離後の強塩基性アニオン交換樹脂を、水酸化ナトリウム、水酸化カリウム、およびテトラメチルアンモニウムハイドロオキサイド(TMAH)からなる群より選択される1つ以上の再生剤を用いて再生する再生手段と、
を有し、
前記分離後の強塩基性アニオン交換樹脂に混入している強酸性カチオン交換樹脂の割合(異樹脂混入率)が、イオン交換樹脂の総体積に対して1体積%以下であることを特徴とする、強塩基性アニオン交換樹脂の製造設備。
【請求項5】
前記再生手段において、
前記異樹脂混入率が、イオン交換樹脂の総体積に対して0.2体積%未満である場合は、水酸化ナトリウム、水酸化カリウム、およびTMAHからなる群より選択される1つ以上の再生剤を用いて分離後の強塩基性アニオン交換樹脂の再生を行い、
前記異樹脂混入率が、イオン交換樹脂の総体積に対して0.2体積%以上、1体積%以下である場合は、水酸化ナトリウムおよび水酸化カリウムから選択される1つ以上の再生剤を用いて分離後の強塩基性アニオン交換樹脂の再生を行う、
請求項4に記載の強塩基性アニオン交換樹脂の製造設備。
発明の詳細な説明
【技術分野】
【0001】
本発明は、使用済みの非再生型混床イオン交換樹脂から強塩基性アニオン交換樹脂を製造する方法および設備、ならびに該強塩基性アニオン交換樹脂を再利用する方法に関する。
続きを表示(約 1,900 文字)
【背景技術】
【0002】
純水装置に使用されるイオン交換樹脂は、一定の使用期間を経た後、産業廃棄物として埋め立て処分や焼却処分により廃棄される。一方で、廃棄されるイオン交換樹脂を、脱水や加熱によって炭化させたり(特許文献1)、粉砕してろ過助剤として再利用したりする検討(特許文献2)も行われている。
【先行技術文献】
【特許文献】
【0003】
特開平08-012312号公報
特開昭57-099336号公報
【発明の概要】
【発明が解決しようとする課題】
【0004】
特許文献1および2に記載されるように、廃棄されるイオン交換樹脂を、イオン交換樹脂以外の用途で再利用する試みがなされている。しかしながら、環境面やコスト面を考慮すれば、廃棄されるイオン交換樹脂を、再度イオン交換樹脂として利用する方法の開発が望まれているのが現状である。イオン交換樹脂の再利用方法として、例えば、使用済みの非再生型混床イオン交換樹脂を構成する強塩基性アニオン交換樹脂を、単床アニオン交換樹脂として再利用することが考えられる。しかし、使用済みの非再生型混床イオン交換樹脂に含まれるカチオン交換樹脂とアニオン交換樹脂との完全分離が困難であることに起因する対イオン交換樹脂の混入により、処理水の純度が低下するため、そのような再利用品のイオン交換樹脂は、高純度の水質が要求される用途には適用できないという課題があった。
【0005】
本発明は、使用済みの非再生型混床イオン交換樹脂から、高純度の水質が要求される用途においても適用可能な再利用品の強塩基性アニオン交換樹脂を製造する方法および設備を提供することを目的とする。また、本発明は、上記方法によって得られた強塩基性アニオン交換樹脂を再利用する方法を提供することを目的とする。
【課題を解決するための手段】
【0006】
本発明は、使用済みの非再生型混床イオン交換樹脂から強塩基性アニオン交換樹脂を製造する方法であって、
使用済みの非再生型混床イオン交換樹脂に含まれる強酸性カチオン交換樹脂と強塩基性アニオン交換樹脂とを分離する分離工程と、
分離後の強塩基性アニオン交換樹脂を、水酸化ナトリウム、水酸化カリウム、およびテトラメチルアンモニウムハイドロオキサイド(TMAH)からなる群より選択される1つ以上の再生剤を用いて再生する再生工程と、
を有し、
前記分離後の強塩基性アニオン交換樹脂に混入している強酸性カチオン交換樹脂の割合(異樹脂混入率)が、イオン交換樹脂の総体積に対して1体積%以下であることを特徴とする、強塩基性アニオン交換樹脂の製造方法である。
【0007】
また、本発明は、上記の方法によって製造された強塩基性アニオン交換樹脂を、単床アニオン交換樹脂または複床イオン交換樹脂中のアニオン交換樹脂として再利用する、強塩基性アニオン交換樹脂の再利用方法である。
【0008】
さらに、本発明は、使用済みの非再生型混床イオン交換樹脂から強塩基性アニオン交換樹脂を製造するための設備であって、
使用済みの非再生型混床イオン交換樹脂に含まれる強酸性カチオン交換樹脂と強塩基性アニオン交換樹脂とを分離する分離手段と、
分離後の強塩基性アニオン交換樹脂を、水酸化ナトリウム、水酸化カリウム、およびテトラメチルアンモニウムハイドロオキサイド(TMAH)からなる群より選択される1つ以上の再生剤を用いて再生する再生手段と、
を有し、
前記分離後の強塩基性アニオン交換樹脂に混入している強酸性カチオン交換樹脂の割合(異樹脂混入率)が、イオン交換樹脂の総体積に対して1体積%以下であることを特徴とする、強塩基性アニオン交換樹脂の製造設備である。
【発明の効果】
【0009】
本発明によれば、使用済みの非再生型混床イオン交換樹脂から、高純度の水質が要求される用途においても適用可能な再利用品の強塩基性アニオン交換樹脂を得ることができる。得られた再利用品の強塩基性アニオン交換樹脂は、単床アニオン交換樹脂または複床イオン交換樹脂中のアニオン交換樹脂として再利用することができる。
【図面の簡単な説明】
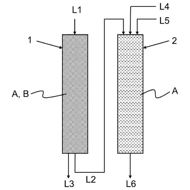
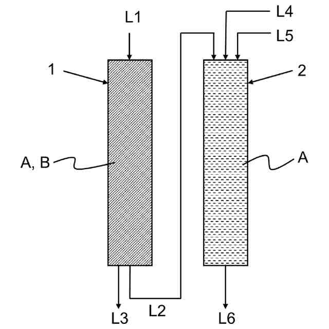
【0010】
本発明に係る技術思想の一部を説明する模式図である。
本発明に係る強塩基性アニオン交換樹脂の製造設備の概要を示す模式図である。
【発明を実施するための形態】
(【0011】以降は省略されています)
この特許をJ-PlatPat(特許庁公式サイト)で参照する
関連特許
オルガノ株式会社
UV照射装置
10日前
オルガノ株式会社
薬液精製システム
1か月前
オルガノ株式会社
電気式脱イオン水製造装置
2か月前
オルガノ株式会社
水処理方法および水処理装置
3か月前
オルガノ株式会社
水処理装置および水処理方法
1か月前
オルガノ株式会社
水処理装置および水処理方法
1か月前
オルガノ株式会社
水処理装置およびその運転方法
2か月前
オルガノ株式会社
水処理装置およびその運転方法
2か月前
オルガノ株式会社
水処理装置およびその運転方法
2か月前
オルガノ株式会社
ろ過膜の洗浄方法及び洗浄装置
3日前
オルガノ株式会社
尿素処理装置および尿素処理方法
1か月前
オルガノ株式会社
水処理システムおよびその運転方法
1か月前
オルガノ株式会社
水処理システムおよびその運転方法
2か月前
オルガノ株式会社
水処理システムおよびその運転方法
2か月前
オルガノ株式会社
気体の処理方法および気体の処理装置
18日前
オルガノ株式会社
冷却水系制御方法および冷却水系制御装置
1か月前
オルガノ株式会社
電気式脱イオン水製造装置及びその運転方法
3か月前
オルガノ株式会社
タンパク質洗浄剤およびタンパク質洗浄方法
1か月前
オルガノ株式会社
不純物の検出方法、検査プレート及び検出装置
8日前
オルガノ株式会社
情報処理装置、判定方法および水処理システム
1か月前
オルガノ株式会社
電池収容体、電池モジュール、および電池パック
11日前
オルガノ株式会社
電池収容体、電池モジュール、および電池パック
1か月前
オルガノ株式会社
情報処理装置、情報処理方法および水処理システム
2か月前
オルガノ株式会社
水処理設備、制御装置、運転方法およびプログラム
1か月前
オルガノ株式会社
液体処理システム、情報処理装置および情報処理方法
1か月前
オルガノ株式会社
冷却水系の薬注制御方法および冷却水系の薬注制御装置
1か月前
オルガノ株式会社
純水製造システム、回収処理水供給装置および純水製造方法
1か月前
オルガノ株式会社
汚泥処理システム、制御装置、汚泥処理方法およびプログラム
2か月前
オルガノ株式会社
水処理装置、溶存ガス測定装置の設置方法、および溶存ガス測定方法
1日前
オルガノ株式会社
非粒子状有機多孔質吸収体、および非粒子状有機多孔質吸収体の製造方法
2か月前
オルガノ株式会社
水処理装置、水処理システム、水処理方法、及び水処理システムの水処理方法
2か月前
オルガノ株式会社
イオン交換装置および超純水製造装置
2か月前
オルガノ株式会社
懸濁物質濃度の測定装置、懸濁物質濃度の測定方法、晶析反応システム、および晶析反応方法
2か月前
オルガノ株式会社
強酸性カチオン交換樹脂の製造方法および製造設備、ならびに該強酸性カチオン交換樹脂の再利用方法
1か月前
オルガノ株式会社
使用済み非再生型混床イオン交換樹脂の分離方法および再利用方法ならびに単床イオン交換樹脂の製造方法
2か月前
オルガノ株式会社
強塩基性アニオン交換樹脂の製造方法および製造設備、ならびに該強塩基性アニオン交換樹脂の再利用方法
1か月前
続きを見る
他の特許を見る