TOP
|
特許
|
意匠
|
商標
特許ウォッチ
Twitter
他の特許を見る
公開番号
2025173997
公報種別
公開特許公報(A)
公開日
2025-11-28
出願番号
2024079946
出願日
2024-05-16
発明の名称
イオン交換体を有する組立体及びその製造方法、並びにイオン交換装置
出願人
オルガノ株式会社
代理人
個人
,
個人
主分類
B01J
47/024 20170101AFI20251120BHJP(物理的または化学的方法または装置一般)
要約
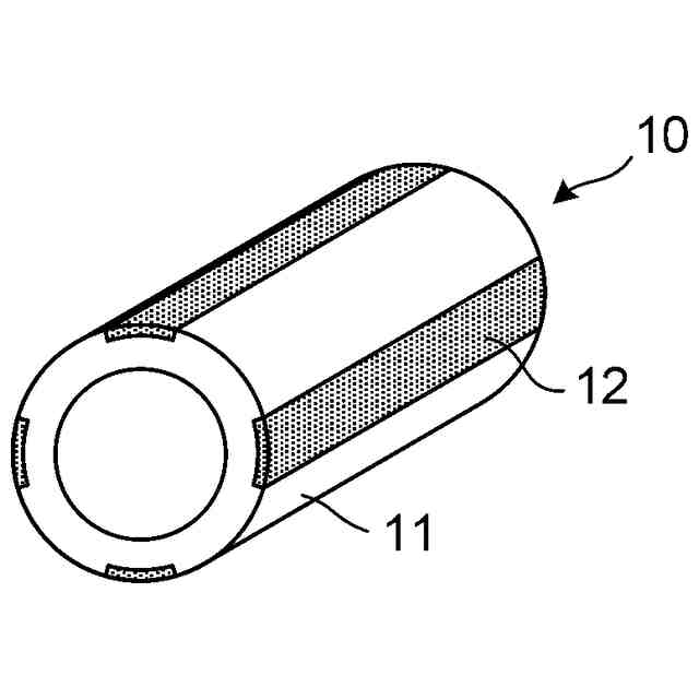
【課題】有機溶媒などを被処理液として、イオン交換体の脱落などを起こすことなく被処理液の通液条件を任意に設定可能であり、被処理液が少量の場合であっても被処理液に対するイオン交換処理を良好に行うことができようにする。
【解決手段】チューブ10と、チューブ10の一端Aに差し込まれ、チューブからの液体の流出を可能にする貫通する流路33を備えるスリーブ部材30と、貫通孔41を備え、チューブ10の内壁とスリーブ部材30の先端面31とによって形成される段差部に当接するようにチューブ10の内部に配置される穴開き板40と、チューブ10内において穴開き板40を挟んで一端Aとは反対側に配置された有機多孔質イオン交換体(モノリスイオン交換体)20と、によってイオン交換装置を構成する。チューブ10とスリーブ部材30と穴開き板40は、例えばフッ素樹脂によって構成される。
【選択図】図1
特許請求の範囲
【請求項1】
樹脂製のチューブと、
前記チューブの一端に差し込まれ、前記チューブからの液体の流出を可能にする貫通する流路を備える樹脂製のスリーブ部材と、
貫通孔を備え、前記チューブの内壁と前記スリーブ部材の先端面とによって形成される段差部に当接するように前記チューブの内部に配置される樹脂製の穴開き板と、
前記チューブ内において前記穴開き板を挟んで前記一端とは反対側に配置された有機多孔質イオン交換体と、
を備え、
前記穴開き板によって前記チューブからの前記有機多孔質イオン交換体の脱落が防止される組立体。
続きを表示(約 1,800 文字)
【請求項2】
前記チューブ、前記スリーブ部材及び前記穴開き板は、フッ素樹脂、ポリテトラフルオロエチレン、ポリエチレン、ポリプロピレンからなる群から選ばれた材料によって形成されている、請求項1に記載の組立体。
【請求項3】
前記チューブは、導電性材料を含む層が外壁の少なくとも一部に設けられているフッ素樹脂によって形成されている、請求項2に記載の組立体。
【請求項4】
前記チューブが貫通するように設けられたユニオンナットと、
前記チューブの前記一端または前記一端から突出する前記スリーブ部材が係合可能であって外周に前記ユニオンナットと噛み合うネジ溝が形成された継手部材と、
をさらに備え、
前記チューブは前記スリーブ部材が挿し込まれることによって外径が拡大した拡大部分を備え、
前記拡大部分をユニオンつばとして前記ユニオンナットと前記継手部材とによってユニオン継手構造が形成されて前記チューブが前記継手部材に固定される、請求項1乃至3のいずれか1項に記載の組立体。
【請求項5】
前記チューブが貫通するとともに前記チューブに沿って摺動可能なユニオンナットをさらに備え、
前記チューブの前記一端は、内径及び外径が拡がるようにフレアに加工されており、
前記スリーブ部材は、前記チューブにおいて前記フレアに加工された部分に挿入されて前記チューブの前記内壁と当接する先端部分と、外周に前記ユニオンナットと噛み合うネジ溝が形成された本体部分とを備える継手部材であり、
前記フレアに加工された部分をユニオンつばとして前記ユニオンナットと前記継手部材とによってユニオン継手構造が形成されて前記継手部材に前記チューブが固定される、請求項1乃至3のいずれか1項に記載の組立体。
【請求項6】
請求項1乃至3のいずれか1項に記載の組立体の製造方法であって、
前記チューブの前記一端に前記スリーブ部材を差し込む挿入工程と、
前記挿入工程の後、前記チューブの他端から、前記段差部に当接するように前記穴開き板を前記チューブ内に挿入して配置する第1の配置工程と、
前記第1の配置工程の後、前記チューブの前記他端から、前記穴開き板に当接するように前記有機多孔質イオン交換体を前記チューブ内に挿入して配置する第2の配置工程と、
を有する製造方法。
【請求項7】
請求項4に記載の組立体の製造方法であって、
前記チューブの前記一端に前記スリーブ部材を差し込む挿入工程と、
前記挿入工程の後、前記チューブの他端から、前記段差部に当接するように前記穴開き板を前記チューブ内に挿入して配置する第1の配置工程と、
前記第1の配置工程の後、前記チューブの前記他端から、前記穴開き板に当接するように前記有機多孔質イオン交換体を前記チューブ内に挿入して配置する第2の配置工程と、 前記第2の配置工程の後、前記チューブの前記一端または前記一端から突出する前記スリーブ部材を前記継手部材を係合させる係合工程と、
前記係合工程の後、前記ユニオンナットを前記ネジ溝に螺合させる締結工程と、
を有する製造方法。
【請求項8】
請求項5に記載の組立体の製造方法であって、
前記チューブの前記一端を前記フレアに加工するフレア加工工程と、
前記フレア加工工程の後、前記フレアに加工された部分に前記スリーブ部材の前記先端部分を差し込む挿入工程と、
前記挿入工程の後、前記チューブの他端から、前記段差部に当接するように前記穴開き板を前記チューブ内に挿入して配置する第1の配置工程と、
前記第1の配置工程の後、前記チューブの前記他端から、前記穴開き板に当接するように前記有機多孔質イオン交換体を前記チューブ内に挿入して配置する第2の配置工程と、 前記第2の配置工程の後、前記ユニオンナットを前記ネジ溝に螺合させる締結工程と、
を有する製造方法。
【請求項9】
被処理液に対してイオン交換処理を行うイオン交換装置であって、
請求項1乃至3のいずれか1項に記載の組立体を備え、
前記チューブの他端から前記一端に向けて前記被処理液が流されるイオン交換装置。
【請求項10】
前記被処理液は有機溶媒である、請求項9に記載のイオン交換装置。
発明の詳細な説明
【技術分野】
【0001】
本発明は、イオン交換処理を行うためにイオン交換体が配置された組立体及びその製造方法と、そのような組立体を用いたイオン交換装置とに関する。
続きを表示(約 3,400 文字)
【背景技術】
【0002】
半導体装置の製造プロセスなどで用いられる有機溶媒に対する高純度化の要求が年々厳しくなってきており、特に、有機溶媒における金属等のイオン性不純物の低減が強く求められてきている。半導体装置の製造において使用される有機溶媒などの薬液は、通常、薬液工場において精製されたものが輸送され、半導体装置の製造工場内のタンクに貯蔵され、さらに配管等を介して製造工場内のユースポイント(使用場所)に供給される。ユースポイントに供給された薬液は、タンク、配管、バルブなどからの不純物の溶出によって汚染されていることがある。そこで半導体装置の製造などにおいては、ユースポイントの直近の位置に有機溶媒を精製するためのイオン交換体や液体精製カートリッジを設置している。同様の事情は、半導体装置の製造工程において使用される超純水にも当てはまる。半導体装置の製造では大量の超純水が使用されるので、半導体装置製造工場内には大型の超純水製造装置が配置され、配管を介して工場内部の種々のユースポイントに超純水が供給される。ユースポイントに供給される超純水においても、配管やバルブなどのからの不純物の溶出があり、超純水から不純物を取り除くためのイオン交換体をユースポイントの直近の位置に設置している。
【0003】
有機溶媒に不純物として含まれる金属イオンを除去するために用いられる有機溶剤精製器として特許文献1は、入口と出口とを有するハウジング内に有機溶媒の流れ方向に沿って上流側からイオン交換樹脂とろ過部材とが配置されており、ろ過部材が微多孔性膜からなるものを開示している。
【0004】
特許文献2は、有機多孔質イオン交換体に有機溶媒を通液することにより有機溶媒中の金属イオンを除去する方法を開示している。一般的なイオン交換樹脂は直径が数mm以下のビーズ状または粒状のものであるが、有機多孔質イオン交換体は、特許文献2にも記載されるように、有機ポリマーからなる骨格を有して気泡状のマクロポアが連続して連続気泡構造体(すなわち連続マクロポア構造体)を形成しており、骨格となる有機ポリマーにイオン交換基が導入されたものである。有機多孔質イオン交換体は、モノリス状有機多孔質イオン交換体、モノリスイオン交換体あるいはモノリス状イオン交換体とも呼ばれ、特に、アニオン交換体である有機多孔質イオン交換体はモノリスアニオン交換体(AEM:Anion Exchange Monolith)と呼ばれ、カチオン交換体である有機多孔質イオン交換体はモノリスカチオン交換体(CEM:Cation Exchange Monolith)と呼ばれる。有機多孔質イオン交換体は、任意の形状及びサイズに成形することができる。連続マクロポア構造体であるので有機多孔質イオン交換体は弾力を有するスポンジ状に形成され、その内部に被処理液を通すことができ、その通液の際に被処理液に対するイオン交換が行われる。有機多孔質イオン交換体を用いることにより、特許文献2に記載されるように、粒状の一般的なイオン交換樹脂を用いる場合に比べ、有機溶媒中の多価金属イオンを効率よく除去できる。有機多孔質イオン交換体の製造方法の一例は、特許文献2に記載されている。
【0005】
有機多孔質イオン交換体は、水に含まれる不純物イオンの除去にも使用することができる。特許文献3は、水溶液あるいは有機溶媒中の金属等の不純物を除去するための液体精製カートリッジであって、略円筒形のカートリッジ容器内において上流側に有機多孔質イオン交換体を充填し、下流側に精密ろ過膜を配置したものを開示している。このように構成された液体精製カートリッジは、ハウジング内に収容されて使用される。特許文献4は、両端にフランジが取り付けられている配管内に有機多孔質イオン交換体を配置し、この配管に対して被処理水を流すことにより、被処理水中のイオン性不純物を除去することを開示している。
【先行技術文献】
【特許文献】
【0006】
国際公開第2013/165602号
特開2017-119233号公報
特開2019-195763号公報
特開2022-154537号公報
【発明の概要】
【発明が解決しようとする課題】
【0007】
有機溶媒中のイオン性不純物を除去するために有機多孔質イオン交換体を円筒形状のカートリッジ容器に充填して使用する場合、そのカートリッジ容器は、カートリッジ容器が取り付け可能なヘッドとこのヘッドとともに密閉空間を形成するボウルとによって構成されたハウジング内に収容される。カートリッジ容器内に被処理液を導入して有機多孔質イオン交換体に被処理液を供給するために、カートリッジ容器の側面または底面には開口が設けられる。側面に開口が設けられる場合には、断面がドーナツ状である円筒形状の有機多孔質イオン交換体が使用され、底面に開口が形成される場合には中実の円柱状の有機多孔質イオン交換体が使用される。このようなカートリッジ容器をハウジングに取り付けて使用する場合、カートリッジ容器の外側表面もハウジング内において被処理液と接する部分となるので、取り付け作業中にカートリッジ容器の外側表面と汚染源(作業者や環境)との接触による汚染(コンタミネーション)が生ずる恐れがある。
【0008】
有機多孔質イオン交換体が充填されたカートリッジ容器が取り付けられるハウジングは、純水製造の分野においてフィルターカートリッジと呼ばれるカートリッジの取り付けに広く使用されるものである。例えば、長さが127mmや254mmなどであるフィルターカートリッジに適合した大きさを有するハウジングが市販されている。しかしながらこのようなハウジングを使用する場合、ハウジング内での液体の残留量が多くなるため、少量の液体に対して処理を行うことが難しくなるとともに、高価な薬液の処理を行う場合にはコスト的に著しく不利となる。また、ハウジングを設けるための物理的なスペースが必要となる、という課題もある。さらに、カートリッジ容器として寸法の定まった規格品を用いてそこに有機多孔質イオン交換体を充填した場合、カートリッジ容器での流量を設定すると有機多孔質イオン交換体での被処理液の空間速度(SV)と線速度(LV)の両方が一意に定まってしまうため、有機多孔質イオン交換体での被処理液の処理条件が任意には定められない、という課題も生ずる。
【0009】
有機多孔質イオン交換体はスポンジ状であるので、特許文献4に記載されるように配管内に挿入することができる。しかしながら有機多孔質イオン交換体は、その接する液体の種類や、そのイオン交換基が塩形であるか再生形であるかに応じて体積が変化する。有機多孔質イオン交換体が収縮したときには通液圧力によって配管から有機多孔質イオン交換体が抜け出し、脱落する恐れがある。脱落が起きるとイオン交換処理が行えなくなるばかりでなく、後段の機器に悪影響が及ぼされる。脱落の恐れがあるため、配管内に有機多孔質イオン交換体を挿入した場合には高い圧力あるいは高い流速での通液を行うことができない。有機多孔質イオン交換体はその製造時には水で湿潤している状態となっており、そのような有機多孔質イオン交換体は有機溶媒に接すると脱水されて収縮する場合が多いので、製造直後の有機多孔質イオン交換体を配管に充填して有機溶媒の精製を行うときは、配管からの有機多孔質イオン交換体の脱落が特に起こりやすい。
【0010】
本発明の目的は、水だけでなく有機溶媒を被処理液としてイオン交換処理を行うことができる組立体であって、イオン交換体の脱落などを起こすことなく被処理液の通液条件を任意に設定可能であり、被処理液が少量の場合であっても被処理液に対するイオン交換処理を良好に行うことができる組立体と、そのような組立体の製造方法と、そのような組立体を備えるイオン交換装置とを提供することにある。
【課題を解決するための手段】
(【0011】以降は省略されています)
この特許をJ-PlatPat(特許庁公式サイト)で参照する
関連特許
オルガノ株式会社
UV照射装置
24日前
オルガノ株式会社
薬液精製システム
1か月前
オルガノ株式会社
水処理装置および水処理方法
1か月前
オルガノ株式会社
水処理装置および水処理方法
1か月前
オルガノ株式会社
ろ過膜の洗浄方法及び洗浄装置
17日前
オルガノ株式会社
尿素処理装置および尿素処理方法
1か月前
オルガノ株式会社
水処理システムおよびその運転方法
1か月前
オルガノ株式会社
気体の処理方法および気体の処理装置
1か月前
オルガノ株式会社
タンパク質洗浄剤およびタンパク質洗浄方法
1か月前
オルガノ株式会社
不純物の検出方法、検査プレート及び検出装置
22日前
オルガノ株式会社
情報処理装置、判定方法および水処理システム
1か月前
オルガノ株式会社
電池収容体、電池モジュール、および電池パック
25日前
オルガノ株式会社
電気式脱イオン水製造システム及びその運用方法
1日前
オルガノ株式会社
電池収容体、電池モジュール、および電池パック
1か月前
オルガノ株式会社
水処理設備、制御装置、運転方法およびプログラム
1か月前
オルガノ株式会社
純水製造システム、回収処理水供給装置および純水製造方法
2か月前
オルガノ株式会社
水処理システム
9日前
オルガノ株式会社
水処理装置、溶存ガス測定装置の設置方法、および溶存ガス測定方法
15日前
オルガノ株式会社
イオン交換体を有する組立体及びその製造方法、並びにイオン交換装置
1日前
オルガノ株式会社
純水製造システムおよび純水製造方法
9日前
オルガノ株式会社
強酸性カチオン交換樹脂の製造方法および製造設備、ならびに該強酸性カチオン交換樹脂の再利用方法
1か月前
オルガノ株式会社
強塩基性アニオン交換樹脂の製造方法および製造設備、ならびに該強塩基性アニオン交換樹脂の再利用方法
1か月前
株式会社西部技研
除湿装置
1か月前
株式会社日本触媒
ドロー溶質
1か月前
プライミクス株式会社
攪拌装置
9日前
日本バイリーン株式会社
フィルタ
23日前
サンノプコ株式会社
消泡剤
1か月前
東レ株式会社
遠心ポッティング方法
1か月前
トヨタ自動車株式会社
濾過装置
24日前
株式会社切川物産
撹拌装置
10日前
トヨタ紡織株式会社
フィルタ
3日前
栗田工業株式会社
ギ酸の回収方法
10日前
松岡紙業 株式会社
油吸着体の製造方法
1か月前
個人
気液混合装置
1か月前
トヨタ紡織株式会社
水流帯電装置
3日前
東芝ライテック株式会社
光照射装置
24日前
続きを見る
他の特許を見る