TOP
|
特許
|
意匠
|
商標
特許ウォッチ
Twitter
他の特許を見る
10個以上の画像は省略されています。
公開番号
2025169579
公報種別
公開特許公報(A)
公開日
2025-11-14
出願番号
2024074395
出願日
2024-05-01
発明の名称
水処理装置、溶存ガス測定装置の設置方法、および溶存ガス測定方法
出願人
オルガノ株式会社
代理人
個人
,
個人
主分類
C02F
1/44 20230101AFI20251107BHJP(水,廃水,下水または汚泥の処理)
要約
【課題】溶存ガス測定装置への通水開始から溶存ガス濃度が安定するまでに要する時間を短縮することができる水処理装置を提供する。
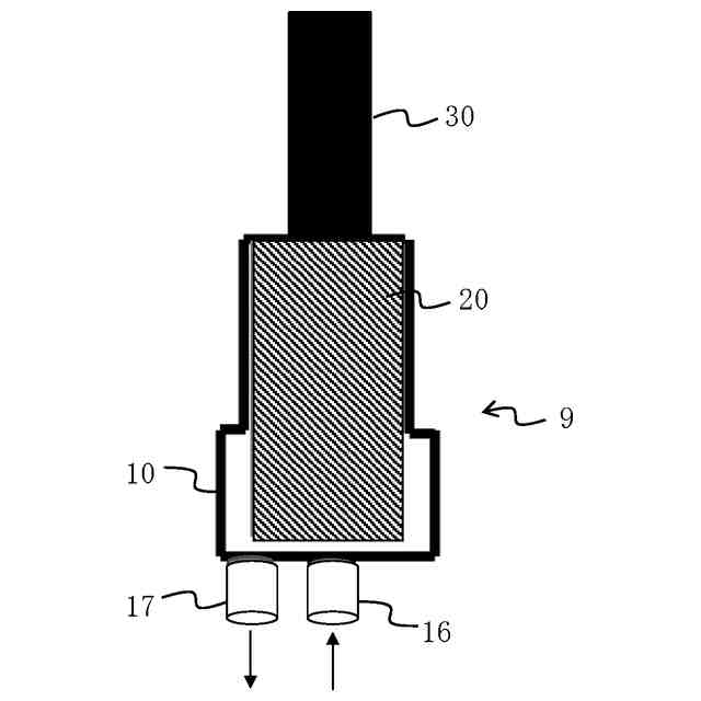
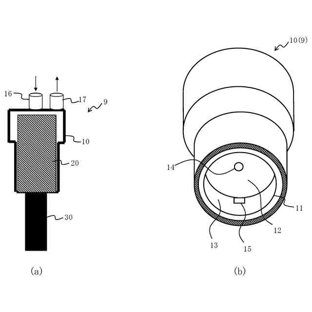
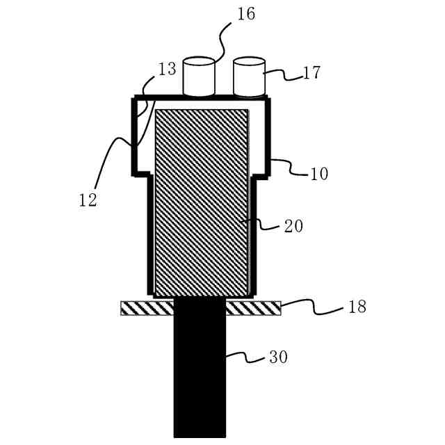
【解決手段】被処理水を処理して処理水を製造する水処理装置は、被処理水の一部または処理水の一部である測定対象水を通水するように構成された溶存ガス測定装置9を備える。溶存ガス測定装置9は、測定対象水を通水するための供給孔14と排出孔15とを備える。供給孔14から供給された測定対象水が排出孔15から水平方向と交差する方向に上向きに抜けるように溶存ガス測定装置9が設置されている。
【選択図】図2
特許請求の範囲
【請求項1】
被処理水を処理して処理水を製造する水処理装置であって、
前記被処理水の一部または前記処理水の一部である測定対象水を通水するように構成された溶存ガス測定装置を備え、
前記溶存ガス測定装置は、前記測定対象水を通水するための供給孔と排出孔とを備え、前記供給孔から供給された前記測定対象水が前記排出孔から水平方向と交差する方向に上向きに抜けるように前記溶存ガス測定装置が設置されている、水処理装置。
続きを表示(約 1,200 文字)
【請求項2】
前記溶存ガス測定装置は、
開口部を備え、該開口部と対向する部分に前記供給孔と前記排出孔とが設けられたチャンバーと、
前記チャンバーの前記開口部に着脱可能に取り付けられ、通水した前記測定対象水中の溶存ガス濃度に応じた電流値を測定するセンサ部と、
前記センサ部の前記チャンバーの側とは反対の側の部分に接続され、前記センサ部からの信号を伝送するためのケーブルと、を有し、
前記チャンバーが上側、前記ケーブルが下側になるように前記溶存ガス測定装置が設置されている、請求項1に記載の水処理装置。
【請求項3】
前記供給孔は、前記開口部と対向する第1の面の中央部に設けられ、前記排出孔は、前記第1の面の前記中央部に隣接する部分に設けられ、前記第1の面が水平になるように、または、鉛直方向において、前記排出孔が前記供給孔よりも高い位置に配置されるように、または、前記供給孔が前記排出孔よりも高い位置に配置されるように、前記溶存ガス測定装置が設置されている、請求項2に記載の水処理装置。
【請求項4】
前記センサ部と前記ケーブルとの接続部に、前記センサ部の着脱時に前記チャンバーから漏れる前記測定対象水を受ける、または、吸収する機構を備える、請求項2または3に記載の水処理装置。
【請求項5】
測定対象水に含まれる溶存ガスの濃度を測定する溶存ガス測定装置を設置する設置方法であって、
前記溶存ガス測定装置は、前記測定対象水を通水するための供給孔と排出孔とを備え、前記供給孔から供給された前記測定対象水が前記排出孔から水平方向と交差する方向に上向きに抜けるように前記溶存ガス測定装置を設置する、溶存ガス測定装置の設置方法。
【請求項6】
被処理水を処理して処理水を製造する水処理装置に、前記被処理水の一部または前記処理水の一部である測定対象水を通水するように構成された溶存ガス測定装置を取り付けて、通水した前記測定対象水中の溶存ガス濃度を測定する測定方法であって、
前記溶存ガス測定装置は、
開口部を備え、該開口部と対向する部分に前記測定対象水を通水するための供給孔と排出孔とが設けられたチャンバーと、
前記チャンバーの前記開口部に着脱可能に取り付けられ、通水した前記測定対象水中の溶存ガス濃度に応じた電流値を測定するセンサ部と、
前記センサ部の前記チャンバーの側とは反対の側の部分に接続された、前記センサ部からの信号を伝送するためのケーブルと、を有しており、
前記チャンバーが空の状態で、前記チャンバーが上側、前記ケーブルが下側になるように前記溶存ガス測定装置を設置する工程と、
前記測定対象水を前記供給孔から前記チャンバー内に供給して前記排出孔から排出させる通水を行う工程と、
前記測定対象水の通水開始から前記センサ部を用いて溶存ガス濃度を測定する工程と、を含む、溶存ガス測定方法。
発明の詳細な説明
【技術分野】
【0001】
本発明は、水処理装置、溶存ガス測定装置の設置方法、および溶存ガス測定方法に関する。
続きを表示(約 1,900 文字)
【背景技術】
【0002】
半導体製造工程におけるシリコンウェハ等の電子部材の洗浄用水として、不純物(例えば、有機物、イオン成分、微粒子、細菌など)が高度に除去された純水(超純水を含む)が使用されている。純水(超純水)を電子部材の洗浄用水として使用する場合、純水中に酸素や過酸化水素などの酸化性物質が溶存していると、電子部材の表面に自然酸化膜が形成される要因となってしまう。このため、例えば、超純水製造システムでは、一次純水製造装置や二次純水製造装置(サブシステム)に脱気装置(膜式脱気装置や触媒脱気装置など)を設置し、純水(超純水)中に含まれる酸化性物質濃度を低減させている。
【0003】
一般に、純水(超純水)レベルの処理水を製造する水処理装置では、溶存酸素(DO)計を用いて、被処理水や処理水に含まれる酸化性物質の濃度を測定している。
特許文献1には、被処理水が紫外線照射装置、膜脱気装置、イオン交換装置、および限外濾過装置を順次通過するように構成され、紫外線照射装置の前段または後段に、被処理水中の溶存酸素(DO)濃度を測定するDO計を備えた超純水用水処理装置が記載されている。
【先行技術文献】
【特許文献】
【0004】
特開2008-264630号公報
【発明の概要】
【発明が解決しようとする課題】
【0005】
しかしながら、これまで、純水(超純水)レベルの処理水を製造する水処理装置において、DO計等の溶存ガス測定装置の最適な設置方向について明示したものはなかった。このため、溶存ガス測定装置の設置方向によっては、流入した空気が抜けにくいことがあり、その結果、溶存ガス測定装置への通水開始から溶存ガス濃度が安定するまでに時間を要していた。
【0006】
本発明の目的は、溶存ガス測定装置への通水開始から溶存ガス濃度が安定するまでに要する時間を短縮することができる、水処理装置、溶存ガス測定装置の設置方法、および溶存ガス測定方法を提供することにある。
【課題を解決するための手段】
【0007】
上記目的を達成するため、本発明の一態様によれば、被処理水を処理して処理水を製造する水処理装置であって、前記被処理水の一部または前記処理水の一部である測定対象水を通水するように構成された溶存ガス測定装置を備え、前記溶存ガス測定装置は、前記測定対象水を通水するための供給孔と排出孔とを備え、前記供給孔から供給された前記測定対象水が前記排出孔から水平方向と交差する方向に上向きに抜けるように前記溶存ガス測定装置が設置されている、水処理装置が提供される。
【0008】
本発明の別の態様によれば、測定対象水に含まれる溶存ガスの濃度を測定する溶存ガス測定装置を設置する設置方法であって、前記溶存ガス測定装置は、前記測定対象水を通水するための供給孔と排出孔とを備え、前記供給孔から供給された前記測定対象水が前記排出孔から水平方向と交差する方向に上向きに抜けるように前記溶存ガス測定装置を設置する、溶存ガス測定装置の設置方法が提供される。
【0009】
本発明のさらに別の態様によれば、被処理水を処理して処理水を製造する水処理装置に、前記被処理水の一部または前記処理水の一部である測定対象水を通水するように構成された溶存ガス測定装置を取り付けて、通水した前記測定対象水中の溶存ガス濃度を測定する測定方法であって、前記溶存ガス測定装置は、開口部を備え、該開口部と対向する部分に前記測定対象水を通水するための供給孔と排出孔とが設けられたチャンバーと、前記チャンバーの前記開口部に着脱可能に取り付けられ、通水した前記測定対象水中の溶存ガス濃度に応じた電流値を測定するセンサ部と、前記センサ部の前記チャンバーの側とは反対の側の部分に接続された、前記センサ部からの信号を伝送するためのケーブルと、を有しており、前記チャンバーが空の状態で、前記チャンバーが上側、前記ケーブルが下側になるように前記溶存ガス測定装置を設置する工程と、前記測定対象水を前記供給孔から前記チャンバー内に供給して前記排出孔から排出させる通水を行う工程と、前記測定対象水の通水開始から前記センサ部を用いて溶存ガス濃度を測定する工程と、を含む、溶存ガス測定方法が提供される。
【発明の効果】
【0010】
本発明によれば、溶存ガス測定装置への通水開始から溶存ガス濃度が安定するまでに要する時間を短縮することができる。
【図面の簡単な説明】
(【0011】以降は省略されています)
この特許をJ-PlatPat(特許庁公式サイト)で参照する
関連特許
オルガノ株式会社
UV照射装置
10日前
オルガノ株式会社
水処理装置および水処理方法
1か月前
オルガノ株式会社
水処理装置および水処理方法
1か月前
オルガノ株式会社
ろ過膜の洗浄方法及び洗浄装置
3日前
オルガノ株式会社
気体の処理方法および気体の処理装置
18日前
オルガノ株式会社
タンパク質洗浄剤およびタンパク質洗浄方法
1か月前
オルガノ株式会社
不純物の検出方法、検査プレート及び検出装置
8日前
オルガノ株式会社
電池収容体、電池モジュール、および電池パック
11日前
オルガノ株式会社
電池収容体、電池モジュール、および電池パック
1か月前
オルガノ株式会社
水処理設備、制御装置、運転方法およびプログラム
1か月前
オルガノ株式会社
水処理装置、溶存ガス測定装置の設置方法、および溶存ガス測定方法
1日前
オルガノ株式会社
強酸性カチオン交換樹脂の製造方法および製造設備、ならびに該強酸性カチオン交換樹脂の再利用方法
1か月前
オルガノ株式会社
強塩基性アニオン交換樹脂の製造方法および製造設備、ならびに該強塩基性アニオン交換樹脂の再利用方法
1か月前
株式会社げんき
液体活性化装置
11日前
株式会社ウィズアクア
水質浄化装置
1か月前
三浦工業株式会社
汚泥乾燥加熱釜
24日前
株式会社ライトアース
水循環式水質浄化システム
18日前
名古屋メッキ工業株式会社
溶存金属析出装置
22日前
三浦工業株式会社
精製水供給システム
24日前
スタンレー電気株式会社
流体除菌装置
16日前
栗田工業株式会社
電気イオン濃縮装置
22日前
栗田工業株式会社
逆浸透膜装置の運転方法
11日前
オルガノ株式会社
UV照射装置
10日前
栗田工業株式会社
超純水製造装置の制御方法
1か月前
WOTA株式会社
液性判定システム及び液性判定方法
22日前
栗田工業株式会社
電気脱イオン装置の運転方法
23日前
有限会社フリーウェー
浄水装置
10日前
株式会社神鋼環境ソリューション
貯留槽
1か月前
三浦工業株式会社
汚泥減容システム
1か月前
パナソニックIPマネジメント株式会社
電解水生成装置
1か月前
株式会社ヘルスカンパニー
浴用剤の使用方法
22日前
竹鶴油業株式会社
残渣処理プラント及び成形物の製造方法
10日前
株式会社医道メディカル
水素及び水素溶解エクソソーム液発生装置
9日前
有限会社エコルネサンス・エンテック
環境負荷の低減化を図る方法
1か月前
三菱化工機株式会社
電界ろ過装置及び電界ろ過装置のろ材の製造方法
3日前
王子ホールディングス株式会社
排水処理方法
19日前
続きを見る
他の特許を見る