TOP
|
特許
|
意匠
|
商標
特許ウォッチ
Twitter
他の特許を見る
公開番号
2025167792
公報種別
公開特許公報(A)
公開日
2025-11-07
出願番号
2024072707
出願日
2024-04-26
発明の名称
消化システム及び加熱制御方法
出願人
メタウォーター株式会社
代理人
弁理士法人フィールズ国際特許事務所
主分類
C02F
11/04 20060101AFI20251030BHJP(水,廃水,下水または汚泥の処理)
要約
【課題】槽内の温度を精度良く制御する消化システム及び加熱制御方法を提供する。
【解決手段】汚泥の消化を行う槽と、余剰汚泥を槽に供給する第1配管と、槽内の消化汚泥を槽外との間において循環する第2配管と、第1配管内の余剰汚泥を第1流体によって加熱する第1加熱器と、第2配管内の消化汚泥を第2流体によって加熱する第2加熱器と、第1流体と第2流体とのそれぞれを加熱可能な複数の熱源装置を含む熱源システムと、消化に係る温度に基づいて、熱源システムを制御することにより、第1加熱器による第1配管内の余剰汚泥の加熱と、第2加熱器による第2配管内の消化汚泥の加熱とのうちの少なくともいずれかを制御する制御装置と、を備える。
【選択図】図2
特許請求の範囲
【請求項1】
汚泥の消化を行う槽と、
余剰汚泥を前記槽に供給する第1配管と、
前記槽内の消化汚泥を前記槽外との間において循環する第2配管と、
前記第1配管内の前記余剰汚泥を第1流体によって加熱する第1加熱器と、
前記第2配管内の前記消化汚泥を第2流体によって加熱する第2加熱器と、
前記第1流体と前記第2流体とのそれぞれを加熱可能な複数の熱源装置を含む熱源システムと、
前記消化に係る温度に基づいて、前記熱源システムを制御することにより、前記第1加熱器による前記第1配管内の前記余剰汚泥の加熱と、前記第2加熱器による前記第2配管内の前記消化汚泥の加熱とのうちの少なくともいずれかを制御する制御装置と、を備える、消化システム。
続きを表示(約 930 文字)
【請求項2】
前記制御装置は、前記槽内の温度が下限閾値を下回っている場合、前記複数の熱源装置のうちの少なくともいずれかによって前記第2流体が加熱されるように前記熱源システムを制御することにより、前記第2加熱器による前記第2配管内の前記消化汚泥の加熱を行う、請求項1に記載の消化システム。
【請求項3】
前記制御装置は、
前記槽内の温度が下限閾値を下回っている場合、前記複数の熱源装置のうち、前記第1流体の加熱を行っていない特定の熱源装置を特定し、
前記特定の熱源装置のうちの少なくともいずれかによって前記第2流体が加熱されるように前記熱源システムを制御することにより、前記第2加熱器による前記第2配管内の前記消化汚泥の加熱を行う、請求項1に記載の消化システム。
【請求項4】
さらに、前記第1配管における前記第1加熱器と前記槽との間に連通し、前記第1配管に対して初沈汚泥を供給する第3配管を備える、請求項1に記載の消化システム。
【請求項5】
さらに、前記第2流体を冷却可能な冷却システムを備え、
前記制御装置は、前記槽内の温度が上限閾値を上回っている場合、前記第2流体が冷却されるように前記冷却システムを制御することにより、前記第2加熱器による前記第2配管内の前記消化汚泥の冷却を行う、請求項1に記載の消化システム。
【請求項6】
汚泥の消化を行う槽と、余剰汚泥を前記槽に供給する第1配管と、前記槽内の消化汚泥を前記槽外との間において循環する第2配管と、前記第1配管内の前記余剰汚泥を第1流体によって加熱する第1加熱器と、前記第2配管内の前記消化汚泥を第2流体によって加熱する第2加熱器と、前記第1流体と前記第2流体とのそれぞれを加熱可能な複数の熱源装置を含む熱源システムと、を備える消化システムにおける加熱制御方法であって、
前記消化に係る温度に基づいて、前記熱源システムを制御することにより、前記第1加熱器による前記第1配管内の前記余剰汚泥の加熱と、前記第2加熱器による前記第2配管内の前記消化汚泥の加熱とのうちの少なくともいずれかを制御する、加熱制御方法。
発明の詳細な説明
【技術分野】
【0001】
本開示は、消化システム及び加熱制御方法に関する。
続きを表示(約 1,400 文字)
【背景技術】
【0002】
被処理物(例えば、初沈汚泥や余剰汚泥に含まれる有機物)を消化する槽(以下、消化槽とも呼ぶ)を有する消化システムにおいて、槽内の温度を適温に維持することにより、被処理物の効率的な消化を実現する技術が提案されている(特許文献1を参照)。
【先行技術文献】
【特許文献】
【0003】
特表2011―516246号公報
【発明の概要】
【発明が解決しようとする課題】
【0004】
上記のような消化システムでは、例えば、槽内の温度が適温に維持されるように、槽内の温度を精度良く制御することが望まれている。
【課題を解決するための手段】
【0005】
本開示における消化システムは、汚泥の消化を行う槽と、余剰汚泥を前記槽に供給する第1配管と、前記槽内の消化汚泥を前記槽外との間において循環する第2配管と、前記第1配管内の前記余剰汚泥を第1流体によって加熱する第1加熱器と、前記第2配管内の前記消化汚泥を第2流体によって加熱する第2加熱器と、前記第1流体と前記第2流体とのそれぞれを加熱可能な複数の熱源装置を含む熱源システムと、前記消化に係る温度に基づいて、前記熱源システムを制御することにより、前記第1加熱器による前記第1配管内の前記余剰汚泥の加熱と、前記第2加熱器による前記第2配管内の前記消化汚泥の加熱とのうちの少なくともいずれかを制御する制御装置と、を備える。
【発明の効果】
【0006】
本開示における消化システム及び加熱制御方法によれば、槽内の温度を精度良く制御することが可能になる。
【図面の簡単な説明】
【0007】
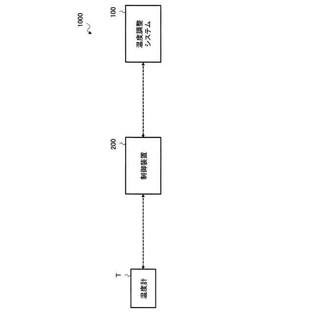
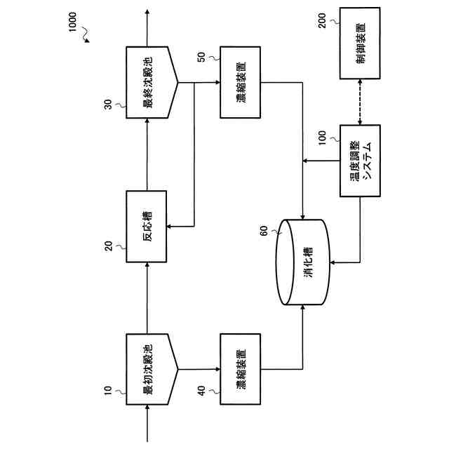
図1は、第1の実施の形態における処理システム1000の構成について説明する図である。
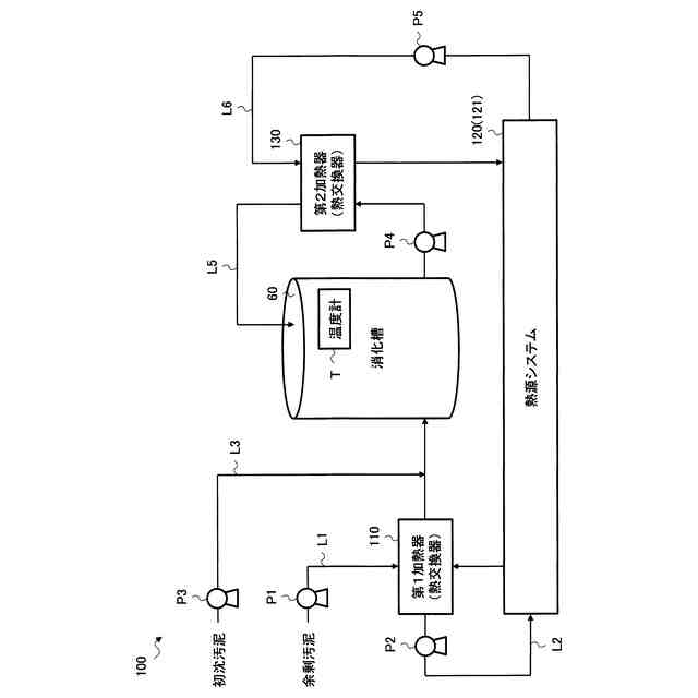
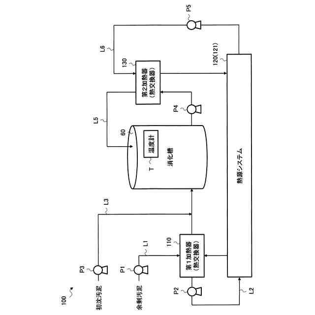
図2は、第1の実施の形態における温度調整システム100の構成について説明する図である。
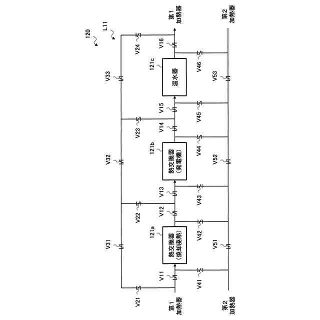
図3は、第1の実施の形態における熱源システム120の構成を説明する図である。
図4は、第1の実施の形態における制御装置200のハードウエア構成を説明する図である。
図5は、第1の実施の形態における制御装置200の機能について説明する図である。
図6は、第1の実施の形態における温度制御処理を説明するフローチャート図である。
図7は、変形例における温度調整システム100の構成について説明する図である。
【発明を実施するための形態】
【0008】
以下、図面を参照して本開示の実施の形態について説明する。しかしながら、かかる説明は限定的な意味に解釈されるべきではなく、特許請求の範囲に記載の主題を限定するものではない。また、本開示の趣旨及び範囲から逸脱することがなく様々な変更や置換や改変をすることができる。また、異なる実施の形態を適宜組み合わせることができる。
【0009】
[第1の実施の形態における処理システム1000]
初めに、第1の実施の形態における処理システム1000について説明を行う。図1は、第1の実施の形態における処理システム1000の構成について説明する図である。
【0010】
本実施の形態における処理システム1000は、例えば、下水等の液体(以下、被処理水とも呼ぶ)の処理を行う水処理システムである。
(【0011】以降は省略されています)
この特許をJ-PlatPat(特許庁公式サイト)で参照する
関連特許
他の特許を見る