TOP
|
特許
|
意匠
|
商標
特許ウォッチ
Twitter
他の特許を見る
10個以上の画像は省略されています。
公開番号
2025167796
公報種別
公開特許公報(A)
公開日
2025-11-07
出願番号
2024072713
出願日
2024-04-26
発明の名称
消化システム及び加熱制御方法
出願人
メタウォーター株式会社
代理人
弁理士法人フィールズ国際特許事務所
主分類
C02F
11/04 20060101AFI20251030BHJP(水,廃水,下水または汚泥の処理)
要約
【課題】槽内の温度を精度良く制御する消化システム及び加熱制御方法を提供する。
【解決手段】汚泥の消化を行う槽と、余剰汚泥を槽に供給する第1配管と、槽内の消化汚泥を槽外との間において循環する第2配管と、第1配管内の余剰汚泥と第2配管内の消化汚泥とのうちの少なくともいずれかを流体によって加熱または冷却する第1温度調整器と、消化に係る温度に基づいて、流体として第1流体と第1流体よりも温度が低い第2流体とのうちの少なくともいずれかを第1温度調整器に供給する制御装置と、を備える。
【選択図】図3
特許請求の範囲
【請求項1】
汚泥の消化を行う槽と、
余剰汚泥を前記槽に供給する第1配管と、
前記槽内の消化汚泥を前記槽外との間において循環する第2配管と、
前記第1配管内の前記余剰汚泥と前記第2配管内の前記消化汚泥とのうちの少なくともいずれかを流体によって加熱または冷却する第1温度調整器と、
前記消化に係る温度に基づいて、前記流体として第1流体と前記第1流体よりも温度が低い第2流体とのうちの少なくともいずれかを第1温度調整器に供給する制御装置と、を備える、消化システム。
続きを表示(約 1,200 文字)
【請求項2】
さらに、前記流体を前記第1温度調整器に供給する第3配管と、
前記流体を加熱する第1加熱器と、
前記流体を冷却する第1冷却器と、
前記第3配管に連通し、前記第1加熱器を迂回する第1迂回配管と、
前記第3配管に連通し、前記第1冷却器を迂回する第2迂回配管と、を備え、
前記第1流体は、前記第2迂回配管に供給される前記流体であり、
前記第2流体は、前記第1迂回配管に供給される前記流体である、請求項1に記載の消化システム。
【請求項3】
前記制御装置は、前記余剰汚泥が前記第1配管を介して前記槽に供給され、かつ、前記槽内の温度が下限閾値を下回っている場合、前記第1流体が前記第1温度調整器に供給されるように制御する、請求項1に記載の消化システム。
【請求項4】
前記制御装置は、前記消化汚泥が前記第2配管を介して前記槽内と前記槽外との間において循環し、かつ、前記槽内の温度が下限閾値を下回っている場合、前記第1流体が前記第1温度調整器に供給されるように制御する、請求項1に記載の消化システム。
【請求項5】
前記制御装置は、前記消化汚泥が前記第2配管を介して前記槽内と前記槽外との間において循環し、かつ、前記槽内の温度が上限閾値を上回っている場合、前記第2流体が前記第1温度調整器に供給されるように制御する、請求項1に記載の消化システム。
【請求項6】
前記第1配管は、前記第2配管と一部の部分配管が共通しており、
前記第1温度調整器は、前記部分配管に設けられ、
さらに、前記第2配管に連通し、前記第1温度調整器を迂回する第3迂回配管と、
前記第3迂回配管内の前記余剰汚泥と前記第3迂回配管内の前記消化汚泥とのうちの少なくともいずれかを流体によって加熱または冷却する第2温度調整器と、を備え、
前記制御装置は、前記消化に係る温度に基づいて、前記第3迂回配管に対する前記余剰汚泥の供給と、前記第3迂回配管に対する前記消化汚泥の供給とのうちの少なくともいずれかを制御する、請求項1に記載の消化システム。
【請求項7】
汚泥の消化を行う槽と、余剰汚泥を前記槽に供給する第1配管と、前記槽内の消化汚泥を前記槽外との間において循環する第2配管と、前記第1配管内の前記余剰汚泥と前記第2配管内の前記消化汚泥とのうちの少なくともいずれかを流体によって加熱または冷却する第1温度調整器と、を備える消化システムにおける加熱制御方法であって、
前記消化に係る温度に基づいて、前記流体として第1流体と前記第1流体よりも温度が低い第2流体とのうちの少なくともいずれかを前記第1温度調整器に供給する制御装置と、を備える、加熱制御方法。
発明の詳細な説明
【技術分野】
【0001】
本開示は、消化システム及び加熱制御方法に関する。
続きを表示(約 1,400 文字)
【背景技術】
【0002】
被処理物(例えば、初沈汚泥や余剰汚泥に含まれる有機物)を消化する槽(以下、消化槽とも呼ぶ)を有する消化システムにおいて、槽内の温度を適温に維持することにより、被処理物の効率的な消化を実現する技術が提案されている(特許文献1を参照)。
【先行技術文献】
【特許文献】
【0003】
特表2011―516246号公報
【発明の概要】
【発明が解決しようとする課題】
【0004】
上記のような消化システムでは、例えば、槽内の温度が適温に維持されるように、槽内の温度を精度良く制御することが望まれている。
【課題を解決するための手段】
【0005】
本開示における消化システムは、汚泥の消化を行う槽と、余剰汚泥を前記槽に供給する第1配管と、前記槽内の消化汚泥を前記槽外との間において循環する第2配管と、前記第1配管内の前記余剰汚泥と前記第2配管内の前記消化汚泥とのうちの少なくともいずれかを流体によって加熱または冷却する第1温度調整器と、前記消化に係る温度に基づいて、前記流体として第1流体と前記第1流体よりも温度が低い第2流体とのうちの少なくともいずれかを第1温度調整器に供給する制御装置と、を備える。
【発明の効果】
【0006】
本開示における消化システム及び加熱制御方法によれば、槽内の温度を精度良く制御することが可能になる。
【図面の簡単な説明】
【0007】
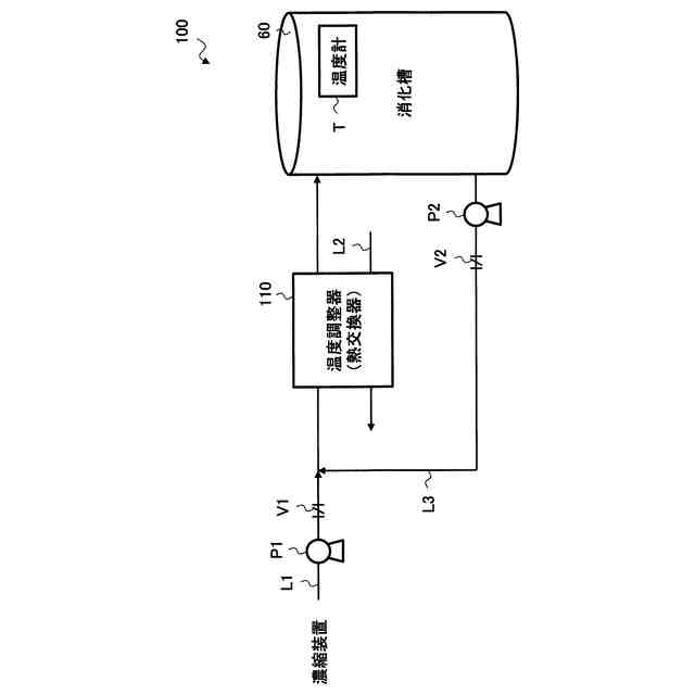
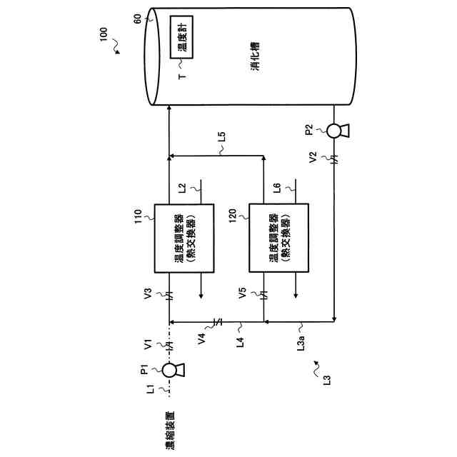
図1は、第1の実施の形態における処理システム1000の構成について説明する図である。
図2は、第1の実施の形態における温度調整システム100の構成について説明する図である。
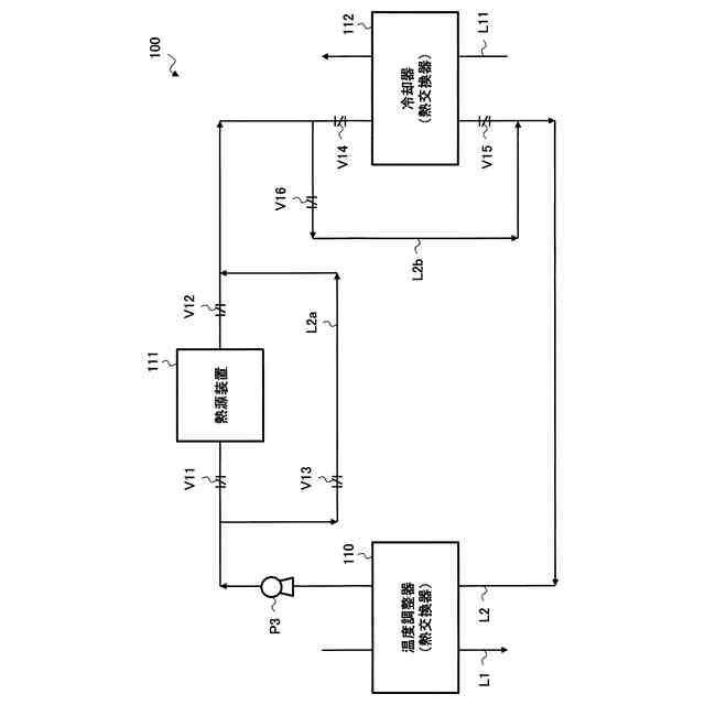
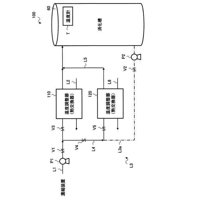
図3は、第1の実施の形態における温度調整システム100の構成について説明する図である。
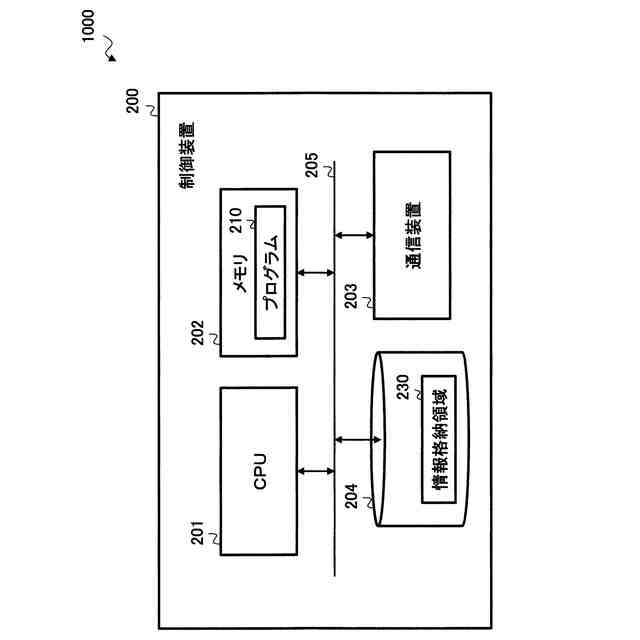
図4は、第1の実施の形態における制御装置200のハードウエア構成を説明する図である。
図5は、第1の実施の形態における制御装置200の機能について説明する図である。
図6は、第1の実施の形態における温度制御処理を説明するフローチャート図である。
図7は、変形例における温度調整システム100の構成について説明する図である。
図8は、変形例における温度調整システム100の構成について説明する図である。
図9は、変形例における温度調整システム100の構成について説明する図である。
【発明を実施するための形態】
【0008】
以下、図面を参照して本開示の実施の形態について説明する。しかしながら、かかる説明は限定的な意味に解釈されるべきではなく、特許請求の範囲に記載の主題を限定するものではない。また、本開示の趣旨及び範囲から逸脱することがなく様々な変更や置換や改変をすることができる。また、異なる実施の形態を適宜組み合わせることができる。
【0009】
[第1の実施の形態における処理システム1000]
初めに、第1の実施の形態における処理システム1000について説明を行う。図1は、第1の実施の形態における処理システム1000の構成について説明する図である。
【0010】
本実施の形態における処理システム1000は、例えば、下水等の液体(以下、被処理水とも呼ぶ)の処理を行う水処理システムである。
(【0011】以降は省略されています)
この特許をJ-PlatPat(特許庁公式サイト)で参照する
関連特許
株式会社げんき
液体活性化装置
1か月前
新・産業洗浄株式会社
曝気装置
9日前
株式会社ライトアース
水循環式水質浄化システム
1か月前
スタンレー電気株式会社
流体除菌装置
3日前
スタンレー電気株式会社
流体除菌装置
1か月前
栗田工業株式会社
逆浸透膜装置の運転方法
1か月前
オルガノ株式会社
UV照射装置
1か月前
有限会社フリーウェー
浄水装置
1か月前
大成建設株式会社
中和処理システムと中和処理方法
9日前
ジヤトコ株式会社
排水回収システム
17日前
栗田工業株式会社
水処理拠点の状況診断支援システム
2日前
株式会社ジェイテクト
発酵装置
3日前
個人
海水の塩分除去装置と淡水製造方法
18日前
株式会社クボタ
有機性廃棄物の処理方法
9日前
竹鶴油業株式会社
残渣処理プラント及び成形物の製造方法
1か月前
株式会社医道メディカル
水素及び水素溶解エクソソーム液発生装置
1か月前
三菱化工機株式会社
電界ろ過装置及び電界ろ過装置のろ材の製造方法
25日前
株式会社大林組
汚泥処理施設及び汚泥処理方法
9日前
東ソー株式会社
ニッケルと錯生成能力を持つ化合物を含有する水溶液の浄化方法
4日前
オルガノ株式会社
電気式脱イオン水製造システム及びその運用方法
9日前
栗田工業株式会社
水・蒸気サイクル中の有機系溶存物質の除去方法
1か月前
キヤノン株式会社
液体中に溶存するガスの回収システム
1か月前
WOTA株式会社
貯留槽及び水処理システム
2日前
株式会社クボタ
浄水処理方法および原水評価方法
9日前
栗田工業株式会社
フッ化物イオン及びカチオン含有水の処理方法及び装置
4日前
株式会社タカギ
浄水カートリッジ
9日前
荏原実業株式会社
防臭システム、防臭装置及び防臭方法
1か月前
株式会社パーカーコーポレーション
循環水処理用水溶液
9日前
株式会社ササクラ
被処理液の膜処理方法および装置
17日前
株式会社東芝
スカム発生抑制システム及びスカム発生抑制方法
1か月前
メタウォーター株式会社
消化システム及び加熱制御方法
1か月前
オルガノ株式会社
水処理システム
17日前
メタウォーター株式会社
消化システム及び配管設置方法
1か月前
メタウォーター株式会社
消化システム及び加熱制御方法
1か月前
メタウォーター株式会社
消化システム及び加熱制御方法
1か月前
メタウォーター株式会社
消化システム及び加熱制御方法
1か月前
続きを見る
他の特許を見る