TOP
|
特許
|
意匠
|
商標
特許ウォッチ
Twitter
他の特許を見る
公開番号
2025176846
公報種別
公開特許公報(A)
公開日
2025-12-05
出願番号
2024083199
出願日
2024-05-22
発明の名称
貯留槽及び水処理システム
出願人
WOTA株式会社
代理人
弁理士法人きさらぎ国際特許事務所
主分類
C02F
1/00 20230101AFI20251128BHJP(水,廃水,下水または汚泥の処理)
要約
【課題】流体を限られた容積空間において効率良く貯留することが可能な貯留槽及び水処理システムに関する。
【解決手段】流体を貯留可能な貯留空間を有する槽本体と、貯留空間を2以上の貯留部に分割すると共に、分割された2以上の貯留部の容積を増減させることが可能な可変仕切部とを備える。
【選択図】図2
特許請求の範囲
【請求項1】
流体を貯留可能な貯留空間を有する槽本体と、
前記貯留空間を2以上の貯留部に分割すると共に、分割された前記2以上の貯留部の容積を増減させることが可能な可変仕切部と
を備える
貯留槽。
続きを表示(約 410 文字)
【請求項2】
前記可変仕切部の少なくとも1つは、前記2以上の貯留部のうち、1つの前記貯留部を画定可能な袋状に形成されている
請求項1に記載の貯留槽。
【請求項3】
前記2以上の貯留部は、それぞれ異なる性質の流体を貯留可能に構成されている
請求項1又は2に記載の貯留槽。
【請求項4】
前記2以上の貯留部は、それぞれ流体を流入可能に構成されており、かつ、流入された流体を貯留可能に構成されており、
前記2以上の貯留部は、それぞれ貯留している流体を流出可能に構成されている
請求項1又は2に記載の貯留槽。
【請求項5】
前記2以上の貯留部は、それぞれ他の前記貯留部との間で流体を移動可能に構成されている
請求項1又は2に記載の貯留槽。
【請求項6】
請求項1又は2に記載の貯留槽を備える
水処理システム。
発明の詳細な説明
【技術分野】
【0001】
本発明は、流体を貯留可能な貯留槽と、貯留槽を備える水処理システムとに関する。
続きを表示(約 1,000 文字)
【背景技術】
【0002】
従来から、排水を貯留する排水調整槽と、排水調整槽に貯留された排水を処理する生物処理槽と、生物処理槽で処理されることにより得られた処理水を貯留する処理水貯留槽とを備える水処理システムが知られている(特許文献1等)。
【先行技術文献】
【特許文献】
【0003】
特開2023-080487号公報
【発明の概要】
【発明が解決しようとする課題】
【0004】
ここで、循環型の水処理システムにおいて、排水調整槽に貯留される排水の量と、処理水貯留槽に貯留される処理水の量とは、負の相関関係、すなわち、一方が増加すると他方が減少する関係にあるところ、従来の水処理システムでは、排水調整槽と処理水貯留槽とを個別に設けているため、システム全体の容積として常に槽1つ分の余剰があるという問題がある。
【0005】
本発明は、流体を限られた容積空間において効率良く貯留することが可能な貯留槽及び水処理システムに関する。
【課題を解決するための手段】
【0006】
本発明に係る貯留槽は、流体を貯留可能な貯留空間を有する槽本体と、前記貯留空間を2以上の貯留部に分割すると共に、分割された前記2以上の貯留部の容積を増減させることが可能な可変仕切部とを備える。
【0007】
本発明に係る水処理システムは、上記貯留槽を備えている。
【発明の効果】
【0008】
本発明の貯留槽及び水処理システムによれば、流体を限られた容積空間において効率良く貯留することが可能になる。
【図面の簡単な説明】
【0009】
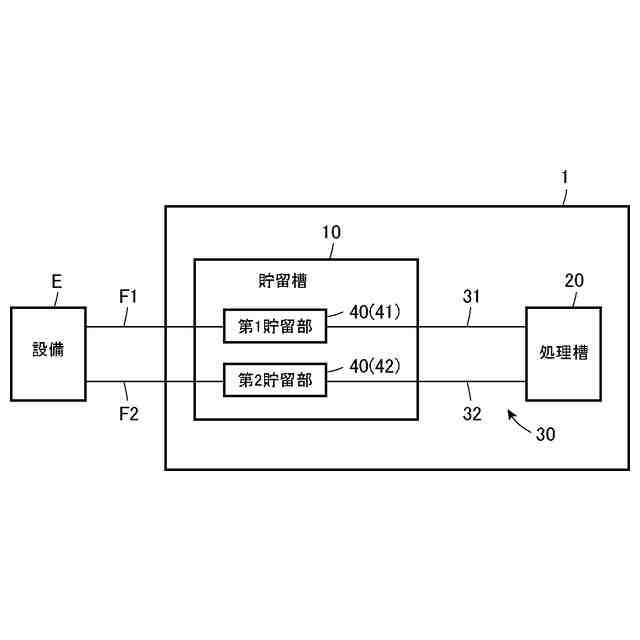
本実施形態に係る水処理システムを示すブロック図である。
本実施形態に係る貯留槽を示す概略断面図である。
本実施形態に係る貯留槽を示す概略断面図である。
変形例に係る貯留槽を示す概略断面図である。
【発明を実施するための形態】
【0010】
以下、本発明を実施するための好適な実施形態について、図面を用いて説明する。なお、以下の実施形態は、各請求項に係る発明を限定するものではなく、また、実施形態の中で説明されている特徴の組み合わせの全てが発明の解決手段に必須であるとは限らない。また、本実施形態においては、各構成要素の縮尺や寸法が誇張されて示されている場合や、一部の構成要素が省略されている場合がある。
(【0011】以降は省略されています)
この特許をJ-PlatPat(特許庁公式サイト)で参照する
関連特許
WOTA株式会社
保持部材及び容器
1か月前
WOTA株式会社
貯留槽及び水処理システム
今日
WOTA株式会社
液性判定システム及び液性判定方法
1か月前
WOTA株式会社
水処理システム、水処理方法及び水処理モジュール
今日
WOTA株式会社
排水処理システム及び排水処理方法
2か月前
WOTA株式会社
水処理装置管理システムおよび家庭用水処理装置
17日前
株式会社げんき
液体活性化装置
1か月前
新・産業洗浄株式会社
曝気装置
7日前
株式会社ウィズアクア
水質浄化装置
1か月前
三浦工業株式会社
汚泥乾燥加熱釜
1か月前
株式会社ライトアース
水循環式水質浄化システム
1か月前
三浦工業株式会社
精製水供給システム
1か月前
スタンレー電気株式会社
流体除菌装置
1か月前
栗田工業株式会社
電気イオン濃縮装置
1か月前
名古屋メッキ工業株式会社
溶存金属析出装置
1か月前
スタンレー電気株式会社
流体除菌装置
1日前
栗田工業株式会社
逆浸透膜装置の運転方法
1か月前
栗田工業株式会社
超純水製造装置の制御方法
1か月前
オルガノ株式会社
UV照射装置
1か月前
WOTA株式会社
液性判定システム及び液性判定方法
1か月前
栗田工業株式会社
電気脱イオン装置の運転方法
1か月前
株式会社神鋼環境ソリューション
貯留槽
1か月前
有限会社フリーウェー
浄水装置
1か月前
ジヤトコ株式会社
排水回収システム
15日前
大成建設株式会社
中和処理システムと中和処理方法
7日前
個人
海水の塩分除去装置と淡水製造方法
16日前
株式会社ジェイテクト
発酵装置
1日前
栗田工業株式会社
水処理拠点の状況診断支援システム
今日
株式会社クボタ
有機性廃棄物の処理方法
7日前
株式会社ヘルスカンパニー
浴用剤の使用方法
1か月前
竹鶴油業株式会社
残渣処理プラント及び成形物の製造方法
1か月前
有限会社エコルネサンス・エンテック
環境負荷の低減化を図る方法
1か月前
株式会社医道メディカル
水素及び水素溶解エクソソーム液発生装置
29日前
三菱化工機株式会社
電界ろ過装置及び電界ろ過装置のろ材の製造方法
23日前
王子ホールディングス株式会社
排水処理方法
1か月前
株式会社セルマップ
油吸着用の吸着体、及び油吸着用の吸着体の製造方法
1か月前
続きを見る
他の特許を見る