TOP
|
特許
|
意匠
|
商標
特許ウォッチ
Twitter
他の特許を見る
公開番号
2025162284
公報種別
公開特許公報(A)
公開日
2025-10-27
出願番号
2024065476
出願日
2024-04-15
発明の名称
保持部材及び容器
出願人
WOTA株式会社
代理人
弁理士法人きさらぎ国際特許事務所
主分類
B65D
45/20 20060101AFI20251020BHJP(運搬;包装;貯蔵;薄板状または線条材料の取扱い)
要約
【課題】容器本体の取り付け及び取り外しを容易にさせ、かつ、容器本体の取り外し時に容器本体から液体が零れることを抑制することが可能な保持部材及び容器に関する。
【解決手段】容器本体及び蓋部のいずれか一方に相対的に回動可能に設けられ、容器本体に対する蓋部の装着状態を維持するための保持部材であって、容器本体及び蓋部のいずれか他方に設けられた突起部を挿入させることが可能な挿入溝を備え、挿入溝は、保持部材の回動軸を中心とした円周方向に延びており、突起部を該挿入溝に沿って摺動させることにより、容器本体及び蓋部に対する保持部材の相対的な回転運動を、容器本体と蓋部とを離間させる直進運動に変換可能に構成されており、挿入溝は、容器本体及び蓋部の装着状態と非装着状態との切り替え時に、突起部が該挿入溝内に位置する長さを有する。
【選択図】図1
特許請求の範囲
【請求項1】
容器本体及び蓋部のいずれか一方に相対的に回動可能に設けられ、前記容器本体に対する前記蓋部の装着状態を維持するための保持部材であって、
前記容器本体及び前記蓋部のいずれか他方に設けられた突起部を挿入させることが可能な挿入溝を備え、
前記挿入溝は、前記保持部材の回動軸を中心とした円周方向に延びており、前記突起部を該挿入溝に沿って摺動させることにより、前記容器本体及び前記蓋部に対する前記保持部材の相対的な回転運動を、前記容器本体と前記蓋部とを接近又は離間させる直進運動に変換可能に構成されており、
前記挿入溝は、前記容器本体及び前記蓋部の前記装着状態と非装着状態との切り替え時に、前記突起部が該挿入溝内に位置する長さを有する
保持部材。
続きを表示(約 920 文字)
【請求項2】
前記挿入溝は、前記保持部材の回動軸を中心とした円周方向に延びる第1壁面部を有し、
前記保持部材は、前記突起部を前記第1壁面部に沿って摺動させることにより、前記相対的な回転運動を前記直進運動に変換可能に構成されており、
前記第1壁面部は、前記容器本体及び前記蓋部が前記装着状態から前記非装着状態に切り替わる際に、前記突起部が該第1壁面部上に位置する長さを有する
請求項1に記載の保持部材。
【請求項3】
前記挿入溝は、該挿入溝内に前記突起部を挿入させるための開放端部を有し、
前記第1壁面部は、前記挿入溝の内側から前記開放端部に向けて、湾曲する曲面部を有する
請求項2に記載の保持部材。
【請求項4】
前記挿入溝は、前記第1壁面部に対向する第2壁面部を有し、
前記保持部材は、前記突起部を前記第2壁面部に沿って摺動させることにより、前記相対的な回転運動を、前記容器本体と前記蓋部とを接近させる直進運動に変換可能に構成されている
請求項2又は3に記載の保持部材。
【請求項5】
開口部を有する容器本体と、
前記容器本体の前記開口部を閉塞可能な蓋部と、
前記容器本体及び前記蓋部のいずれか一方に相対的に回動可能に設けられ、前記容器本体に対する前記蓋部の前記装着状態を維持するための保持部材と
を備え、
前記容器本体及び前記蓋部のいずれか他方には、突起部が設けられており、
前記保持部材には、前記突起部を挿入させることが可能な挿入溝が形成されており、
前記挿入溝は、前記保持部材の回動軸を中心とした円周方向に延びており、前記突起部を該挿入溝に沿って摺動させることにより、前記容器本体及び前記蓋部に対する前記保持部材の相対的な回転運動を、前記容器本体と前記蓋部とを接近又は離間させる直進運動に変換可能に構成されており、
前記挿入溝は、前記容器本体及び前記蓋部の前記装着状態と非装着状態との切り替え時に、前記突起部が該挿入溝内に位置する長さを有する
容器。
発明の詳細な説明
【技術分野】
【0001】
本発明は、保持部材及び容器に関する。
続きを表示(約 1,700 文字)
【背景技術】
【0002】
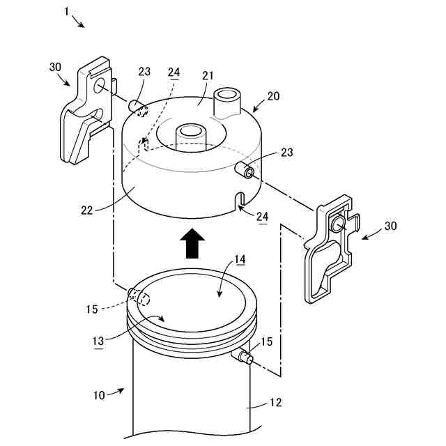
従来から、例えば、手洗い装置の筐体等の被取付対象に取り付けられる容器が知られている(特許文献1等)。従来の容器は、被取付対象に取り付けられる蓋部と、蓋部に対して取り付け可能に構成された容器本体とを備えている。この容器本体には、液体が収容されている。
【先行技術文献】
【特許文献】
【0003】
特開2021-186349号公報
【発明の概要】
【発明が解決しようとする課題】
【0004】
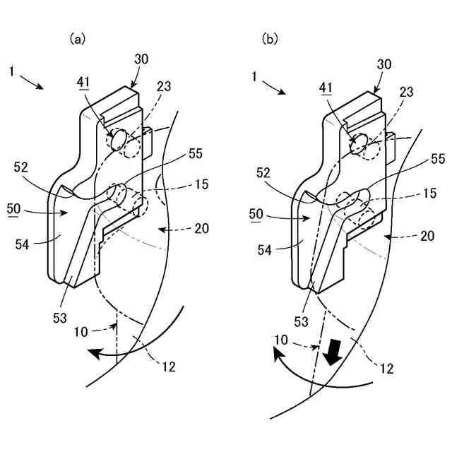
しかしながら、従来の容器では、容器本体の落下を防止する観点から、蓋部に対して容器本体を固く取り付けなければならず、それゆえ、容器本体の取り付けや容器本体の取り外しに労力を要するという問題がある。また、蓋部から容器本体を取り外す際に、容器本体から液体が零れる恐れがあるという問題もある。
【0005】
本発明は、容器本体の取り付け及び取り外しを容易にさせ、かつ、容器本体の取り外し時に容器本体から液体が零れることを抑制することが可能な保持部材及び容器に関する。
【課題を解決するための手段】
【0006】
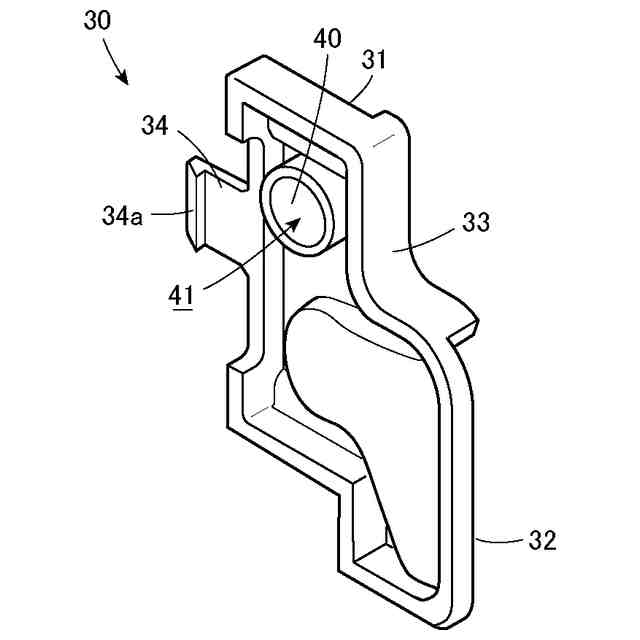
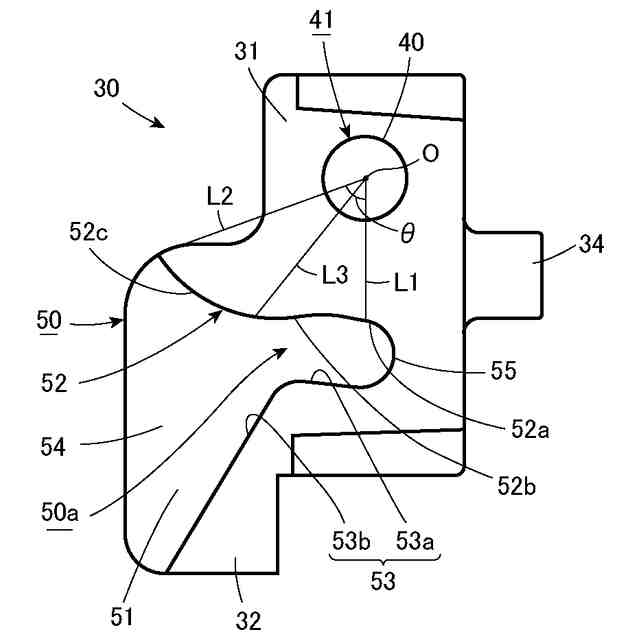
本発明に係る保持部材は、容器本体及び蓋部のいずれか一方に相対的に回動可能に設けられ、前記容器本体に対する前記蓋部の装着状態を維持するための保持部材であって、前記容器本体及び前記蓋部のいずれか他方に設けられた突起部を挿入させることが可能な挿入溝を備え、前記挿入溝は、前記保持部材の回動軸を中心とした円周方向に延びており、前記突起部を該挿入溝に沿って摺動させることにより、前記容器本体及び前記蓋部に対する前記保持部材の相対的な回転運動を、前記容器本体と前記蓋部とを接近又は離間させる直進運動に変換可能に構成されており、前記挿入溝は、前記容器本体及び前記蓋部の前記装着状態と非装着状態との切り替え時に、前記突起部が該挿入溝内に位置する長さを有する。
【0007】
本発明に係る保持部材において、前記挿入溝は、前記保持部材の回動軸を中心とした円周方向に延びる第1壁面部を有し、前記保持部材は、前記突起部を前記第1壁面部に沿って摺動させることにより、前記相対的な回転運動を前記直進運動に変換可能に構成されており、前記第1壁面部は、前記容器本体及び前記蓋部が前記装着状態から前記非装着状態に切り替わる際に、前記突起部が該第1壁面部上に位置する長さを有していても良い。
【0008】
本発明に係る保持部材において、前記挿入溝は、該挿入溝内に前記突起部を挿入させるための開放端部を有し、前記第1壁面部は、前記挿入溝の内側から前記開放端部に向けて、湾曲する曲面部を有していてもよい。
【0009】
本発明に係る保持部材において、前記挿入溝は、前記第1壁面部に対向する第2壁面部を有し、前記保持部材は、前記突起部を前記第2壁面部に沿って摺動させることにより、前記相対的な回転運動を、前記容器本体と前記蓋部とを接近させる直進運動に変換可能に構成されていても良い。
【0010】
本発明に係る容器は、開口部を有する容器本体と、前記容器本体の前記開口部を閉塞可能な蓋部と、前記容器本体及び前記蓋部のいずれか一方に相対的に回動可能に設けられ、前記容器本体に対する前記蓋部の前記装着状態を維持するための保持部材とを備え、前記容器本体及び前記蓋部のいずれか他方には、突起部が設けられており、前記保持部材には、前記突起部を挿入させることが可能な挿入溝が形成されており、前記挿入溝は、前記保持部材の回動軸を中心とした円周方向に延びており、前記突起部を該挿入溝に沿って摺動させることにより、前記容器本体及び前記蓋部に対する前記保持部材の相対的な回転運動を、前記容器本体と前記蓋部とを接近又は離間させる直進運動に変換可能に構成されており、前記挿入溝は、前記容器本体及び前記蓋部の前記装着状態と非装着状態との切り替え時に、前記突起部が該挿入溝内に位置する長さを有する。
【発明の効果】
(【0011】以降は省略されています)
この特許をJ-PlatPat(特許庁公式サイト)で参照する
関連特許
WOTA株式会社
保持部材及び容器
1か月前
WOTA株式会社
貯留槽及び水処理システム
1日前
WOTA株式会社
水処理システム、水処理方法及び水処理モジュール
1日前
WOTA株式会社
水処理装置管理システムおよび家庭用水処理装置
18日前
他の特許を見る