TOP
|
特許
|
意匠
|
商標
特許ウォッチ
Twitter
他の特許を見る
公開番号
2025156129
公報種別
公開特許公報(A)
公開日
2025-10-14
出願番号
2025051197
出願日
2025-03-26
発明の名称
水質浄化装置
出願人
株式会社ウィズアクア
代理人
個人
主分類
C02F
3/34 20230101AFI20251002BHJP(水,廃水,下水または汚泥の処理)
要約
【課題】好気条件下で効率的に水生生物の飼育水の脱窒処理を行う。
【解決手段】本発明の水質浄化装置100は、飼育水等の被処理水が供給される脱窒槽11と、脱窒槽11内に収容されており、被処理水中の硝酸態窒素を還元する好気性の脱窒細菌を定着させる脱窒濾材61と、脱窒槽11の底部に配置され、脱窒槽11に貯留された被処理水に、被処理水の貯留容積に対して1分当たりに50%~5000%の容積率で空気を供給して脱窒濾材61を空気に暴露させる酸素取込動作を連続的に行い、それにより、好気条件下での脱窒細菌による脱窒反応を促進する脱窒用空気供給機構13とを備えている。
【選択図】図1
特許請求の範囲
【請求項1】
被処理水が供給される脱窒槽と、
前記脱窒槽内に収容されており、前記被処理水中の硝酸態窒素を還元する好気性の脱窒細菌を定着させる脱窒濾材と、
前記脱窒槽の底部に配置され、前記脱窒槽に貯留された前記被処理水に、前記被処理水の貯留容積に対して1分当たりに50%~5000%の容積率で空気を供給して前記脱窒濾材を前記空気に暴露させる酸素取込動作を連続的に行い、それにより、好気条件下での前記脱窒細菌による脱窒反応を促進する脱窒用空気供給機構と、を備えた
水質浄化装置。
続きを表示(約 660 文字)
【請求項2】
前記脱窒用空気供給機構の空気排出部の上方に配置され、前記空気排出部から前記被処理水に供給された空気の上昇流の流動方向を規制して一箇所に集中させることにより、前記被処理水及び前記脱窒濾材を前記脱窒槽の全体において還流させる空気流規制部材を有する
請求項1に記載の水質浄化装置。
【請求項3】
前記脱窒槽内に収容されており、前記被処理水中のアンモニア態窒素を酸化する好気性の硝化細菌を定着させる硝化濾材を有する
請求項1に記載の水質浄化装置。
【請求項4】
前記被処理水が供給される硝化槽と、
前記硝化槽内に収容されており、前記被処理水中のアンモニア態窒素を酸化する好気性の硝化細菌を定着させる硝化濾材と、
前記硝化槽の底部に配置され、前記硝化槽に貯留された前記被処理水に、前記被処理水の貯留容積に対して1分当たりに50%~5000%の容積率で空気を供給して前記硝化濾材を前記空気に暴露させる酸素取込動作を連続的に行い、それにより、好気条件下での前記硝化細菌による硝化反応を促進する硝化用空気供給機構と、を備えた
水質浄化装置。
【請求項5】
前記硝化用空気供給機構の上方に配置され、前記硝化用空気供給機構から前記被処理水に供給された空気の上昇流の流動方向を規制して一箇所に集中させることにより、前記被処理水及び前記硝化濾材を前記硝化槽の全体において還流させる空気流規制部材を有する
請求項4に記載の水質浄化装置。
発明の詳細な説明
【技術分野】
【0001】
本発明は、水質浄化装置に関するものである。
続きを表示(約 1,600 文字)
【背景技術】
【0002】
窒素を含む汚水を浄化する技術に関し、特許文献1において、硝化微生物と脱窒微生物とを二重包括した包括濾材を反応槽内に配設した後、汚水(基質水溶液)を反応槽内に供給し、包括濾材を通過させて反応槽の外に流出させるとともに、硝化に必要な酸素をブロワーから散気装置を通過させて反応槽内に送り込む技術が開示されている。これにより、水中に含まれる窒素を除去するに際し、脱窒用微生物、硝化用微生物を同一の固定濾材に固定することにより、1つの反応槽で硝化脱窒を可能とし、汚水(基質水溶液)処理の経済性を高めることを可能にしている。
【先行技術文献】
【特許文献】
【0003】
特公平7-14517号公報
【発明の概要】
【発明が解決しようとする課題】
【0004】
しかしながら、特許文献1の技術は、ブロワーから散気装置により汚水中に送り込むことで、空気中に含まれる酸素を硝化微生物や脱窒微生物に供給しているが、酸素の供給量によっては反応槽内全体の汚水(基質水溶液)に対する硝化反応や脱窒反応の効率が不十分になるという点で、改善が望まれている。
【0005】
本発明はかかる事情に鑑みてなされたものであり、その目的は、好気条件下で効率的に汚水など被処理水の脱窒処理を反応槽内全体において安定して行うことが可能な水質浄化装置を提供することである。
【課題を解決するための手段】
【0006】
本発明者らは、上記課題を解決するために鋭意検討した結果、被処理水の貯留容積に対して1分当たりに50%~5000%の容積率で脱窒槽の底部から空気を供給して脱窒反応を行うこと等によって、上記の課題を達成できることを見出し、本発明を完成させるに至った。具体的に、本発明は以下のものを提供する。
【0007】
本発明は、
被処理水が供給される脱窒槽と、
前記脱窒槽内に収容されており、前記被処理水中の硝酸態窒素を還元する好気性の脱窒細菌を定着させる脱窒濾材と、
前記脱窒槽の底部に配置され、前記脱窒槽に貯留された前記被処理水に、前記被処理水の貯留容積に対して1分当たりに50%~5000%の容積率で空気を供給して前記脱窒濾材を前記空気に暴露させる酸素取込動作を連続的に行い、それにより、好気条件下での前記脱窒細菌による脱窒反応を促進する脱窒用空気供給機構と、を備えた水質浄化装置である。
【0008】
本発明によれば、被処理水の貯留容積に対して1分当たりに50%~5000%の容積率で脱窒槽の底部から空気を供給し、空気の上昇流により脱窒槽の上部から下部にかけて脱窒槽全体において被処理水及び脱窒濾材を撹拌しながら脱窒反応を行うことで、好気条件下で効率的に被処理水の脱窒処理を脱窒槽全体において安定して行うことが可能になる。
【発明の効果】
【0009】
本発明によれば、好気条件下で効率的に被処理水の脱窒処理を脱窒槽全体において安定して行うことができる。
【図面の簡単な説明】
【0010】
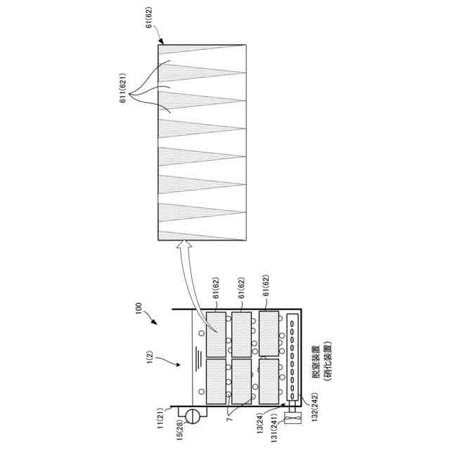
図1は、水質浄化装置による洗浄処理過程を示す説明図である。
図2は、水質浄化装置による洗浄処理過程を示す説明図である。
図3は、水質浄化装置による浄化処理過程を示す説明図である。
図4は、水質浄化装置の変形例であり、脱窒濾材(硝化濾材)の状態を示す説明図である。
図5は、水質浄化装置の変形例であり、脱窒濾材(硝化濾材)の状態を示す説明図である。
図6は、水質浄化装置の変形例であり、脱窒濾材(硝化濾材)の状態を示す説明図である。
図7は、水質浄化装置による浄化処理過程を示す説明図である。
【発明を実施するための形態】
(【0011】以降は省略されています)
この特許をJ-PlatPat(特許庁公式サイト)で参照する
関連特許
株式会社ウィズアクア
水質浄化装置
1か月前
株式会社げんき
液体活性化装置
24日前
新・産業洗浄株式会社
曝気装置
今日
株式会社ウィズアクア
水質浄化装置
1か月前
三浦工業株式会社
汚泥乾燥加熱釜
1か月前
株式会社ライトアース
水循環式水質浄化システム
1か月前
スタンレー電気株式会社
流体除菌装置
29日前
名古屋メッキ工業株式会社
溶存金属析出装置
1か月前
栗田工業株式会社
電気イオン濃縮装置
1か月前
三浦工業株式会社
精製水供給システム
1か月前
栗田工業株式会社
逆浸透膜装置の運転方法
24日前
栗田工業株式会社
超純水製造装置の制御方法
1か月前
オルガノ株式会社
UV照射装置
23日前
有限会社フリーウェー
浄水装置
23日前
株式会社神鋼環境ソリューション
貯留槽
1か月前
栗田工業株式会社
電気脱イオン装置の運転方法
1か月前
WOTA株式会社
液性判定システム及び液性判定方法
1か月前
パナソニックIPマネジメント株式会社
軟水化装置
1か月前
ジヤトコ株式会社
排水回収システム
8日前
パナソニックIPマネジメント株式会社
軟水化装置
1か月前
大成建設株式会社
中和処理システムと中和処理方法
今日
個人
海水の塩分除去装置と淡水製造方法
9日前
パナソニックIPマネジメント株式会社
電解水生成装置
1か月前
三浦工業株式会社
汚泥減容システム
1か月前
竹鶴油業株式会社
残渣処理プラント及び成形物の製造方法
23日前
株式会社クボタ
有機性廃棄物の処理方法
今日
株式会社ヘルスカンパニー
浴用剤の使用方法
1か月前
有限会社エコルネサンス・エンテック
環境負荷の低減化を図る方法
1か月前
株式会社医道メディカル
水素及び水素溶解エクソソーム液発生装置
22日前
三菱化工機株式会社
電界ろ過装置及び電界ろ過装置のろ材の製造方法
16日前
王子ホールディングス株式会社
排水処理方法
1か月前
株式会社セルマップ
油吸着用の吸着体、及び油吸着用の吸着体の製造方法
1か月前
栗田工業株式会社
水・蒸気サイクル中の有機系溶存物質の除去方法
1か月前
オルガノ株式会社
電気式脱イオン水製造システム及びその運用方法
今日
Daigasエナジー株式会社
廃液処理装置および運転方法
1か月前
株式会社大林組
汚泥処理施設及び汚泥処理方法
今日
続きを見る
他の特許を見る