TOP
|
特許
|
意匠
|
商標
特許ウォッチ
Twitter
他の特許を見る
10個以上の画像は省略されています。
公開番号
2025153446
公報種別
公開特許公報(A)
公開日
2025-10-10
出願番号
2024055934
出願日
2024-03-29
発明の名称
電解水生成装置
出願人
パナソニックIPマネジメント株式会社
代理人
個人
,
個人
主分類
C02F
1/461 20230101AFI20251002BHJP(水,廃水,下水または汚泥の処理)
要約
【課題】空気浄化装置に使用される電解水生成装置において、電極の短絡検査における検査治具の取り付けを容易にすることを目的とする。
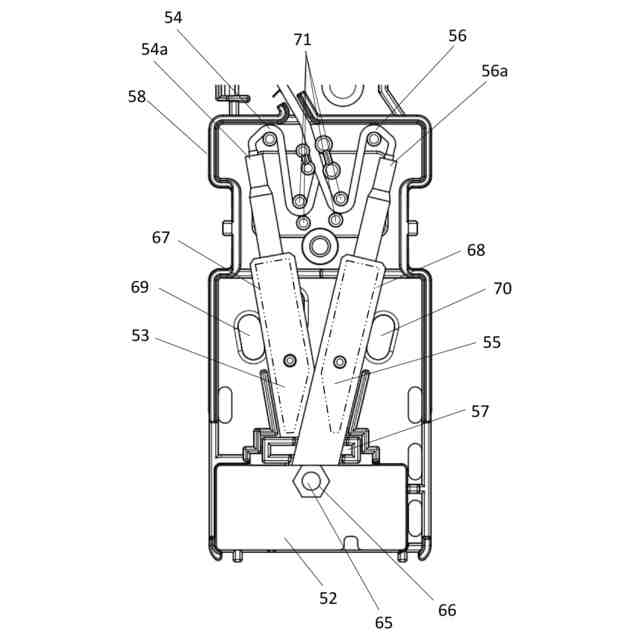
【解決手段】第1電極板51から上方に延びる細長板状の第1接続板53と、第1接続板53における上部に電気的に接続された第1電線54と、第2電極板52から上方に延びる細長板状の第2接続板55と、第2接続板55における上部に電気的に接続された第2電線56と、第1接続板53は、第1電極板51の外面側から見て、第2接続板55と重ならない第1接続板領域67を有し、第2接続板55は、第1電極板51の外面側から見て、第1接続板53と重ならない第2接続板領域68を有し、電極ケース50には、第1接続板領域67の近傍に第1ケース孔69と、第2接続板領域68の近傍に第2ケース孔70と、を有することを特徴としている電解水生成装置。
【選択図】 図15
特許請求の範囲
【請求項1】
電極ケースと、前記電極ケース内に設けられた板状の第1電極板と第2電極板と、を有し、前記第1電極板と前記第2電極板とは所定の距離を有して上下方向に延びる面で対向するように配置され、前記第1電極板と前記第2電極板の極性を互いに異ならしめて被処理水を電気分解して電解水を生成する電解水生成装置において、
前記第1電極板から上方に延びる細長板状の第1接続板と、
前記第1接続板における上部に電気的に接続された第1電線と、
前記第2電極板から上方に延びる細長板状の第2接続板と、
前記第2接続板における上部に電気的に接続された第2電線と、
前記第1接続板は、前記第1電極板の外面側から見て、前記第2接続板と重ならない第1接続板領域を有し、
前記第2接続板は、前記第1電極板の外面側から見て、前記第1接続板と重ならない第2接続板領域を有し、
前記電極ケースには、前記第1接続板領域の近傍に第1ケース孔と、前記第2接続板領域の近傍に第2ケース孔と、を有することを特徴としている電解水生成装置。
続きを表示(約 520 文字)
【請求項2】
前記第1接続板と前記第2接続板は、前記第1電極板における外面側から見ると、前記第1接続板における上部と前記第2接続板における上部とが所定の距離を有するV字形状を成し、
前記第1ケース孔は、V字形状である前記第1接続板と前記第2接続板における前記第1接続板の外側に設けられ、
前記第2ケース孔は、V字形状である前記第1接続板と前記第2接続板における前記第2接続板の外側に設けられることを特徴としている請求項1に記載の電解水生成装置。
【請求項3】
前記第1ケース孔は、上下方向に長い長孔形状であり、前記第1接続板側の周縁は、前記第1接続板の外側の周縁と平行であり、
前記第2ケース孔は、上下方向に長い長孔形状であり、前記第2接続板側の周縁は、前記第2接続板の外側の周縁と平行であることを特徴としている請求項2に記載の電解水生成装置。
【請求項4】
前記電極ケースは、前記第1電極板における外面側から見ると、前記第1接続板と前記第2接続板との間には、前記第1電線と前記第2電線を仮固定するテンション抑制部を有することを特徴としている請求項2または3に記載の電解水生成装置。
発明の詳細な説明
【技術分野】
【0001】
本開示は、水に通電することにより電解水を生成する電解水生成装置に関する。
続きを表示(約 1,900 文字)
【背景技術】
【0002】
従来の電解水生成装置は、少なくとも一対の電極を備え、この電極の極性を互いに異ならしめて被処理水を電気分解して電解水を生成する電解水生成装置が知られている(例えば、特許文献1を参照)。
【先行技術文献】
【特許文献】
【0003】
特許第4749262号公報
【発明の概要】
【発明が解決しようとする課題】
【0004】
このような従来の電解水生成装置では、一対の電極板に電気的に接続された接続板の面が対向し、それぞれの接続板の長辺同士が平行に設置されている。電解水生成装置は、1対の電極が短絡していないかを確認するために、ぞれぞれの接続板に検査装置の検査治具を取り付ける必要がある。検査治具を接続板に取り付けるとき、接続板の長辺同士が平行に設置されている場合、接続板の片側方向から見たときに、手前側の接続板に触れないように、奥側の接続板に検査治具を取り付けることが困難であるという課題を有していた。
【0005】
そこで本発明は、上記従来の課題を解決するものであり、接続板の片側方向から検査治具を取り付けやすくすることを目的とする。
【課題を解決するための手段】
【0006】
そして、この目的を達成するために、本発明に係る電解水生成装置は、
電極ケースと、前記電極ケース内に設けられた板状の第1電極板と第2電極板と、を有し、前記第1電極板と前記第2電極板とは所定の距離を有して上下方向に延びる面で対向するように配置され、前記第1電極板と前記第2電極板の極性を互いに異ならしめて被処理水を電気分解して電解水を生成する電解水生成装置において、
前記第1電極板から上方に延びる細長板状の第1接続板と、
前記第1接続板における上部に電気的に接続された第1電線と、
前記第2電極板から上方に延びる細長板状の第2接続板と、
前記第2接続板における上部に電気的に接続された第2電線と、
前記第1接続板は、前記第1電極板の外面側から見て、前記第2接続板と重ならない第1接続板領域を有し、
前記第2接続板は、前記第1電極板の外面側から見て、前記第1接続板と重ならない第2接続板領域を有し、
前記電極ケースには、前記第1接続板領域の近傍に第1ケース孔と、前記第2接続板領域の近傍に第2ケース孔と、を有するものであり、これにより所期の目的を達成するものである。
【発明の効果】
【0007】
本発明によれば、電極の短絡検査における検査治具の取り付けが容易になるという効果を得ることができる。
【図面の簡単な説明】
【0008】
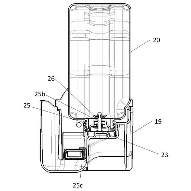
本発明の実施の形態1の電解水生成装置を搭載した空気浄化装置の斜視図
同電解水生成装置を搭載した空気浄化装置のパネルを開いた状態の斜視図
同電解水生成装置を搭載した空気浄化装置の前面に向かって右側から見た断面構成を示す図
同電解水生成装置を搭載した空気浄化装置の一部分解斜視図
同電解水生成装置を搭載した空気浄化装置の一部分解斜視図
同電解水生成装置を搭載した空気浄化装置のタンク部材の分解斜視図
同電解水生成装置を搭載した空気浄化装置のタンク部材の断面構成を示す図
同電解水生成装置を搭載した空気浄化装置の貯水容器の断面構成を示す図
同電解水生成装置を搭載した空気浄化装置の貯水容器の断面構成を示す図
同電解水生成装置を搭載した空気浄化装置の貯水容器の斜視図
同電解水生成装置を搭載した空気浄化装置の塩自動投入部の斜視図
同電解水生成装置を搭載した空気浄化装置の塩自動投入部断面構成を示す図
同電解水生成装置の斜視図
同電解水生成装置の分解斜視図
同電解水生成装置の内部を示す図
【発明を実施するための形態】
【0009】
(実施の形態1)
本開示の第1の実施の形態について図面を参照して説明する。
【0010】
図1、および図2は、本開示の第1の実施の形態の電解水生成装置を搭載した空気浄化装置1の斜視図である。なお、図1は、電解水生成装置を搭載した空気浄化装置を前面側の斜め上方から見た図である。図2は、パネルを開いた空気浄化装置1を前面側の斜め上方から見た図である。また、図3は、電解水生成装置を搭載した空気浄化装置1を前面に向かって右側から見た断面構成を示す図である。
(【0011】以降は省略されています)
この特許をJ-PlatPat(特許庁公式サイト)で参照する
関連特許
株式会社げんき
液体活性化装置
25日前
新・産業洗浄株式会社
曝気装置
1日前
株式会社ウィズアクア
水質浄化装置
1か月前
三浦工業株式会社
汚泥乾燥加熱釜
1か月前
株式会社ライトアース
水循環式水質浄化システム
1か月前
名古屋メッキ工業株式会社
溶存金属析出装置
1か月前
スタンレー電気株式会社
流体除菌装置
1か月前
三浦工業株式会社
精製水供給システム
1か月前
栗田工業株式会社
電気イオン濃縮装置
1か月前
栗田工業株式会社
逆浸透膜装置の運転方法
25日前
栗田工業株式会社
超純水製造装置の制御方法
1か月前
オルガノ株式会社
UV照射装置
24日前
WOTA株式会社
液性判定システム及び液性判定方法
1か月前
有限会社フリーウェー
浄水装置
24日前
株式会社神鋼環境ソリューション
貯留槽
1か月前
栗田工業株式会社
電気脱イオン装置の運転方法
1か月前
大成建設株式会社
中和処理システムと中和処理方法
1日前
ジヤトコ株式会社
排水回収システム
9日前
個人
海水の塩分除去装置と淡水製造方法
10日前
パナソニックIPマネジメント株式会社
電解水生成装置
1か月前
株式会社ヘルスカンパニー
浴用剤の使用方法
1か月前
竹鶴油業株式会社
残渣処理プラント及び成形物の製造方法
24日前
株式会社クボタ
有機性廃棄物の処理方法
1日前
有限会社エコルネサンス・エンテック
環境負荷の低減化を図る方法
1か月前
株式会社医道メディカル
水素及び水素溶解エクソソーム液発生装置
23日前
三菱化工機株式会社
電界ろ過装置及び電界ろ過装置のろ材の製造方法
17日前
王子ホールディングス株式会社
排水処理方法
1か月前
Daigasエナジー株式会社
廃液処理装置および運転方法
1か月前
オルガノ株式会社
電気式脱イオン水製造システム及びその運用方法
1日前
株式会社大林組
汚泥処理施設及び汚泥処理方法
1日前
株式会社セルマップ
油吸着用の吸着体、及び油吸着用の吸着体の製造方法
1か月前
栗田工業株式会社
水・蒸気サイクル中の有機系溶存物質の除去方法
1か月前
株式会社クボタ
浄水処理方法および原水評価方法
1日前
キヤノン株式会社
液体中に溶存するガスの回収システム
23日前
公立大学法人 富山県立大学
アンモニア含有水の処理装置
1か月前
株式会社タカギ
浄水カートリッジ
1日前
続きを見る
他の特許を見る