TOP
|
特許
|
意匠
|
商標
特許ウォッチ
Twitter
他の特許を見る
公開番号
2025162933
公報種別
公開特許公報(A)
公開日
2025-10-28
出願番号
2024075478
出願日
2024-04-16
発明の名称
水循環式水質浄化システム
出願人
株式会社ライトアース
代理人
主分類
C02F
1/68 20230101AFI20251021BHJP(水,廃水,下水または汚泥の処理)
要約
【課題】近未来、深刻な水不足が訪れる前に溜池や地下水などにおいても安全な水を確保する必要がある。季節的には亜熱帯化が進み、さらに、水が腐りやすくなって来ていて、今まさに手を打たないと手遅れの状態になる。この解決を課題としている。
【解決手段】
高水流で撹拌をしながら、ナノバルブ水で好適バチルス菌を育てることで悪臭を防ぎBOD/CODを正常な値に保ち、ナノバルブの優位性と高水流の組み合わせにより、汚れた水を綺麗に浄化する手段である。低回転のスパルで放出される抗酸化還元水マイクロナノバブルは常に水中のBOD・CODの値を正常な数値に保つ。また、好適バチルス菌が育ち臭いの除去や水質を綺麗な状態に保つことが可能である
【選択図】図1
特許請求の範囲
【請求項1】
高水流で撹拌をしながら、マイクロナノバルブ水で好適バチルス菌を育て、悪臭を防ぎBOD/CODを正常な値に保ち、汚れた水を綺麗にする水循環装置であって、水質の悪化を防ぐダント石とSTW鉱石を使用し、殺菌性を考慮したナノバブル水でコーティングをしたオゾン水を投入し、水素を供給し、水の酸化を防ぎ還元水を作ることを特徴とする水循環式水質浄化システム。
続きを表示(約 180 文字)
【請求項2】
湖沼、河川、養殖場或いは集合住宅等の浄化領域の水質浄化としてバクテリア等の微生物を含む水質浄化物を使用し、電気モーター及びエアーモーターで駆動する水質浄化装置であって、前記浄化領域へ送気管を介して酸素等の空気を供給する曝気手段と、
前記浄化領域内の水を攪拌する攪拌手段と、を備えたことを特徴とする水循環式水質浄化システム。
発明の詳細な説明
【発明の詳細な説明】
【】
【技術分野】
【0001】
本発明は、水循環式水質浄化システムに関するものである。
続きを表示(約 2,100 文字)
【背景技術】
【0002】
地球表面の70%は水であるが、地球上の水の98%が海水であり、淡水はわずか2%である。陸上生物が利用できる水は、0.01%と極めてすくない。
約11億人が安全な水を利用できない。不衛生な水しか得られないため、毎日約4,900人の子供達が死亡している。 2025年には世界人口の2/3が水不足になると予想されている。
【0003】
また、アフリカなどの水道インフラが整っていない国では、「汚染された水以外に飲み水の選択肢がない」という人々が大勢いる。しかし汚染水の中には多くの細菌が含まれているため、生きるために飲んだはずの水によって命を落としてしまう人もいるのが現状である。
近未来、深刻な水不足が訪れる前に溜池や地下水などから給電できない地域においても安全な水を確保する必要がある。
【0004】
従来の水質浄化装置で浄化すべき原水を汲み出してマイクロナノバブル発生装置が設置されたマイクロナノバブル発生槽に導入してマイクロナノバブルを発生させ、マイクロナノバブルによって処理水中の好気性微生物を活性化して、処理水中の藻類を硝酸性窒素に分解させ、マイクロナノバブルを含む処理水を、水草を定植した定植床を水中に配設した植物栽培槽に導入し、硝酸性窒素を水草に養分として吸収させるものが、開示されている。
特許公開公報 特開2008-093624
【発明の開示】
【発明が解決しようとする課題】
【0005】
従来技術の不備・欠点であるところの、処理水中の藻類を硝酸性窒素に分解させ、マイクロナノバブルを含む処理水を、水草を定植した定植床を水中に配設した植物栽培槽に導入し、硝酸性窒素を水草に養分として吸収させる。
という欠点をなくすことを主要な課題としている。
【課題を解決するための手段】
【0006】
このような課題を解決するために本発明者は、下記の本発明をなすに至った。
本発明の1つの局面において、シンプルにそして性能を極めるために、高水流で撹拌をしながら、ナノバルブ水で好適バチルス菌を育てることで、悪臭を防ぎBOD/CODを正常な値に保つことができる。
更に画期的なのは自社開発商品のマイクロナノバルブを設置していることも大きなポテンシャルになっている。
【0007】
すなわち、上記課題を解決するために本発明は、1つの実施形態では、
1)ナノバルブの優位性と高水流の組み合わせにより、溜池は勿論のこと、その他にも汚れた水を綺麗にするプロフェッショナル機でもあります。
2)これにより、年々、高まる水質の悪化を防ぐダント石とSTW鉱石を使用することにより更にその効果を高めている。
3)また、殺菌性を考慮したマイクロナノバブル水でコーティングをしたオゾン水の投入により浄化効果は極めて高くなっている。
4)オゾンコーティング水は人が飲用しても全く害にはならず、水中で2カ月程度浮遊している。
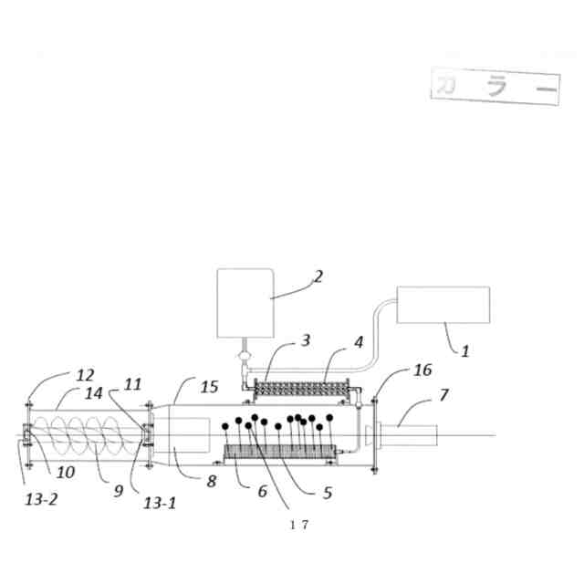
5)高出力水中ポンプ(max時間80ton)を2、3時間稼働、合計184ton以上の水を流動させる。
6)その水流の35%をマイクロナノバルブで変換し放出すするように構成させている。
7)養殖業界には画期的な契機になっている。
8)また水素を供給することにより、酸化を防ぎ還元水を作る事にも寄与するものと期待をもたれている。
【0008】
本発明の1つの実施形態では、
1)水素発生器→マイナスイオン水素精製機器→チェックバルブ→フィルター→プールへの放出。
2)プール底面取水口→循環水中ポンプ→水筒→エアーモーター→スパイラル駆動→放出。
3)自社開発の高出力水中ポンプ(max時間80tonの水流)
以上で構成している。
【発明の効果】
【0009】
本発明によれば、ナノバルブの特徴として、溶存酸素をいつまでも長時間保持することが可能である。このことにより、常に最高の状況を水に与え続けることが出来ので、従来自術との差別化が図れている。従来の水浄化システム技術よりも非常に優れている。
マイクロナノバブル水の優位性と高水流の組み合わせにより、溜池はもちろんのこと、その他にも汚れた水を綺麗に浄化する機能を有している。年々、高まる水質の悪化を正常に保つ機能を備えている。気候的には亜熱帯化が進み、さらに、水が腐りやすくなって来ているので、今まさに手を打たないことには手遅れの状況になる。本発明はその高水流で撹拌をしながら、ナノバブル水で好適バチルス菌を育てることで悪臭を防ぎBOD・CODを正常な値に保つための装置を提供することが可能である。
【図面の簡単な説明】
【0010】
本発明の水素・酸素式水浄化システムの構成の一例を示す図である。
【発明を実施するための形態】
(【0011】以降は省略されています)
この特許をJ-PlatPat(特許庁公式サイト)で参照する
関連特許
株式会社げんき
液体活性化装置
16日前
株式会社ライトアース
水循環式水質浄化システム
23日前
スタンレー電気株式会社
流体除菌装置
21日前
栗田工業株式会社
逆浸透膜装置の運転方法
16日前
オルガノ株式会社
UV照射装置
15日前
有限会社フリーウェー
浄水装置
15日前
個人
海水の塩分除去装置と淡水製造方法
1日前
竹鶴油業株式会社
残渣処理プラント及び成形物の製造方法
15日前
株式会社医道メディカル
水素及び水素溶解エクソソーム液発生装置
14日前
三菱化工機株式会社
電界ろ過装置及び電界ろ過装置のろ材の製造方法
8日前
栗田工業株式会社
水・蒸気サイクル中の有機系溶存物質の除去方法
22日前
株式会社セルマップ
油吸着用の吸着体、及び油吸着用の吸着体の製造方法
24日前
キヤノン株式会社
液体中に溶存するガスの回収システム
14日前
荏原実業株式会社
防臭システム、防臭装置及び防臭方法
13日前
メタウォーター株式会社
消化システム及び加熱制御方法
13日前
メタウォーター株式会社
消化システム及び加熱制御方法
13日前
メタウォーター株式会社
消化システム及び加熱制御方法
13日前
メタウォーター株式会社
消化システム及び加熱制御方法
14日前
メタウォーター株式会社
消化システム及び配管設置方法
13日前
メタウォーター株式会社
消化システム及び加熱制御方法
13日前
株式会社東芝
スカム発生抑制システム及びスカム発生抑制方法
13日前
三菱ケミカルアクア・ソリューションズ株式会社
水処理装置および水処理方法
23日前
オルガノ株式会社
水処理装置、溶存ガス測定装置の設置方法、および溶存ガス測定方法
6日前
旺集光束國際有限公司
多重リニアグレーティングGUV LED流体滅菌方法及びその滅菌空間装置
13日前
国立研究開発法人海洋研究開発機構
カソード反応のための装置およびその応用
13日前
株式会社日立製作所
水処理プラント運転制御システム及び水処理プラント運転制御方法
13日前
エコセンス カンパニー,リミテッド
浮遊型水質測定装置
8日前
メタウォーター株式会社
消化システム
6日前
株式会社東芝
吸着処理方法、および、吸着処理システム
22日前
水ing株式会社
有機性廃水の処理装置及び高分子凝集剤
2日前
WOTA株式会社
水処理装置管理システムおよび家庭用水処理装置
2日前
リファインウェーブ・カンパニー・リミテッド
液体・気体燃料の磁化による分子間結合力低減装置
21日前
ユニバーシティー ヘルス ネットワーク
T細胞受容体を識別する方法
14日前
ニューラクル サイエンス カンパニー リミテッド
配列類似性19、メンバーA5抗体を有する抗ファミリー及びその使用方法
15日前
他の特許を見る