TOP
|
特許
|
意匠
|
商標
特許ウォッチ
Twitter
他の特許を見る
公開番号
2025170598
公報種別
公開特許公報(A)
公開日
2025-11-19
出願番号
2024075313
出願日
2024-05-07
発明の名称
海水の塩分除去装置と淡水製造方法
出願人
個人
,
個人
代理人
個人
,
個人
,
個人
主分類
C02F
1/22 20230101AFI20251112BHJP(水,廃水,下水または汚泥の処理)
要約
【課題】 本発明は、海水を凍結後解氷するプロセスを同一装置内において実現させて飲料水に適した淡水を生産する簡易な装置及び方法を提供することにある。
【解決手段】海水タンクの最上部に冷暖房機器を設置し、上方より凍結していくと塩分がそれを避けようとして下方に移動する機能と、凍結した海水を暖房して解氷する機能を切り替えることが可能な制御器を有し、海水タンクの最下層には溜まった海水や淡水を排出する弁が形成されたことを特徴とする海水の塩分除去装置
【選択図】図1
特許請求の範囲
【請求項1】
海水タンク、海水タンクの外部に設置した冷暖房機器、海水タンク内に冷房用熱交換器と暖房用熱交換器を設置するとともに、冷房用交換機は海水タンクの上方に配置し、冷暖房機器は海水タンク内に流入した海水を冷房凍結する機能と凍結した海水を暖房して解氷する機能を切り替える制御部を有し、海水タンクの最下部には海水及び淡水を排出する弁が接続されたことを特徴とする海水の塩分除去装置
続きを表示(約 300 文字)
【請求項2】
冷房用交換機は海水タンク内に流入した海水の上面から下方に向かって順次冷房凍結できる位置に配置されている請求項1記載の海水の塩分除去装置
【請求項3】
凍結した海水を暖房して解氷する機能は、暖房用熱交換器によって行われる請求項1記載の海水の塩分除去装置
【請求項4】
海水から塩分を除去して淡水を製造する淡水製造方法であって、海水タンク内に海水を流入した後、海水の上方から下方に向けて冷却凍結させることによって塩分を下方に追い込まれた高塩分濃度の海水を海水タンク内から排出した後、冷却凍結した部分を暖房して解氷して淡水を製造することを特徴とする淡水製造方法
発明の詳細な説明
【技術分野】
【0001】
本発明は、冷暖房原理を用いて海水の塩分を除去又は軽減する装置及び淡水製造方法に関する。
続きを表示(約 2,100 文字)
【背景技術】
【0002】
従来から、蒸発法の他、海水を液体窒素などの冷却媒体や製氷装置を用いて塩分を除去又は塩分濃度が少ない氷塊を製造した後に融解して淡水化する方法は知られていている。
下記の特許文献1には、海水を液体ガスにより冷却して塩分の少ない氷塊を作り、その氷塊を融解して真水を得る方法が開示されている。しかし、液体窒素などの扱いにくい冷媒を使用する他、具体的な製造装置の開示がない。
下記の特許文献2には、チャンバー内の海水を冷却して氷スラリを生成し、氷スラリからブライン(飽和食塩水)を除いて生産水を産生する凍結脱塩装置及び凍結脱塩方法の発明が開示されている。氷スラリ生成器と氷濃縮器と予冷ユニットの各装置が必要とする複雑な装置となっている。
下記の特許文献3には、海水を製氷後、解氷する際の電気エネルギーを太陽光発電から供給する海水の塩分除去システム及び方法が開示されているが、製氷ステップに係る製氷装置の具体的な構成は不明である。
【先行技術文献】
【特許文献】
【0003】
特開昭58-55080号公報
特表2014-508268号公表公報
特開2014-171941号公報
【発明の概要】
【発明が解決しようとする課題】
【0004】
上記の先行技術文献において開示されているように、海水を一旦冷却して塩分の少ない凍結氷にした後に解氷して淡水化する方法は知られているが、凍結する際の具体的な簡易かつ効果的な塩分除去装置と淡水製造方法は明らかでない。
【0005】
本発明は、上記課題を解決するためになされたものであって、海水を凍結後解氷するプロセスを同一装置内において実現させて飲料に適した淡水を生産する簡易な装置及び淡水製造方法を提供することにある。
【課題を解決するための手段】
【0006】
本件課題を解決するためになされた本発明は、海水タンク、海水タンクの外部に設置した冷暖房機器、海水タンク内に冷房用熱交換器と暖房用熱交換器を設置するとともに、冷房用交換機は海水タンクの上方に配置し、冷暖房機器は海水タンク内に流入した海水を冷房凍結する機能と凍結した海水を暖房して解氷する機能を切り替える制御部を有し、海水タンクの最下部には海水及び淡水を排出する弁が接続されたことを特徴とする海水の塩分除去装置である。
【0007】
又本発明は、海水から塩分を除去して淡水を製造する淡水製造方法であって、海水タンク内に海水を流入した後、海水の上方から下方に向けて冷却凍結させ、海水タンクの下層に溜まった高塩分濃度の海水を海水タンク内から排出した後、冷却凍結した部分を暖房して解氷して淡水を製造することを特徴とする淡水製造方法である。
この中で本発明は、海水タンク内の海水を海水タンクの上部に位置する冷房用熱交換器によって、上方より凍結していくと凍結される部分の海水中の塩分は凍結を避けようとして下方に移動するため、凍結される部分の塩分濃度は減少するか消滅する原理に基づいて海水の淡水化を行うものである。海水が流入されたタンク内において、上部から海水の凍結を開始して、凍結部分が一定の厚さになった時点で、下部に溜まった高濃度の塩分を含有する海水を排出することで海水中の塩分を除去することが出来る。
【発明の効果】
【0008】
本発明は、単純な構成の装置を使用して海水を効率的に淡水化することが出来る。
【図面の簡単な説明】
【0009】
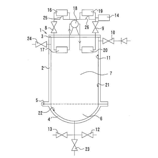
本発明の実施形態の海水の塩分除去装置の全体構成を示した断面図である。
【発明を実施するための最良の形態】
【0010】
本発明の実施例を図1に基づいて説明する。塩分除去装置1は、海水タンク2と、海水タンク2内の冷房用熱交換器(冷房用蒸発器)17と暖房用熱交換器(暖房用コイデンサー)20、海水タンク2の上方に接続された海水流入弁10と海水放出口24と、海水タンク2の下方に設置された海水取出弁12と淡水取出弁13を有する。冷房用熱交換器17と暖房用熱交換器20を機能させる冷暖房機器はエアコンの原理を応用した冷暖房機器であり、海水タンク2の上蓋3の上に設置するが、その設置場所に制限はない。冷暖房機器は圧縮機18,膨張器8,減圧器9,海水タンク外放熱器16,海水タンク外放冷器19,冷房機能と暖房機能を切り替える制御器14によって構成される。海水タンク2の材質には特に制限はないが冷暖房効果がすぐれた透明又は不透明の材質で作られる。海水タンク2の下方にはヒンジ5で接合した湾曲部4によって海水と淡水が溜まるが、別の方法も考えられる。
海水流入弁10からタンク内空間7に流入された海水は、冷房用熱交換器(冷房蒸発器)17が上方から冷却して海水を凍結させることが出来る海水放出口24レベルまで流入される。海水位センサー11によってその位置を検出しても良いが、透明部材のタンク素材によって目視して制御しても良い。
(【0011】以降は省略されています)
この特許をJ-PlatPat(特許庁公式サイト)で参照する
関連特許
株式会社げんき
液体活性化装置
17日前
株式会社ライトアース
水循環式水質浄化システム
24日前
スタンレー電気株式会社
流体除菌装置
22日前
栗田工業株式会社
逆浸透膜装置の運転方法
17日前
オルガノ株式会社
UV照射装置
16日前
有限会社フリーウェー
浄水装置
16日前
ジヤトコ株式会社
排水回収システム
1日前
個人
海水の塩分除去装置と淡水製造方法
2日前
竹鶴油業株式会社
残渣処理プラント及び成形物の製造方法
16日前
株式会社医道メディカル
水素及び水素溶解エクソソーム液発生装置
15日前
三菱化工機株式会社
電界ろ過装置及び電界ろ過装置のろ材の製造方法
9日前
王子ホールディングス株式会社
排水処理方法
25日前
栗田工業株式会社
水・蒸気サイクル中の有機系溶存物質の除去方法
23日前
株式会社セルマップ
油吸着用の吸着体、及び油吸着用の吸着体の製造方法
25日前
キヤノン株式会社
液体中に溶存するガスの回収システム
15日前
荏原実業株式会社
防臭システム、防臭装置及び防臭方法
14日前
株式会社ササクラ
被処理液の膜処理方法および装置
1日前
メタウォーター株式会社
消化システム及び加熱制御方法
15日前
オルガノ株式会社
水処理システム
1日前
株式会社東芝
スカム発生抑制システム及びスカム発生抑制方法
14日前
メタウォーター株式会社
消化システム及び加熱制御方法
14日前
メタウォーター株式会社
消化システム及び加熱制御方法
14日前
メタウォーター株式会社
消化システム及び加熱制御方法
14日前
メタウォーター株式会社
消化システム及び加熱制御方法
14日前
メタウォーター株式会社
消化システム及び配管設置方法
14日前
三菱ケミカルアクア・ソリューションズ株式会社
水処理装置および水処理方法
24日前
オルガノ株式会社
水処理装置、溶存ガス測定装置の設置方法、および溶存ガス測定方法
7日前
旺集光束國際有限公司
多重リニアグレーティングGUV LED流体滅菌方法及びその滅菌空間装置
14日前
国立研究開発法人海洋研究開発機構
カソード反応のための装置およびその応用
14日前
クボタ環境エンジニアリング株式会社
回分式の有機性排水処理方法および回分式の有機性排水処理装置
28日前
株式会社日立製作所
水処理プラント運転制御システム及び水処理プラント運転制御方法
14日前
エコセンス カンパニー,リミテッド
浮遊型水質測定装置
9日前
メタウォーター株式会社
消化システム
7日前
株式会社東芝
吸着処理方法、および、吸着処理システム
23日前
水ing株式会社
有機性廃水の処理装置及び高分子凝集剤
3日前
WOTA株式会社
水処理装置管理システムおよび家庭用水処理装置
3日前
続きを見る
他の特許を見る