TOP
|
特許
|
意匠
|
商標
特許ウォッチ
Twitter
他の特許を見る
公開番号
2025165300
公報種別
公開特許公報(A)
公開日
2025-11-04
出願番号
2024069335
出願日
2024-04-22
発明の名称
逆浸透膜装置の運転方法
出願人
栗田工業株式会社
代理人
個人
,
個人
主分類
C02F
1/44 20230101AFI20251027BHJP(水,廃水,下水または汚泥の処理)
要約
【課題】 被処理水のpHを調整して逆浸透膜装置で処理する際の逆浸透膜装置の処理水の水質、特にホウ素除去率を向上させる逆浸透膜装置の運転方法を提供する。
【解決手段】 第一の逆浸透膜装置1と、第二の逆浸透膜装置2と、送水路3を有する。第二の逆浸透膜装置2には、処理水W2の送水路4と、濃縮水W3の排出路5とがそれぞれ接続している。また、送水路3にはNaOH水溶液供給源6が接続している。さらに、被処理水W1のpHを測定する第一のpH計測手段11が設けられているとともに、濃縮水W3のpHを測定する第二のpH計測手段12が設けられている。第二の逆浸透膜装置2の被処理水W1のpHを第一のpH計測手段11で計測するとともに、第二の逆浸透膜装置2の濃縮水W3のpHを第二のpH計測手段12で計測して、給水W1のpH≦濃縮水W3pHとなるようにNaOH水溶液供給源6からのNaOH水溶液の添加量を制御する。
【選択図】 図1
特許請求の範囲
【請求項1】
被処理水を処理する逆浸透膜装置と、前記被処理水のpHを調整するpH調整機構とを備える純水製造装置を構成する逆浸透膜装置の運転方法であって、前記逆浸透膜装置の濃縮水のpHが、pH調整後の被処理水のpH以上となるように被処理水のpHを調整して被処理水の処理を行う、逆浸透膜装置の運転方法。
続きを表示(約 430 文字)
【請求項2】
前記被処理水のpH、前記被処理水の溶存無機炭素濃度、前記濃縮水のpHの2以上を計測し、この計測値に基づいて前記逆浸透膜の濃縮水のpHが、前記被処理水のpH以上となるように被処理水のpHを調整する、請求項1に記載の逆浸透膜装置の運転方法。
【請求項3】
前記逆浸透膜装置の被処理水が、該逆浸透膜装置の前段に設けられた前段逆浸透膜装置の透過水であり、この透過水のpHを前記pH調整機構によりpH8~12に調整する、請求項1に記載の逆浸透膜装置の運転方法。
【請求項4】
前記逆浸透膜装置の被処理水が、該逆浸透膜装置の前段に設けられたイオン交換装置の処理水であり、この処理水のpHをpH調整機構によりpH8~12に調整する、請求項1に記載の逆浸透膜装置の運転方法。
【請求項5】
前記逆浸透膜装置が、逆浸透膜の多段バンクにより構成されている、請求項1~4のいずれか1項に記載の逆浸透膜装置の運転方法。
発明の詳細な説明
【技術分野】
【0001】
本発明は純水製造装置を構成する逆浸透膜装置の運転方法に関し、特に被処理水のpHを調整して逆浸透膜装置で処理する際に処理水の水質、特にホウ素除去率を向上させる逆浸透膜装置の運転方法に関する。
続きを表示(約 2,300 文字)
【背景技術】
【0002】
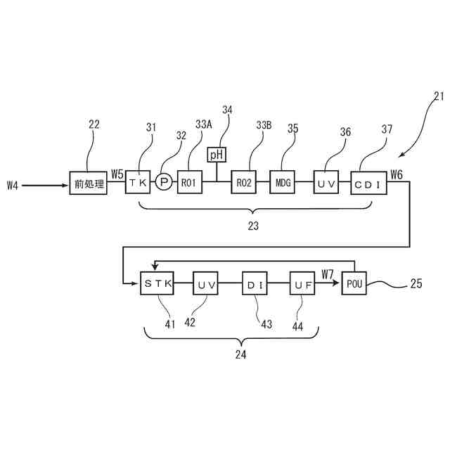
従来、半導体等の電子産業分野で用いられている超純水は、例えば、図7に示すように前処理装置22、一次純水装置(純水製造装置)23、及び二次純水装置(サブシステム)24といった3段の装置で構成された超純水製造装置21で原水W4を処理することにより製造されている。具体的には、前処理装置22では、原水W4の濾過、凝集沈殿、徐濁UF膜などによる前処理が施され、主に懸濁物質が除去される。
【0003】
一次純水装置23は、前処理水(被処理水)W5を貯留する被処理水タンク31と、この前処理水W5を送水する高圧ポンプ32と、第一の逆浸透膜装置33Aと、pH調整手段34と、第二の逆浸透膜装置33Bと、空気により溶存気体を除去する脱気膜装置35と、紫外線酸化装置36と、電気脱イオン装置37とを有する。この一次純水装置3で前処理水W5中の大半の電解質、微粒子、生菌等の除去を行うとともに有機物を分解する。
【0004】
ここで、第一の逆浸透膜装置33A及び第二の逆浸透膜装置33Bは、節水のために複数バンクで構成されることが多い。この複数バンクで構成の逆浸透膜装置は、例えば3バンク構成の場合には、第一バンクの濃縮水を第二バンクの給水(被処理水)とし、第二バンクの濃縮水を第三バンクの給水(被処理水)として、第一バンクから第三バンクのそれぞれの処理水を合流して、逆浸透膜装置の処理水としている。
【0005】
サブシステム24は、一次純水装置23で製造された一次純水(純水)W6を貯留する電気脱イオン装置37の後段に配置された純水タンクとしてのサブタンク41と、このサブタンク41から図示しないポンプを介して送給される一次純水W6を処理する紫外線酸化装置42と非再生型混床式イオン交換装置43と膜濾過装置としての限外濾過(UF)膜44とで構成され、さらに必要に応じRO膜分離装置等が設けられている場合もある。このサブシステム4では、紫外線酸化装置42により一次純水W6中に含まれる微量の有機物(TOC成分)を酸化分解し、続いて非再生型混床式イオン交換装置43で処理することで残留した炭酸イオン、有機酸類、アニオン性物質、さらには金属イオンやカチオン性物質をイオン交換によって除去する。そして、限外濾過(UF)膜44で微粒子を除去して超純水W7とし、これをユースポイント25に供給して、未使用の超純水W7はサブタンク41に還流する。
【0006】
上述したような超純水製造装置21の一次純水装置23では、前処理水W5を第一の逆浸透膜装置33Aまたはイオン交換装置で処理し、この処理水を後段の第二の逆浸透膜33Bで処理しているが、このとき、ホウ素などの除去率の向上を目的として第二の逆浸透膜33Bの被処理水(給水)にpH調整手段34からアルカリを添加し、そのpHを8~12程度に制御して処理を行っている。
【発明の概要】
【発明が解決しようとする課題】
【0007】
しかしながら、上述したような超純水製造装置21においては、一次純水装置23で得られる一次純水W6の水質、特にホウ素の除去率が低下することがあった。この原因について本発明者が種々検討した結果、第二の逆浸透膜33Bの被処理水(給水)の水質、特に溶存無機炭素(IC)濃度と、被処理水(給水)のpHとの関係によりって、第二の逆浸透膜33Bのホウ素の除去率が変動することがあることがわかった。被処理水のpHをコントロールすることで、被処理水(給水)の水質にかかわらず、第二の逆浸透膜33Bの処理水の水質、特にホウ素除去率を維持できることが望ましい。
【0008】
本発明は上記課題に鑑みてなされたものであり、被処理水のpHを調整して逆浸透膜装置で処理する際の逆浸透膜装置の処理水の水質、特にホウ素除去率を向上させる逆浸透膜装置の運転方法を提供することを目的とする。
【課題を解決するための手段】
【0009】
上記目的に鑑み、本発明は、被処理水を処理する逆浸透膜装置と、前記被処理水のpHを調整するpH調整機構とを備える純水製造装置を構成する逆浸透膜装置の運転方法であって、前記逆浸透膜装置の濃縮水のpHが、pH調整後の被処理水のpH以上となるように被処理水のpHを調整して被処理水の処理を行う、逆浸透膜装置の運転方法を提供する(発明1)。
【0010】
かかる発明(発明1)によれば、被処理水のpHをアルカリ側に調整して逆浸透膜装置で処理する際の逆浸透膜装置の処理水の水質、特にホウ素除去率を向上させることができる。これは、以下のような理由による。すなわち、逆浸透膜装置の被処理水(給水)に対してpHをアルカリ側に設定した場合、複数のバンクから構成される逆浸透膜装置においては、後段のバンクの被処理水は前段バンクの濃縮水であるので、NaOH水溶液で給水のpHをアルカリ側、特にpH8以上に調整する場合、被処理水に含まれる溶存無機炭素の濃度とNa濃度のバランス・回収率によって濃縮水が影響を受け、バンクが進むごとに被処理水のpHが低下することがある。これによりそのバンクにおけるホウ素除去率が低下し、この結果、逆浸透膜装置全体の処理水のホウ素除去率が低下する。そこで、種々検討した結果、本発明者は、逆浸透膜装置の濃縮水のpHが、前記被処理水のpH以上となるように被処理水のpHを調整してやれば、逆浸透膜装置のどのバンクにおいてもホウ素除去率が保たれることを見出し、本発明に想到したものである。
(【0011】以降は省略されています)
この特許をJ-PlatPat(特許庁公式サイト)で参照する
関連特許
栗田工業株式会社
ギ酸の回収方法
20日前
栗田工業株式会社
電気イオン濃縮装置
1か月前
栗田工業株式会社
畜糞造粒物の製造方法
2か月前
栗田工業株式会社
生物処理水の利用方法
1か月前
栗田工業株式会社
逆浸透膜装置の運転方法
1か月前
栗田工業株式会社
リチウム含有物の濃縮方法
19日前
栗田工業株式会社
超純水製造装置の制御方法
1か月前
栗田工業株式会社
電気脱イオン装置の運転方法
1か月前
栗田工業株式会社
有機物含有水の脱泡処理装置
27日前
栗田工業株式会社
方法、システム及びプログラム
11日前
栗田工業株式会社
洗浄水製造装置及び洗浄水製造方法
11日前
栗田工業株式会社
水処理拠点の状況診断支援システム
4日前
栗田工業株式会社
洗浄水製造装置及び洗浄水製造方法
4日前
栗田工業株式会社
水処理拠点の状況診断支援システム
4日前
栗田工業株式会社
管内面の洗浄用プラグ及び洗浄方法
2か月前
栗田工業株式会社
リチウム二次電池正極材の処理方法
19日前
株式会社デンソー
液体分離システム
19日前
栗田工業株式会社
微生物発電装置および微生物発電方法
1か月前
栗田工業株式会社
超純水製造装置の立ち上げ時の洗浄方法
27日前
栗田工業株式会社
有機物含有排水からの水回収装置及び方法
1か月前
日本製紙クレシア株式会社
パンツ型紙おむつ
1か月前
栗田工業株式会社
熱交換器内のかき取り板の移動装置及び熱交換器
1か月前
栗田工業株式会社
水・蒸気サイクル中の有機系溶存物質の除去方法
1か月前
栗田工業株式会社
フッ化物イオン及びカチオン含有水の処理方法及び装置
6日前
栗田工業株式会社
排水の水質測定システム、排水処理設備及び排水の水質測定方法
今日
栗田工業株式会社
蓄電デバイス輸送容器、及びこれを用いた蓄電デバイスの輸送方法
4日前
栗田工業株式会社
ベルトコンベアの監視方法、ベルトコンベアの制御方法及びプログラム
2か月前
栗田工業株式会社
混合イオン交換樹脂におけるアニオン交換樹脂とカチオン交換樹脂との分離方法
27日前
株式会社げんき
液体活性化装置
1か月前
新・産業洗浄株式会社
曝気装置
11日前
三浦工業株式会社
汚泥乾燥加熱釜
1か月前
株式会社ライトアース
水循環式水質浄化システム
1か月前
三浦工業株式会社
精製水供給システム
1か月前
スタンレー電気株式会社
流体除菌装置
1か月前
スタンレー電気株式会社
流体除菌装置
5日前
名古屋メッキ工業株式会社
溶存金属析出装置
1か月前
続きを見る
他の特許を見る