TOP
|
特許
|
意匠
|
商標
特許ウォッチ
Twitter
他の特許を見る
10個以上の画像は省略されています。
公開番号
2025168294
公報種別
公開特許公報(A)
公開日
2025-11-07
出願番号
2025069845
出願日
2025-04-21
発明の名称
多重リニアグレーティングGUV LED流体滅菌方法及びその滅菌空間装置
出願人
旺集光束國際有限公司
代理人
個人
主分類
C02F
1/32 20230101AFI20251030BHJP(水,廃水,下水または汚泥の処理)
要約
【課題】同じ滅菌空間の象限にあって外に漏れて環境を汚染しにくく、反反射光は同じ象限に何度も方向を変えるため、360度に反射光があり、病毒菌は逃げ場がなくなり、放射のオーバーラップ率を増加させる。
【解決手段】1.DC電源装置を起動し、前記電源はDC24V以下の一般電力又はバッテリーであってもよく、電源供給接点を介して制御電源PCBボードに電力を送り込む;2.リニアグレーティングGUV LEDランプビーズを点灯し、234~313nmの紫外線放射を発射し、前記放射光は透明なシリンドリカルレンズを介し、互いに平行のリニアグレーティング面の放射光を投射する;3.放射が視窓装置に入り、前記視窓装置は、滅菌空間チャンバーの側辺にあり、放射を外から内へ投射することを容易にする;4.滅菌空間チャンバーで滅菌し、放射は滅菌空間チャンバーに投射され、内面の連続的な柱状反射鏡により、反射と反反射されて多重リニアグレーティング反射を行い、滅菌曝露処理を行い、処理された流体はチャンバーの他端から排出される。
【選択図】図3A
特許請求の範囲
【請求項1】
多重リニアグレーティングGUV LED流体滅菌方法であって、
1.電力駆動であるDC電源装置を起動し、DC24V以下の一般電力又はバッテリーを提供し、電源供給接点を介して制御電源PCBボードに電力を送り込み、
2.リニアグレーティングGUV LEDランプビーズを点灯し、前記リニアグレーティングGUV LEDランプビーズは、234~313nmの紫外線放射を発射し、シリンドリカルレンズを介して放射を互いに平行に発射させてリニアグレーティング面を形成し、
3.放射光が視窓装置に入り、前記視窓装置は、滅菌空間チャンバーの側辺にあり、GUV放射光が透過する石英視窓、又は予め設置されたGUV LED放射光が入る孔視窓のうちの1つであってもよく、外から内へリニアグレーティングGUV放射光を投射して滅菌空間チャンバーに入ることを容易にし、
4.滅菌空間チャンバーに滅菌処理を行い、処理対象の流体は、一端の開口から前記滅菌空間チャンバーに入り、入ったGUV放射光は前記滅菌空間チャンバー内の連続的な柱状反射鏡により、再び反射及び反反射されて多重リニアグレーティング滅菌処理により、処理された前記流体は、前記滅菌空間チャンバーの他端から排出させる、
というステップを含む、多重リニアグレーティングGUV LED流体滅菌方法。
続きを表示(約 2,000 文字)
【請求項2】
多重リニアグレーティングGUV LED流体滅菌装置であって、
a.DC24V以下の一般電力又はバッテリーと、電源制御用のPCBボードのパワーパックとを含むDC電源装置と、
b.前記PCBボードに接続され、点灯開始のために電力を送り、234nm~313nmの紫外線放射を発射し、端面に弧形シリンドリカルレンズのパッケージを有し、リニアグレーティング面の放射を透射する、リニアグレーティングGUV LEDランプビーズと、
c.滅菌空間チャンバーの一側又は他側に石英視窓又は孔があり、前記リニアグレーティングGUV LEDランプビーズに向かい、外から内へ放射光を投射して前記滅菌空間チャンバーに入らせる放射光進入の視窓と、
d.両端に開口があり、その内面が凹柱状又は連続的な弧形凸状、連続的な弧形凹状である反射鏡のうちの1つからなり、放射光の反射をリニアグレーティングにさせ、かつ内径が30mm以下にある滅菌空間チャンバーと、を少なくとも含む、多重リニアグレーティングGUV LED流体滅菌空間装置。
【請求項3】
前記リニアグレーティングGUV LEDランプビーズは、234nm~313nmの紫外線のLEDと、端面が内凹弧形柱状、外凸弧形柱状弧、連続的な内凹弧形柱状、連続的な外凸弧形柱状のシリンドリカルレンズのうちの1つのパッケージとを含み、前記弧形シリンドリカルレンズは、紫外線透過材料である石英、含フッ素重合体、ポリジメチルシロキサン、ポリイミドなどのうちの1つからなる透射性リニアグレーティングGUV LEDランプビーズである、請求項2に記載の多重リニアグレーティングGUV LED流体滅菌空間装置。
【請求項4】
滅菌空間装置は、少なくとも1つ以上の透射性リニアグレーティングGUV LEDランプビーズを含み、前記滅菌空間チャンバーの一側又は他側の視窓に取り付け、前記流体滅菌空間装置のGUV放射源とする、請求項3に記載の多重リニアグレーティングGUV LED流体滅菌空間装置。
【請求項5】
前記滅菌空間チャンバーの材料には、両側に開口を有する中空の石英管を使用し、その外面には、高反射アルミニウム層が塗布され、又は、アルミニウム反射層が真空蒸着され、リニアグレーティングGUV LEDランプビーズの通道である透明な視窓を予め設置され、前記視窓通道又は孔が1つ以上であり、放射を内径が30mm未満の流体滅菌空間チャンバーに入らせる、請求項2に記載の多重リニアグレーティングGUV LED流体滅菌空間装置。
【請求項6】
前記滅菌空間チャンバーは、金属アルミニウム又はテトラフルオロエチレンで加工され、その内面が方形又は円形であり、かつその内面に連続的な外凸弧形柱状、連続的な内凹弧形柱状の反射鏡の1つを形成し、前記滅菌空間チャンバーに孔通道を予め設置され、前記リニアグレーティングGUV LEDランプビーズの照射視窓とし、前記滅菌空間チャンバーは、両端に開口があり、内径が30mm未満であり、流体が前記滅菌空間チャンバーを流れて放射滅菌される、請求項2に記載の多重リニアグレーティングGUV LED流体滅菌装置。
【請求項7】
前記滅菌空間チャンバーの材料には、両側に開口を有する中空の金属アルミニウム又はテトラフルオロエチレンを使用し、側辺にリニアグレーティングGUV LED滅菌ランプビーズの通道孔を予め設置され、中間に透明な中空の石英管又は中空のフッ素樹脂管を挿入し、内径が30mm未満で、流体滅菌空間チャンバーとする、請求項6に記載の多重リニアグレーティングGUV LED流体滅菌空間装置。
【請求項8】
前記滅菌空間チャンバーは、材質が中空の石英管又は中空のフッ素樹脂管であり、裏面に高反射アルミニウムをめっきし、水、汚水、廃水を含む滅菌装置に用いられる、請求項5又は7に記載の多重リニアグレーティングGUV LED流体滅菌空間装置。
【請求項9】
その外枠内にバッテリー装置を含み、前記バッテリーのワーパックによって電力を提供し、被動式多重リニアグレーティングGUV LED流体滅菌空間装置とする、請求項6に記載の多重リニアグレーティングGUV LED流体滅菌空間装置。
【請求項10】
一端面に設置された送風装置と、他端面に設置されたフィルターとをさらに含み、その外枠には、電源共電装置としてバッテリーを予め設置し、主動式多重リニアグレーティングGUV LED流体滅菌空間装置とする、請求項9に記載の多重リニアグレーティングGUV LED流体滅菌空間装置。
(【請求項11】以降は省略されています)
発明の詳細な説明
【技術分野】
【0001】
本発明は、多重リニアグレーティングGUV LED流体滅菌技術に属し、より具体的には、急速消毒、滅菌、流体の大流量浄化のための多重リニアグレーティングGUV LED流体滅菌方法及びその滅菌空間装置に関する。
続きを表示(約 17,000 文字)
【背景技術】
【0002】
目に見えない紫外線を放出するUV LED(Ultraviolet Light-Emitting Diode、紫外線発光ダイオード)は、例えば、飲料水や飲食用品を消毒するための強力な消毒滅菌ツールとして使用されている。紫外線放射による消毒は、薬物や化学物質を使用する必要がなく、効率的に消毒することができ、安全だけでなくAOC、DOCなどの二次汚染がないため、理想的な消毒方法とされている。
【発明の概要】
【発明が解決しようとする課題】
【0003】
しかし、現在知られているUVC LED消毒滅菌装置には多くの欠点がある。
1.まず、全ての紫外線が効果的に消毒滅菌できるわけではない。紫外光は、病菌のDNA又はRNAの光吸収帯域でなければならず、この光量子を吸収できてこそ化学的な役割を果たすことができるからである。
2.吸収された放射線量は、DNA又はRNAを溶解又は鎖切断するのに十分でなければならず、これにより、病菌は不活性化されて伝染力を失ったり、分解されて消滅されたりする。したがって、DNA又はRNAが吸収する波長帯域234nm~313nmには、その波長がUVB及びUVCのほんの一部を含むことは最も有効な滅菌帯域であり、GUV(Germicidal Ultraviolet、滅菌紫外線)放射滅菌光と呼ばれる。
また、UV LEDには次の欠点がある。
a.UV LEDの発光角度θに関し、LED発光強度が最高点から50%に減衰するまでの夾角は均一性の公差が50%以上であるが、放射線量のある環境位置の差が大きいため、網呑舟の魚を漏らして滅菌率を高めることが困難である。
b.大きな照射角度は放射の散乱を招き、一般LED光は3D発散錐体であって面積が大きいため、放射線量の単位面積当たりに強度が弱い。このことにより、この放射は急速流動する流体を効果的に浄化することができない。K=I×tのため、放射線量Iが低い場合、病菌を不活化させる用量K値までに累積するために時間tの増加が必要である。
c.放射の照射角度が制御されていないと紫外線が漏れ、消毒区の外に漏れて紫外線による環境汚染を引き起こす可能性があり、これは人体に接触した時に傷害をもたらす。
d.現在、UV LED消毒滅菌装置は、大部分が流体の方向と水平を呈し、しかも放射強度が距離の二乗に反比例する。このため、放射を累積するエネルギーの効率を比較的に低く、十分な致死量の放射強度を速やかに累積することができない。このことにより、相対的に低い流体処理効率をもたらす。
e.反射光の有効な適用に乏しく、現在のUV LED設計は行列配列を主とし、放射は流体と平行で、反射の設計がないため、放射は1回使用されるだけで発散し、放射エネルギーの浪費をもたらす。
このように、非流体滅菌、例えば静止物体の表面滅菌では、バッチ処理の問題について、時間をかけて放射強度を累積することができるので、静止物体を長時間照射して滅菌の問題は大きくないが、流動して連続処理が必要な空気や水などの流体については、膨大な流量を短時間で処理しなければならず、流体が滞留して十分な滅菌エネルギーを累積するのを待つことができないため、滅菌率に問題がある。しかも、流体消毒は、全て連続処理であって開放的な空間を使用しなければならず、光の漏れを制御できなければ、放射は人体の皮膚、目を傷つけやすい。
従来のUV LED消毒滅菌装置の紫外線は、放射強度が不均一で強度が不足しており、流体に対して迅速かつ大流量の滅菌装置を満たすことができないため、高効率で安全な技術を提供する必要があった。
【課題を解決するための手段】
【0004】
上記の課題を解決するために、本発明の主な目的は、2回のMaddox Rod放射光経路による設計を用いることである。1回目は、GUV LED放射光がシリンドリカルレンズを介してシリンドリカルレンズの方向に垂直なリニア2D滅菌グレーティング投射光を形成し、視窓を介して滅菌空間に導入され、さらに滅菌空間の内面の柱状反射鏡によって反射される。2回目は、Maddox Rod反射及び反反射により、多重リニアグレーティングGUV LED放射光を形成する。
本発明の流体滅菌方法は、中空の柱状管内に有効な滅菌空間チャンバーを形成し、前記滅菌空間を流れる水の滅菌を行うことで、水の滅菌空間チャンバーとする。
本発明の他の流体滅菌方法では、前記流体は空気であり、前記滅菌空間装置を流れて空気の滅菌を行い、空気の滅菌装置とする。
本発明の更に他の方法は、滅菌処理された清浄な空気をマスク、口鼻カバー、フェイスシールドと鼻との間に送り、正圧マスクを形成する。
以上の目的を達成するために、本発明は、リニアグレーティングGUV LED流体滅菌方法及びその滅菌空間装置を提供し、リニアグレーティングGUV LEDランプビーズは、弧形シリンドリカルレンズのパッケージを有し、弧形シリンドリカルレンズは、凹面弧形又は凸面弧形又は連続凹柱状又は連続凸柱状を有する柱状体レンズであり、リニアグレーティングGUV LEDランプビーズが射出するUV紫外線は、端面に被覆された弧形シリンドリカルレンズを通過し、放射が柱軸と垂直な面を通過する際に、発散率が変わらず、他の面で不等量の屈折を行い、最後に柱軸方向と垂直な光線を形成する。この互いに平行な光線は外に延伸して光平面を形成し、リニアグレーティング平面と呼ばれる。つまり、従来の発射角度は3D球面型の発散であり、弧形シリンドリカルレンズは、垂直面の2D放射光線を形成し、この光線が柱状の垂直面に、リニアグレーティングのような断面のような多くの平行な光平面を形成する。放射強度は、距離の二乗に反比例し、2Dと3Dとの距離面積比の差は大きい。本発明のグレーティングGUV LEDの放射強度は、一般的なUVCランプビーズよりずっと強い。放射光は線形に射出され、滅菌空間装置の側辺に予め設置された視窓を介し、外から内へ照射されて滅菌空間チャンバーの内部に入り、断面に入射された光に側から垂直し、2回目の光路は、高反射柱状体に照射されるように設計され、その反射光は再び滅菌空間チャンバーの内面の連続柱状反射鏡によって反射されると、その経路もリニアグレーティング面のように連続柱状反射鏡に垂直になり、チャンバー内の投射光及び反射光又は反反射光は同じ象限内にあり、互いに平行な多重リニアグレーティング面光は放射のオーバーラップ率を増加し、放射が重畳で増強され、放射が閉鎖された環境で反射されるようなものである。クローズドシステムのサムナ放射照射原理に基づいて、UVC帯域に対する金属アルミニウムの反射率R=90%で計算する:E=ED+ER、EDは原放射照度であり、ERは反射放射照度である。ER=ED×(R/(1-R))、E全放射=1(本来の光源)+9(反射の重畳)=10を計算する。このように10粒のGUV放射強度を同等する1粒を配置し、放射の反射光を再利用し、急速滅菌の需要に有益である。放射の均一性は重畳により均一化され、かつ高反射光を重複利用して放射強度が大きくなり、滅菌効率が高い。これは、本発明に係る装置の1つ目の効果である。2Dのリニアグレーティング面は、放射経路の方向が制御可能になり、柱状反射鏡の垂直方向のみで、放射は柱状断面の方向へ反射し、制御された放射方向により、漏れて環境を汚染しにくい。これは、本発明に係る装置の2つ目の効果である。紫外線滅菌の利点はまた、地球上にはまだUV耐性を持つ病毒菌の出現が発見されていないが、放射が直線を走行することで病菌が隠れやすいことがその欠点であり、投射光と反射光及び反反射光は同じ象限にあるが、反射する放射の角度は入射角がずっと方向を変えているため、反反射光も何度も変わり、光が直線の固定角度だけを走行する欠点を解決したことにある。本発明の方法により、全方位の放射角度を形成し、病菌が逃げ場を失うので消滅され、滅菌率が向上する。これは、本発明に係る装置の3つ目の効果である。UVCさえであれば殺菌できるわけではなく、微生物は、有莢膜と無莢膜とに分けられ、莢膜の材質はタンパク質なので、その吸収ピークは220nmであり、220nmのUVCであればタンパク質を破壊し、滅菌することができる。しかし、無莢膜の病菌に対しては無効である。本発明のGUVは、DNA吸収波長範囲(234nm~313nm)をとり、病菌であれば必ずDNAがあり、最適な滅菌紫外光GUVとなることは、本発明の4つ目の効果である。これらは、全て本発明の方法の効果及び特徴である。
本発明のリニアグレーティングGUV LEDランプビーズでは、端面が弧形シリンドリカルレンズで被覆され、前記弧形シリンドリカルレンズは、凸型弧形柱状体、凹型弧形柱状体、連続的な凸型弧形柱状体、又は連続的な凹型弧形柱状体のうちの1つのレンズによってパッケージされてもよい。本発明のリニアグレーティングGUV LEDランプビーズの柱状レンズの材料は、石英、含フッ素重合体、ポリジメチルシロキサン(polydimethylsiloxane、PDMS)、ポリイミド(polyimide、PI)などのうちの1つの紫外線透過材料からなってもよく、弧形シリンドリカルレンズのパッケージのGUV LEDリニアグレーティングランプビーズを形成する。
本発明の他の実施例では、任意の紫外線が外から内へ照射されて高滅菌空間チャンバーに入ることを許容する視窓を含み、前記視窓は紫外線が透過可能な石英、又は孔であってもよく、リニアグレーティングGUV LEDランプビーズに接続されることができる。リニアグレーティング放射は、側面から滅菌空間チャンバーに入り、前記チャンバーの材料は中空の石英管であり、その外壁には高反射アルミニウム、又は石英管が組み合わせられている。外面のアルミニウムの真空蒸着層には、視窓だけを予め設置してGUV LEDを通過させ、又は高反射金属アルミニウムによって加工される。側の視窓から入った放射は、高反射柱状体に当たり、多重リニアグレーティング反射層を再び形成する。この反射層と反反射層とはいずれもリニアグレーティング照射であり、放射は同じ象限にあり、放射の重畳機会を増加することにより、放射光を増強して光の均一性がよくなり、このように構成された滅菌空間装置である。
本発明の多重リニアグレーティングGUV LED流体滅菌装置では、1つ以上のリニアグレーティングGUV LEDランプビーズを含み、放射強度を増強するようにGUV LED滅菌光を2D線形透過に修正する。少なくとも1つの実施例では、本発明のリニアグレーティングGUV LEDランプビーズは、互いに直列、並列されたり、アレイに配置されたりすることができる。そのDC電源装置は、DC24V以下の一般電力又はバッテリーによって導入してPCBボードの電源の供給を制御し、リニアグレーティングGUV LEDランプビーズ又は抽風機を点灯するために用いられる。
本発明の内凹型弧形リニアグレーティングGUV LEDランプビーズには、石英管の外側に予め設置された視窓を置いて、かつ前記中空の石英管が弧形シリンドリカルレンズの内凹弧面の柱状端に接合され、滅菌空間チャンバーの横軸を弧形シリンドリカルレンズの横軸に平行させる。弧形シリンドリカルレンズの曲面端の接合処が透明視窓の外壁である以外、他の石英管の外壁にはアルミニウム金属紫外線反射表面コーティング、又は真空蒸着のアルミニウム反射層を有し、かつ滅菌空間チャンバーは両端面に開口を有し、流体が滅菌空間チャンバー内を流れるようにし、多重リニアグレーティングGUV LED流体消毒滅菌処理の空間装置とする。
本発明のリニアグレーティングGUV LEDランプビーズは、アルミニウム金属材料で作られた滅菌空間チャンバーに接続される。その中空のアルミニウム管壁の内部の表面は、連続凸状、又は連続凹状の弧形柱状反射鏡のうちの1つであり、かつ両端面に開口を有する。前記中空の内管壁は、円形、矩形、正方のうちの1つであり、その内径又は孔径の直径は、30mm以内であり、かつその片側に孔が予め設置され、リニアグレーティングGUV LEDランプビーズを取り付けるための視窓口とする。前記視窓孔は、1つ以上であってもよく、リニアグレーティングGUV LEDランプビーズは、この孔を介して放射を滅菌空間チャンバー内に照射し、外から内へ照射して断面が柱状反射鏡に垂直な放射性グレーティング面を形成し、反射又は反反射の放射の位相は異なるが、いずれも柱状断面に多重垂直し、同じ断面象限にあり、放射のオーバーラップ率を高め、射線強度がより強くてより均一になり、多重リニアグレーティングGUV LED流体滅菌空間チャンバーとすることができる。
上述の実施例のように、アルミニウム中空管の内部には、リニアグレーティングGUV LEDランプビーズを取り付けるための視窓口として同じ透明な石英管が組み合わせられている。リニアグレーティングGUV LEDランプビーズは、この孔を介して放射を照射して石英管に入って滅菌石英管の空間チャンバー内に入り、外から内へ照射して断面が柱状反射鏡に垂直する放射性グレーティング面を形成し、反射又は反反射された放射は、アルミニウムを外に被覆される連続柱状反射鏡によって反射され、再び滅菌空間内に入る。反射光と反反射光との位相は異なるが、いずれも柱状断面に多重垂直し、同じ断面象限にあり、放射のオーバーラップ率を高め、射線強度がより強くてより均一になる。水流体の滅菌空間チャンバーとして、前記チャンバーの内径が30mm以内に制限し、GUVは高エネルギーであるが透過度が低く、水中にはカルシウム、マグネシウム、シリコン、酸素、窒素などのイオンが常に存在し、GUV透過度を大きく影響し、殺菌率を確保するために、制限を設けている。
本発明のリニアグレーティングGUV LEDランプビーズ装置は、複数のリニアグレーティングGUV LEDランプビーズを含み、前記ランプビーズは1つ以上であってもよく、かつ前記複数のGUV LEDランプビーズは、放射強度を高めるように、滅菌空間の同じ側又は異なる側に配置されてもよい。
本発明のリニアグレーティングGUV LEDランプビーズでは、その波長が234nm~313nmの間にあり、アインシュタインの光量子定理によれば、病菌のDNA又はRNAを溶解することは、その光波の吸収帯域と関係があり、吸収される光量子は、化学作用のエネルギー変換があり、前記DNA又はRNAの化学結合を溶解して破壊することができ、切断されたDNA又はRNAにより病菌が活性を失い、消毒滅菌と呼ばれる。国際照明委員会(CIE)の公表によると、その吸収ピークが265nmであり、その谷が234nm~313nmであり、本特許のリニアグレーティング紫外線滅菌の帯域は、234nm~313nmであってGUV LEDと呼ばれ、一部のUVC及び一部のUVBの波長を含み、シリンドリカルレンズによって修飾され、Maddox Rod透過原理に基づいて放射光を線形に修正し、その光源は一点ではないため、多点の光源が複数の線形の互いに平行な線状投射を形成し、リニアグレーティング投射と呼ばれ、本発明のリニアグレーティングGUV LEDランプビーズを形成する。
本発明はまた、前記リニアグレーティングGUV LED流体滅菌装置を含むシステムを提供する。少なくとも1つの実施例では、前記システムに設置される抽風機構及び前縁のフィルターをさらに含み、空気を主動的に吸い込み、多重リニアグレーティングGUV LEDランプビーズの滅菌空間チャンバーを通過し、空気はフィルターを先に経て顆粒状の異物を除去され、それから滅菌空間の中空チャンバー内に入り、紫外線に曝されて滅菌された後、清浄な空気は鼻スリーブを経てマスク、呼吸器、鼻カバー、フェイスシールド、ヘッドカバー又はつなぎのうちの1つに入り、正圧マスクを形成して人々に使用される。他の実施例では、かつ本発明の滅菌装置は、保護カバー着用者の出気口に設置され、前記保護カバーは不通気の高分子で作られ、空気又は酸素の進入口を備え、保護カバー内に正圧を形成させ、使用済みの空気をこの出風口から排出し、廃気が保護カバーから離れる前に、必ず多重リニアグレーティングGUV LED流体滅菌装置を先に通じて、滅菌後の空気を環境空間に戻し、汚染や病菌のない環境を形成する。
本発明はまた、リニアグレーティングGUV LED流体滅菌方法及びその滅菌空間装置を提供し、少なくとも1つの実施例において、前記流体滅菌空間装置は、水液の流体滅菌用として、例えば蛇口、水飲み器、出水口、排水口、汚水処理器、廃液処理器及び医療廃棄物の液体処理器と配置又は組み合わせられる。少なくとも1つの実施例では、流体処理器は、消毒滅菌空間の上流端に設置されたフィルターをさらに含む。したがって、GUV LED装置は、消毒器、滅菌器、清浄機、又は滅菌器として使用され得る空気流体処理器である。
本発明は、多重リニアグレーティングGUV LED流体滅菌方法であって、前記方法のステップは以下を含む。
1.DC電源装置を起動する:前記パワーパックは、DC24V以下の一般電力又はバッテリーであってもよく、電源供給接点を介して制御電源PCBボードに電力を送り込むことができる。
2.リニアグレーティングGUV LEDランプビーズ:前記リニアグレーティングGUV LEDランプビーズを点灯して234~313nmの紫外線放射を発射し、シリンドリカルレンズを介し、放射を互いに平行に発射させてリニアグレーティング面を形成する。
3.放射視窓装置:前記視窓装置は、滅菌空間チャンバーの側辺にあり、GUVが透過する石英視窓又は予め設置されたGUV LED放射が入る孔であってもよく、放射は、外から内へ照射され、垂直に滅菌空間チャンバーに入る。
4.滅菌空間チャンバー:前記装置は両端開口であり、内面が柱状反射鏡であり、その側面には放射が入る視窓を予め設置し、GUV放射光は滅菌空間チャンバーの内面に、多重リニアグレーティング反射と反反射とを行い、処理対象の流体は、流動方向の一端から滅菌空間チャンバーに入り、滅菌曝露処理を行い、滅菌処理された流体は滅菌空間チャンバーの出口端から排出される。
これらのステップを経て完成されたリニアグレーティングGUV LED流体滅菌方法では、放射は、側から滅菌空間チャンバーに入り、その反射経路が滅菌空間チャンバーの柱状構造に垂直し、したがって、滅菌空間の内部の紫外線の射線方向は、柱軸に垂直な互いに平行なリニアグレーティング面を形成し、チャンバー内の柱状によって繰り返し反射されて全て同じ象限にあり、放射の重畳で確率を増加するため、放射強度を増加し、かつ複数回の重畳によって放射の均一性もより優れている。なお、射線経路は全てチャンバーの柱体に垂直し、紫外線が滅菌空間チャンバー内に制限されることにより、紫外線の漏洩を防止し、二次放射による環境汚染を防止することができる。
本発明の技術は、蛇口、水飲み器、出水口、排水口、汚水処理器、廃液処理器、及び医療廃棄物の液体、又は呼吸用空気や酸素、又は医療廃気などの流体に対する滅菌処理装置に用いられる。
本発明の滅菌空間装置の本体は、流体を通過させるために機能し、GUV LED滅菌光を滅菌空間で留めさせて働く空間でもあり、紫外線を漏れて環境を汚染しないようにする。GUV LED滅菌光は、滅菌できて薬剤抵抗性もないが、人体の皮膚、目を傷つけることもあるので、GUV LED滅菌光を応用する際の最善の方法は、滅菌空間装置の内部で滅菌作業を処理することにあるが、GUV LED滅菌光については、空気中に暴露して人体に傷害を与えさせないようにする。処理する必要がある連続的に流れる空気や水に対して、処理時間が短く、流量が大きく、かつ開放的な空間でGUV LED滅菌光の漏れを制御することができることは、本発明の特色である。本発明の滅菌空間装置では、GUV LED滅菌光源は、まずシリンドリカルレンズによって1回目に修正され、光を弧形シリンドリカルレンズに垂直にして、リニアグレーティングを形成し、流体滅菌空間チャンバーの側辺の視窓孔に射出し、放射が外から内へ照射されて滅菌空間チャンバーに入り、GUV LED滅菌光に対して2回目に反射式柱状リニアグレーティング修正を行い、GUV LED滅菌光を滅菌空間チャンバー内に、互いに平行な多重リニアグレーティング面を形成させる。前記滅菌空間チャンバーは、GUV LED滅菌光の横断柱状面の方向の反射によって、各グレーティング面は反射の入射角が異なるため、反反射のグレーティング面の方向も変化するが、光の反射方向は、常に柱状方向に横断されて互いに平行であり、GUV LED多重リニアグレーティング面と呼ばれる。GUV LED滅菌光は、複数回に反反射され、全て同じ象限にあって放射のオーバーラップ率を高め、放射を均一化にさせて放射強度を増加する効果がある。GUV LED滅菌光を内部で反射する場合、反射光は入射角度の異なりに伴って、反射光の角度も何度も変え、360度にGUV光があり、ほこりに隠れた病毒菌は逃げ場がなく、滅菌されない病毒菌がないようにすることができ、これは本発明の方法における滅菌空間装置の効果である。
本発明は、多重リニアグレーティングGUV LED流体滅菌方法及びその滅菌空間装置である。その空気処理消毒不活化の特性を用いて、処理された空気を抽風機構と送風機構とによって、鼻スリーブを介してフェイスシールド、マスク、鼻カバー内に搬送する。清浄な空気が入ってその口鼻の周りに正の圧力を形成させ、ウイルスが負圧によって口鼻に入るのを防止することができ、そのため、正圧酸素が酸素の肺への進入を助け、肺部が吐き出す高濃度の二酸化炭素及び廃熱エネルギーは、正圧のためマスクの外へ速やかに排出されることができ、マスクを着用する人の健康を保護して快適である効果がある。
さらに、不通気の密閉式フェイスシールド、マスク、鼻カバーを総称して保護カバーと呼び、その廃気の出口に、本発明の多重リニアグレーティングGUV LED滅菌方法における滅菌空間装置を取り付け、さらに着用者から病毒菌を含む排気を処理し、先に滅菌してから排出し、他人に感染しないようにして、例えば風邪、肺結核、鳥インフルエンザ、新型コロナ肺炎などの患者が着用する。
本発明の多重リニアグレーティングGUV LED滅菌方法及びその滅菌空間装置において、その水を処理して消毒滅菌の特性を取り、飲用水の出口に適用し、流動水の処理器とする。さらに、それを装置と連結し、水の処理量を増大させ、家庭で食材の洗浄、入浴に用いることもできる。さらにまた、医療廃水のような汚染恐れのある排水口に取り付けて消毒不活化とし、例えば歯医者のうがい水の病毒菌の汚染を低減する装置とすることもできる。
【発明の効果】
【0005】
従来技術と比べた本発明の利点及び積極的な効果は、本発明の多重リニアグレーティングGUV LED流体滅菌方法及びその滅菌空間装置が、流体滅菌の作業を滅菌空間チャンバー内に制御して処理し、その中には、リニアグレーティング放射の利得強度の光学ランプビーズの設計を含み、リニアグレーティング2D滅菌光を用いて、UV高反射率材料を外から内へ照射し、柱状リニアグレーティング反射又は反反射放射を利用して、同じ象限領域に共存し、放射の重畳機会を増加し、滅菌空間内の放射線量を増強させ、滅菌時間を短縮するから、線形反射鏡装置の放射方向が制御されているため、滅菌空間から漏れにくくて環境に優しく、二次汚染の環境問題がない。
【図面の簡単な説明】
【0006】
内凹の弧形シリンドリカルレンズからなるリニアグレーティングGUV LEDランプビーズの模式図である。
連続的な内凹の弧形シリンドリカルレンズからなるリニアグレーティングGUV LEDランプビーズの模式図である。
外凸弧形シリンドリカルレンズからなるリニアグレーティングGUV LEDランプビーズの模式図である。
連続的な外凸弧形シリンドリカルレンズからなるリニアグレーティングGUV LEDランプビーズの模式図である。
本発明の流体滅菌空間装置の模式図である。
本発明の内円柱状を有する流体滅菌空間装置の断面模式図である。
本発明の内円形の連続的な弧形凸柱状を有する流体滅菌空間装置の断面模式図である。
本発明の内円形の連続的な弧形凹柱状を有する流体滅菌空間装置の断面模式図である。
本発明の内方形の連続的な弧形凸柱状を有する流体滅菌空間装置の断面模式図である。
本発明の内方形の連続的な弧形凹柱状を有する流体滅菌空間装置の断面模式図である。
本発明の透明な内円柱状と内高反射の円形の連続的な弧形凹柱状を結合する流体滅菌空間装置の断面模式図である。
本発明の空気流体滅菌空間装置の自動車のエアコンにおける滅菌の適用例の模式図である。
本発明の空気流体滅菌空間装置のオープンマスクにおける滅菌の適用例の模式図である。
本発明の主動式空気流体滅菌の適用例の模式図である。
本発明の正圧フェイスシールドの空気流体滅菌の適用例の模式図である。
本発明の正圧マスクの空気流体滅菌の適用例の模式図である。
本発明の正圧鼻カバーの空気流体滅菌の適用例の模式図である。
本発明の複数の管を並列する流体滅菌空間装置の模式図である。
本発明のリニアグレーティングGUV LED流体滅菌方法のフロー図である。
【発明を実施するための形態】
【0007】
本発明に係る多重リニアグレーティング紫外線殺菌(Germicidal ultraviolet、GUV)LED流体滅菌方法及びその滅菌空間装置について、本発明の目的、特徴及び効果を当技術分野の当業者が十分に理解させるように、以下に適切な実施例を挙げ、添付の図式と合わせて、本発明の技術内容を詳細に説明する。
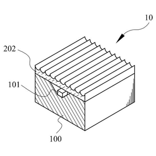
図1A、図1B、図1C、図1Dに、本実施例で設置されたリニアグレーティングGUV LEDランプビーズ10の断面模式図を示す。図1Aに示すように、波長が234nm~313nm帯域の紫外線放射である滅菌光を発射する、導線フレーム基板100にパッケージされたGUV LEDダイ101と、パッケージされた前記GUV LEDダイ101の上に設置されて紫外線透過材料によって作られた内凹弧形シリンドリカルレンズ102とを含む。或いは、図1Bに示すように、他の実施例では、前記GUV LEDダイ101は、前記導線フレーム基板100に同様にパッケージされる。ただ、前記ダイ101にパッケージされるのは、連続的な内凹弧形シリンドリカルレンズ202である。また、図1Cに示すように、前記GUV LEDダイ101にパッケージされるのは、紫外線透過材料によって作られた外凸弧形シリンドリカルレンズ302である。なお、図1Dに示すように、前記GUV LEDダイ101にパッケージされるのは、連続的な外凸弧形シリンドリカルレンズ402である。
前記各弧形シリンドリカルレンズ102、202、302、402の紫外線弧形柱状の透過材料は、石英、サファイア、フッ素化ポリマー、ポリジメチルシロキサン(polydimethylsiloxane、PDMS)、ポリイミド(polyimide、PI)などのうちの1つである。一方、弧形シリンドリカルレンズ102、202、302、402のパッケージ用を形成するのは、Maddox Rod透過光の原理に基づいて、前記弧形シリンドリカルレンズ102、202、302、402の柱状に垂直して両側に散乱する線形光を形成し、GUV LED発光角度を互いに平行な線形2D滅菌光に制限し、外に延伸してグレーティング面になり、多くの互いに平行な光照面をグレーティングのように放射をリニアグレーティング面として照射し、照射距離の長さは、前記弧形シリンドリカルレンズ102、202、302、402の曲率によって決定され、前記導線フレーム基板100を組み合わせ、前記GUV LEDダイ101をパッケージして本発明に係る透射性リニアグレーティングGUV LEDランプビーズ10になる。
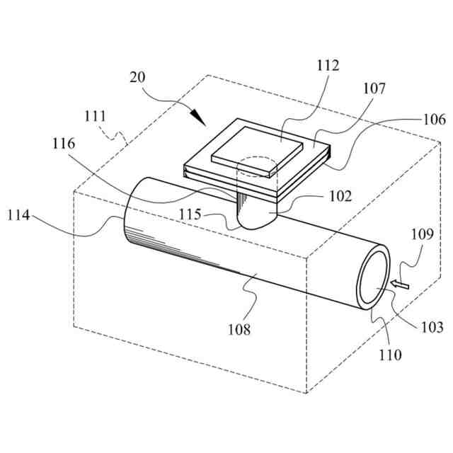
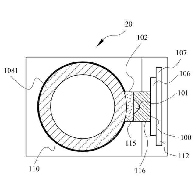
図2に、本発明のリニアグレーティングGUV LED流体滅菌空間装置20の実施例の模式図を示す。リニアグレーティングGUV LED流体滅菌空間装置20は、外枠111を含み、外枠111は、金属アルミニウム又はアルミニウム粉を添加した高分子の材料で成形されるものであってもよい。外枠111の側には視窓孔116があり、内凹弧形シリンドリカルレンズ102を有するリニアグレーティングGUV LEDランプビーズ10(図1A)を内蔵する。前記リニアグレーティングGUV LED流体滅菌空間装置20は、固定のためのGUV LED固定回路基板106を含み、前記GUV LEDは回路基板106に固定され、電源を管理するための制御電源PCBボード107が固定されており、前記制御電源PCBボード107には、電源供給接点112があり、DC電源又は後述するバッテリー113に電源として接続されている。前記リニアグレーティングGUV LED10の内凹弧形シリンドリカルレンズ102は、石英管108の外管壁側に設置され、かつ内凹弧形シリンドリカルレンズ102と石英管108との接合部分の石英視窓115を除き、石英管108の外壁表面全体にアルミニウム粉反射層110が塗布され、又はアルミニウム金属が真空蒸着され、放射の内凹柱状反射鏡となる。放射は柱状石英管108の反射により、柱状断面に平行なリニアグレーティング面を形成し、多重往復に反反射して放射強度を増加させる。石英管108の内部の中空チャンバーである滅菌空間チャンバー103は、その直径が30mm以下であり、中間には滅菌処理空間として流体を通過させ、かつその両端面に開口があり、流体が109方向を通って石英管108の滅菌空間チャンバー103内に流入させることができ、滅菌後に流体は出口端114から流出して、流動水、飲料水、汚水、医療廃水などの消毒、滅菌処理装置として、空気滅菌用としてもよい。
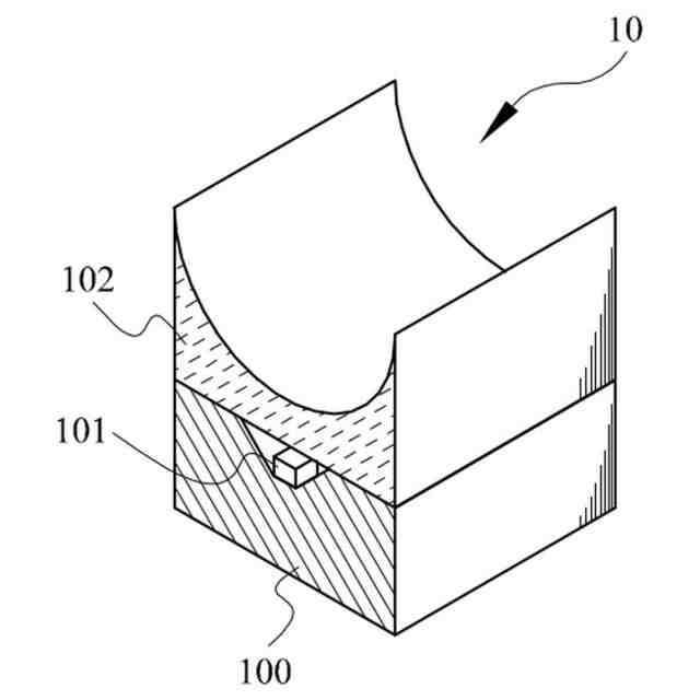
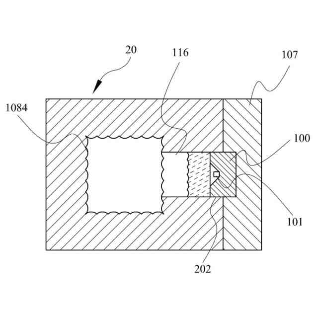
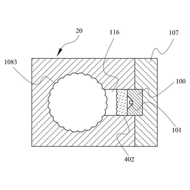
図3A、3B、3C、3D、3E、3Fに、本発明による流体滅菌空間装置の断面模式図を示す。図3Aに示すように、前記リニアグレーティングGUV LED流体滅菌空間装置20は、石英を材料とする内円柱状の弧形柱状反射鏡1081の外に高反射アルミニウムをめっきして滅菌空間チャンバーを形成する構造であり、或いは、図3Bに示すように、金属アルミニウム又はテトラフルオロエチレンを用いて内円形に加工され、かつ連続凸柱状の弧形柱状反射鏡1082を有する滅菌空間チャンバーを形成し、或いは、図3Cに示すように、金属アルミニウムを用いて内円形に加工され、かつ連続内凹柱状の弧形柱状反射鏡1083を有する滅菌空間チャンバーを形成し、或いは、図3Dに示すように、金属アルミニウム又はテトラフルオロエチレンを用いて内方形に加工され、かつ連続外凸柱状の弧形柱状反射鏡1084を有する滅菌空間チャンバーをとし、或いは、図3Eに示すように、金属アルミニウム又はテトラフルオロエチレンを用いて加工され、かつ連続外凹柱状の弧形柱状反射鏡1085を有する滅菌空間チャンバーをとし、かつ、図3Fに示すように、図3Cのような内円柱状の弧形柱状反射鏡と、移動又は交換できGUV透過可能な中空の石英管又は中空のフッ素樹脂管1081と、図3Cのような連続内凹の弧形柱状反射鏡1083とを結合して滅菌空間チャンバーなどを形成し、その中の1種の滅菌空間チャンバーで実施し、前記リニアグレーティングGUV LEDランプビーズ10の構成構造を、GUV LED孔116、又は予め設置された石英視窓115を介して取り付け、前記滅菌空間チャンバーの直径又は幅が30mm以内にあり、リニアグレーティングGUV LED流体滅菌空間装置20を形成する。
また、図4に、本実施例のリニアグレーティングGUV LED流体滅菌空間装置20の適用例の模式図を示す。前記リニアグレーティングGUV LED流体滅菌空間装置20を自動車、飛行機のエアコンの送風口42と出風口窓41との間に取り付け、自動車、飛行機用空気流体滅菌装置とすることができる。
また、図5に、本実施例の被動式多重リニアグレーティングGUV LED流体滅菌空間装置20を示す。本実施例の被動式多重リニアグレーティングGUV LED流体滅菌空間装置20は、実施例4のものと大体似ているが、そのフレーム内にバッテリーを加えて共電し、被動式滅菌空間装置200を形成し、空気供給がすでにあるマスク、鼻カバー、又はフェイスシールドなどの不通気な有機材料からなる保護カバー1000に取り付け、鼻に近い位置に内嵌し、その外部を突貫させて保護カバー1000の開口端1001に曝露させ、末端に排気口1002を残す点が異なる。リニアグレーティングGUV LED流体滅菌空間装置20は、外枠111内にバッテリー113を用いた電源装置を加え、リニアグレーティングGUV LEDランプビーズ10を点灯し、滅菌空間チャンバー103に入り込んだ空気を側方から照射し、気体の排気口1002から廃気を排出する。前記滅菌空間チャンバー103は、空気を導入して前記保護カバー1000内に正圧を形成するための進気口1004を有し、口部に近接して空気膨張シワ溝1003を形成し、咳をしたときに気体が急速に膨張することに対する緩衝機能を提供し、病菌を含む滅菌排気を処理して、周囲の他人に感染しないようにし、感染症患者、又は話す必要がある仕事をする人に適用され、感染することを防止する。
図6に係る実施例は、主動式滅菌空間装置800をさらに含み、前記主動式滅菌空間装置800は、バッテリー113装置が外枠111内にあって同じ側又は他側に配置される電力を供給する主動送風機802及びエアフィルター803と、GUV LED固定回路基板106と、制御電源PCBボード107と、流体滅菌空間チャンバー103とを含み、滅菌空間チャンバー103の一端は鼻スリーブ801の遠端に接続され、送風機802は滅菌空間チャンバー103と鼻スリーブ801との間に設置される。滅菌空間チャンバー103の他端には、空気中の微粒子を濾過するためのエアフィルター803が設置されている。送風機802は主動的に空気を吸い込み、空気流がリニアグレーティングGUV LEDランプビーズ10によって曝され、滅菌空間チャンバー103を経て、空気流体滅菌処理をして滅菌し、滅菌後の清浄な空気が鼻スリーブ801介して着用者の鼻孔付近に送られ、出気孔808を経て導出されて着用者に清浄な空気を吸い込ませ、流体の主動式滅菌空間装置を形成する。
また、図7~図9に係る実施例は、図6に係る実施例と大体似ている。図7に示すように、滅菌後の清浄な空気が鼻スリーブ801を介してフェイスシールド804内の鼻孔付近に送られ、フェイスシールド804内に正圧を形成させ、図7に示すように、滅菌後の清浄な空気が鼻スリーブ801を介してマスク805内の鼻孔付近に送られ、マスク805内に正圧を形成させ、かつ、図9に示すように、滅菌後の清浄な空気が鼻スリーブ801を介して鼻カバー806内の鼻孔付近に送られ、鼻カバー806内に正圧を形成させる。
図7~図9に係る実施例では、フェイスシールド804、マスク805、鼻カバー806などの内部に正圧を形成することにより、着用者はより容易に呼吸することができ、かつ空気は、フェイスシールド804、マスク805、鼻カバー806の着用者が空気を吸い込む前に、リニアグレーティングGUV LEDランプビーズ10を介して滅菌される。処理済みの清浄な空気はフェイスシールド804、マスク805、鼻カバー806に送り込まれ、正圧環境がある空間を形成させ、吸気時に正圧で酸素が肺部に入りやすく、血液の酸欠でめまいすることがなく、吐気時に正圧関係で廃気が拡散しやすく、二酸化炭素も急速に拡散されてマスクの外に排気され、さらに水蒸気と熱気を一緒に送り出すように、前記フェイスシールド804、マスク805、鼻カバー806を着用している人を助ける。もう一度吸気すると酸素の量が多くなり、二酸化炭素の量が減少し、かつ湿熱や息苦しいことがなく、血液中の酸素含有量が高くなる。正圧のため、外界の汚れた空気がフェイスシールド804、マスク805、又は鼻カバー806内に入りにくく、着用者を病毒菌の感染から保護でき、本発明は正圧安全のフェイスシールド804、マスク805、又は鼻カバー806に適用できる。さらに、他のヘッドカバーや呼吸器などを含む。
図10に、本発明のリニアグレーティングGUV LED流体滅菌空間装置20の並列式大容量出力の実施例の模式図を示す。上述の多重リニアグレーティングGUV LED流体滅菌空間装置20の入口及び出口に、多通管継手モジュール10-1、10-2に連結して、流体処理量を増加させる。
図11に、本発明のリニアグレーティングGUV LED流体滅菌方法を示す。この方法は、以下のステップを含む。
11-1:DC電源装置を起動する。前記パワーパックは、DC24V以下の一般電力又はバッテリー113であってもよく、電源供給接点112を介して制御電源PCBボード107に電力を送り込む。
11-2:リニアグレーティングGUV LEDランプビーズに関し、制御電源PCBボード107が電力を送り、前記リニアグレーティングGUV LEDランプビーズ10を起動して点灯し、前記リニアグレーティングGUV LEDランプビーズ10は、シリンドリカルレンズを介してリニアグレーティング234nm~313nmの紫外線放射を発射し、互いに平行に発射させてリニアグレーティング面を形成する。
11-3:放射進入の視窓装置に関し、前記視窓装置は、滅菌空間チャンバー103の側辺にあり、GUVが透過する石英視窓115又は予め設置されたGUV LED放射が入る孔116であってもよく、放射が外から内へ照射する。
11-4:滅菌空間チャンバー放射は、滅菌空間チャンバー103内に入り、内面の柱状反射鏡によって再び反射され、多重リニアグレーティング反射と反反射とを行い、処理対象の流体は、流動方向109の一端から滅菌空間チャンバー103に入り、滅菌曝露処理を行い、滅菌処理された流体は滅菌空間チャンバー103の出口端114から排出される。
その中で、a.DC電源装置;b.リニアグレーティングGUV LEDランプビーズ;c.放射進入の視窓装置;d.滅菌空間チャンバー装置を用いて、本発明の多重リニアグレーティングGUV LED流体滅菌方法を完成する。
以上の実施形態は、本発明の技術的構想及び特徴を説明するためだけであり、その目的は、この技術を熟知している人に本発明の内容を理解させて実施することにあり、これによって本発明の保護範囲を制限することはできず、本発明の精神に基づいて実質的に行った等価な変化又は修飾は、全て本発明の保護範囲内に含まれるべきである。
【符号の説明】
【0008】
11-1~11-4 ステップ
10 リニアグレーティングGUV LEDランプビーズ
20 多重リニアグレーティングGUV LED流体滅菌空間装置
41 出風口窓
42 送風口
100 導線フレーム基板
101 GUV LEDダイ
102、202、302、402 弧形シリンドリカルレンズ
103 滅菌空間チャンバー
106 GUV LED固定回路基板
107 制御電源PCBボード
108 石英管
109 流動方向
110 アルミニウム反射層
111 外枠
112 電源供給接点
113 バッテリー
114 出口端
115 石英視窓
116 孔
200 被動式多重リニアグレーティングGUV LED流体滅菌空間装置
800 主動式多重リニアグレーティングGUV LED流体滅菌空間装置
801 鼻スリーブ
802 ファン
803 エアフィルター
804 フェイスシールド
805 マスク
806 鼻カバー
808 出気孔
1000 保護カバー
1001 開口端
1002 排気口
1003 空気膨張シワ溝
1004 進気口
1081 GUV透過可能な中空管
1082~1085 弧形シリンドリカルレンズ
10-1、10-2 多通管継手モジュール
R UVC反射率
E 全放射量
ED 原放射照度
ER 反射放射照度
この特許をJ-PlatPat(特許庁公式サイト)で参照する
関連特許
旺集光束國際有限公司
多重リニアグレーティングGUV LED流体滅菌方法及びその滅菌空間装置
1か月前
株式会社げんき
液体活性化装置
1か月前
新・産業洗浄株式会社
曝気装置
10日前
三浦工業株式会社
汚泥乾燥加熱釜
1か月前
株式会社ライトアース
水循環式水質浄化システム
1か月前
名古屋メッキ工業株式会社
溶存金属析出装置
1か月前
栗田工業株式会社
電気イオン濃縮装置
1か月前
スタンレー電気株式会社
流体除菌装置
4日前
スタンレー電気株式会社
流体除菌装置
1か月前
三浦工業株式会社
精製水供給システム
1か月前
栗田工業株式会社
逆浸透膜装置の運転方法
1か月前
オルガノ株式会社
UV照射装置
1か月前
WOTA株式会社
液性判定システム及び液性判定方法
1か月前
栗田工業株式会社
電気脱イオン装置の運転方法
1か月前
有限会社フリーウェー
浄水装置
1か月前
大成建設株式会社
中和処理システムと中和処理方法
10日前
ジヤトコ株式会社
排水回収システム
18日前
個人
海水の塩分除去装置と淡水製造方法
19日前
栗田工業株式会社
水処理拠点の状況診断支援システム
3日前
株式会社ジェイテクト
発酵装置
4日前
竹鶴油業株式会社
残渣処理プラント及び成形物の製造方法
1か月前
株式会社クボタ
有機性廃棄物の処理方法
10日前
株式会社ヘルスカンパニー
浴用剤の使用方法
1か月前
株式会社医道メディカル
水素及び水素溶解エクソソーム液発生装置
1か月前
三菱化工機株式会社
電界ろ過装置及び電界ろ過装置のろ材の製造方法
26日前
王子ホールディングス株式会社
排水処理方法
1か月前
東ソー株式会社
ニッケルと錯生成能力を持つ化合物を含有する水溶液の浄化方法
5日前
株式会社セルマップ
油吸着用の吸着体、及び油吸着用の吸着体の製造方法
1か月前
オルガノ株式会社
電気式脱イオン水製造システム及びその運用方法
10日前
株式会社大林組
汚泥処理施設及び汚泥処理方法
10日前
栗田工業株式会社
水・蒸気サイクル中の有機系溶存物質の除去方法
1か月前
WOTA株式会社
貯留槽及び水処理システム
3日前
株式会社クボタ
浄水処理方法および原水評価方法
10日前
キヤノン株式会社
液体中に溶存するガスの回収システム
1か月前
栗田工業株式会社
フッ化物イオン及びカチオン含有水の処理方法及び装置
5日前
荏原実業株式会社
防臭システム、防臭装置及び防臭方法
1か月前
続きを見る
他の特許を見る