TOP
|
特許
|
意匠
|
商標
特許ウォッチ
Twitter
他の特許を見る
公開番号
2025150950
公報種別
公開特許公報(A)
公開日
2025-10-09
出願番号
2024052118
出願日
2024-03-27
発明の名称
水処理装置
出願人
パナソニックIPマネジメント株式会社
代理人
個人
,
個人
,
個人
主分類
C02F
1/461 20230101AFI20251002BHJP(水,廃水,下水または汚泥の処理)
要約
【課題】イオン交換樹脂を用いなくても、硬水から金属イオンを効率的に除去する水処理装置を提供する。
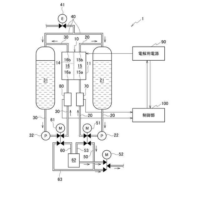
【解決手段】水処理装置1は、陽極12を備える陽極室15と、陰極13を備える陰極室16と、陽極室と陰極室とを仕切り、イオンを透過可能な膜14とを備え、電気分解により被処理水から酸性水とアルカリ性水とを生成する電解槽10を備える。水処理装置は、さらに、陽極室に流通する水の導電率を測定する第1の導電率測定部70と、陰極室に流通する水の導電率を測定する第2の導電率測定部80と、陽極と陰極との間の電圧又は電流を制御する制御部100とを備える。陽極室は酸性水が流通し、陰極室はアルカリ性水が流通する。制御部は、第1の導電率測定部により測定された水の導電率及び第2の導電率測定部により測定された水の導電率の少なくとも一方に基づき、定電流制御と定電圧制御とを繰り返す電解制御を終了する時間を決める。
【選択図】図1
特許請求の範囲
【請求項1】
被処理水から金属イオンを除去して、処理水を生成する水処理装置であって、
陽極を備える陽極室と、陰極を備える陰極室と、前記陽極室と前記陰極室とを仕切り、イオンを透過可能な膜とを備え、電気分解により前記被処理水から酸性水とアルカリ性水とを生成する電解槽と、
前記陽極室に流通する水の導電率を測定する第1の導電率測定部と、
前記陰極室に流通する水の導電率を測定する第2の導電率測定部と、
前記陽極と前記陰極との間の電圧又は電流を制御する制御部と、
を備え、
前記陽極室は前記酸性水が流通し、前記陰極室は前記アルカリ性水が流通し、
前記制御部は、前記第1の導電率測定部により測定された水の導電率及び前記第2の導電率測定部により測定された水の導電率の少なくとも一方に基づき、定電流制御と定電圧制御とを繰り返す電解制御を終了する時間を決める、水処理装置。
続きを表示(約 700 文字)
【請求項2】
前記制御部は、前記陽極及び前記陰極の間の投入電圧と前記電解制御を行った時間との積並びに前記陽極及び前記陰極の間の出力電流と前記電解制御を行った時間との積の少なくとも一方を算出し、
前記少なくとも一方の積が、前記第1の導電率測定部により測定された水の導電率及び前記第2の導電率測定部により測定された水の導電率の少なくとも一方に基づく所定の閾値を超えたときに前記電解制御を終了する、請求項1に記載の水処理装置。
【請求項3】
前記陽極室に接続され、前記酸性水が流通する第1の流路と、前記陰極室に接続され、前記アルカリ性水が流通する第2の流路と、をさらに備え、
前記第1の流路における前記陽極室の流入口側に前記第1の導電率測定部が設けられ、前記第2の流路における前記陰極室の流入口側に前記第2の導電率測定部が設けられている、請求項1又は2に記載の水処理装置。
【請求項4】
前記制御部は、前記陽極と前記陰極との間の電圧及び電流の少なくとも一方を変化させる、請求項1又は2に記載の水処理装置。
【請求項5】
前記陽極室に流通する水の導電率及び前記陰極室に流通する水の導電率が30~8000μS/cmであるときに、前記制御部は、前記陽極と前記陰極との間に印加する電圧を変化させる、請求項1又は2に記載の水処理装置。
【請求項6】
前記制御部は、前記陽極と前記陰極との間に印加する電圧又は電流を変化させることにより、定電流制御及び定電圧制御の一方から他方に切り替える、請求項1又は2に記載の水処理装置。
発明の詳細な説明
【技術分野】
【0001】
本発明は、水処理装置に関する。
続きを表示(約 2,000 文字)
【背景技術】
【0002】
従来より、硬水中の金属イオンを除去するためのイオン交換樹脂軟水器が知られている(例えば、特許文献1参照)。
【0003】
特許文献1のイオン交換樹脂軟水器は、硬水中の金属イオン(カルシウムイオンおよびマグネシウムイオン)をイオン交換樹脂により除去するものである。具体的には、ナトリウムイオンを表面に付着させたイオン交換樹脂を備える軟水器容器に硬水を流すことにより、硬水中の金属イオンをナトリウムイオンと置換し、硬水中から金属イオンを除去する。なお、硬水中に存在していた金属イオンは、イオン交換樹脂の表面に捕捉される。このようにして、硬水の硬度を低下させて軟水を生成する。
【先行技術文献】
【特許文献】
【0004】
特開2000-140840号公報
【発明の概要】
【発明が解決しようとする課題】
【0005】
しかしながら、特許文献1のイオン交換樹脂軟水器では、金属イオンを捕捉したイオン交換樹脂を再生する際に大量の塩水が必要であり、メンテナンスに手間が掛かるという問題がある。また再生処理を行うと、大量の塩水を含む再生排水が生じ、土壌汚染や下水処理の負荷が増大するという問題もある。さらに、イオン交換樹脂軟水器によって軟水化された処理水はナトリウムイオンの濃度が高く、地域によっては飲用水として推奨されない場合がある。このように、イオン交換樹脂を用いた水処理装置では、メンテナンス性および環境性という観点で改善の余地があった。
【0006】
本発明は、このような従来技術が有する課題に鑑みてなされたものである。そして、本発明の目的は、イオン交換樹脂を用いなくても、硬水から金属イオンを効率的に除去することが可能な水処理装置を提供することにある。
【課題を解決するための手段】
【0007】
上記課題を解決するために、本発明の態様に係る水処理装置は、被処理水から金属イオンを除去して、処理水を生成する水処理装置であって、陽極を備える陽極室と、陰極を備える陰極室と、前記陽極室と前記陰極室とを仕切り、イオンを透過可能な膜とを備え、電気分解により前記被処理水から酸性水とアルカリ性水とを生成する電解槽と、前記陽極室に流通する水の導電率を測定する第1の導電率測定部と、前記陰極室に流通する水の導電率を測定する第2の導電率測定部と、前記陽極と前記陰極との間の電圧又は電流を制御する制御部と、を備え、前記陽極室は前記酸性水が流通し、前記陰極室は前記アルカリ性水が流通し、前記制御部は、前記第1の導電率測定部により測定された水の導電率及び前記第2の導電率測定部により測定された水の導電率の少なくとも一方に基づき、定電流制御と定電圧制御とを繰り返す電解制御を終了する時間を決める。
【発明の効果】
【0008】
本開示によれば、イオン交換樹脂を用いなくても、硬水から金属イオンを効率的に除去することが可能な水処理装置を提供することができる。
【図面の簡単な説明】
【0009】
本実施形態に係る水処理装置の構成の一例を示す概略図である。
本実施形態に係る水処理装置の電解槽において、金属イオンの移動及び不溶化の状態を示す概略図である。
本実施形態に係る水処理装置の電解槽において、水素イオンの移動及び中和の状態を示す概略図である。
水に炭酸イオンが溶解している場合における、炭酸(H
2
CO
3
)、炭酸水素イオン(HCO
3
-
)及び炭酸イオン(CO
3
2-
)の存在比と、pHとの関係を示すグラフである。
本実施形態に係る水処理装置における電解制御を説明するための表である。
被処理水の導電率に対応する、電解制御時間、投入電圧と電解制御時間との積に対する閾値、出力電流と電解制御時間との積に対する閾値を示す表である。
定電流制御のみを行った場合、定電圧制御のみを行った場合、電解制御を行った場合における、被処理水の導電率と、金属イオンのイオン移動率及び不溶化率並びに軟水化率との関係を概略的に示すグラフである。
定電圧制御のみ、定電流制御のみ及び電解制御を行った際の、被処理水の導電率と消費電力との関係の一例を示すグラフである。
【発明を実施するための形態】
【0010】
以下、図面を用いて本実施形態に係る水処理装置について詳細に説明する。なお、図面の寸法比率は説明の都合上誇張されており、実際の比率と異なる場合がある。
(【0011】以降は省略されています)
この特許をJ-PlatPat(特許庁公式サイト)で参照する
関連特許
株式会社げんき
液体活性化装置
1か月前
新・産業洗浄株式会社
曝気装置
11日前
スタンレー電気株式会社
流体除菌装置
5日前
オルガノ株式会社
UV照射装置
1か月前
有限会社フリーウェー
浄水装置
1か月前
ダイハツ工業株式会社
有機物の分解処理装置
今日
ジヤトコ株式会社
排水回収システム
19日前
大成建設株式会社
中和処理システムと中和処理方法
11日前
個人
海水の塩分除去装置と淡水製造方法
20日前
株式会社ジェイテクト
発酵装置
5日前
栗田工業株式会社
水処理拠点の状況診断支援システム
4日前
株式会社クボタ
有機性廃棄物の処理方法
11日前
竹鶴油業株式会社
残渣処理プラント及び成形物の製造方法
1か月前
株式会社医道メディカル
水素及び水素溶解エクソソーム液発生装置
1か月前
三菱化工機株式会社
電界ろ過装置及び電界ろ過装置のろ材の製造方法
27日前
水ing株式会社
廃水処理装置および廃水処理方法
今日
株式会社大林組
汚泥処理施設及び汚泥処理方法
11日前
東ソー株式会社
ニッケルと錯生成能力を持つ化合物を含有する水溶液の浄化方法
6日前
オルガノ株式会社
電気式脱イオン水製造システム及びその運用方法
11日前
株式会社クボタ
浄水処理方法および原水評価方法
11日前
WOTA株式会社
貯留槽及び水処理システム
4日前
キヤノン株式会社
液体中に溶存するガスの回収システム
1か月前
栗田工業株式会社
フッ化物イオン及びカチオン含有水の処理方法及び装置
6日前
株式会社タカギ
浄水カートリッジ
11日前
荏原実業株式会社
防臭システム、防臭装置及び防臭方法
1か月前
株式会社パーカーコーポレーション
循環水処理用水溶液
11日前
株式会社ササクラ
被処理液の膜処理方法および装置
19日前
メタウォーター株式会社
消化システム及び加熱制御方法
1か月前
メタウォーター株式会社
消化システム及び加熱制御方法
1か月前
メタウォーター株式会社
消化システム及び加熱制御方法
1か月前
メタウォーター株式会社
消化システム及び加熱制御方法
1か月前
株式会社東芝
スカム発生抑制システム及びスカム発生抑制方法
1か月前
オルガノ株式会社
水処理システム
19日前
メタウォーター株式会社
消化システム及び加熱制御方法
1か月前
メタウォーター株式会社
消化システム及び配管設置方法
1か月前
三菱ケミカルアクア・ソリューションズ株式会社
水処理方法および水処理装置
4日前
続きを見る
他の特許を見る