TOP
|
特許
|
意匠
|
商標
特許ウォッチ
Twitter
他の特許を見る
10個以上の画像は省略されています。
公開番号
2025145160
公報種別
公開特許公報(A)
公開日
2025-10-03
出願番号
2024045198
出願日
2024-03-21
発明の名称
排水回収装置
出願人
栗田工業株式会社
代理人
個人
,
個人
主分類
C02F
1/44 20230101AFI20250926BHJP(水,廃水,下水または汚泥の処理)
要約
【課題】施工現場への搬出入及び現場での構築作業が容易な排水回収装置を提供する。
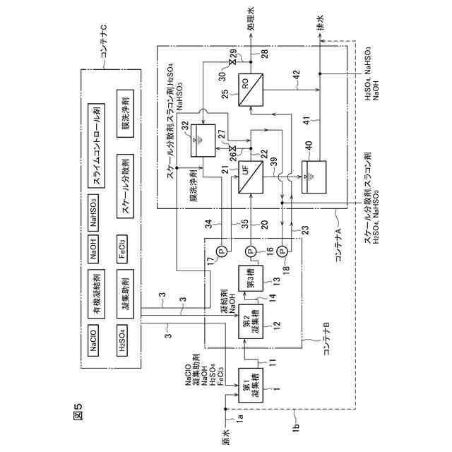
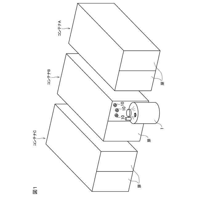
【解決手段】被処理水が導入される凝集槽を備える凝集部、前記凝集部で処理した処理水をろ過する除濁処理部、及び前記除濁処理部で処理した処理水を脱塩処理する逆浸透膜処理部を有する水処理システムと、前記水処理システムに対して薬液を供給するための2以上の薬液タンクを有する薬液供給部と、を備える排水回収装置であって、前記水処理システムがコンテナA,Bに収容されており、該薬液供給部がコンテナCに収納されており、該薬液供給部から薬液が配管によって該水処理システムに供給される排水回収装置。
【選択図】図1
特許請求の範囲
【請求項1】
被処理水が導入される凝集槽を備える凝集部、
前記凝集部で処理した処理水をろ過する除濁処理部、及び
前記除濁処理部で処理した処理水を脱塩処理する逆浸透膜処理部
を有する水処理システムと、
前記水処理システムに対して薬液を供給するための2以上の薬液タンクを有する薬液供給部と
を備える排水回収装置であって、
前記水処理システムが1又は2以上のコンテナ(A,B)に収容されており、該薬液供給部が別のコンテナ(C)に収納されており、
該薬液供給部から薬液が配管によって該水処理システムに供給される排水回収装置。
続きを表示(約 730 文字)
【請求項2】
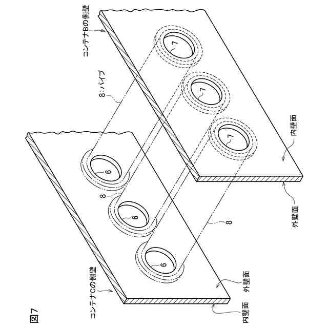
前記コンテナ(C)の側面と、該コンテナ(C)の該側面と対面するコンテナ(B)の側面とにそれぞれ配管挿通用の開口が設けられており、
該開口に前記配管が挿通されている請求項1の排水回収装置。
【請求項3】
前記水処理システムが、前記凝集部を収容したコンテナ(B)と、前記除濁膜処理部及び逆浸透膜処理部を収容したコンテナ(A)とを有する請求項1の排水回収装置。
【請求項4】
前記コンテナ(B)内に、前記除濁膜処理部への送液用のポンプ及び前記逆浸透膜処理部への送液用のポンプが設置されている請求項3の排水回収装置。
【請求項5】
前記薬液タンクが前記コンテナ(C)に着脱可能に設けられている請求項1の排水回収装置。
【請求項6】
前記コンテナ(A)内に、前記除濁膜処理部に供給される逆洗水を貯える逆洗水タンクが設置されている請求項4の排水回収装置。
【請求項7】
前記コンテナ(B)内に、前記逆洗水タンク内の逆洗水を前記除濁膜処理部に送水するための逆洗ポンプが設置されている請求項6の排水回収装置。
【請求項8】
前記コンテナ(B)外に、コンテナ(B)に近接して、原水を凝集処理するための第1凝集槽が設置されており、
前記コンテナ(C)内の薬液タンクから該凝集槽に薬液を導くための配管が前記コンテナ(B)内を通って配置されている請求項3の排水回収装置。
【請求項9】
前記各コンテナ(A,B,C)は一方向に長い矩形箱形であり、各々の長手方向を平行にして並列に配置されている請求項1~8のいずれかの排水回収装置。
発明の詳細な説明
【技術分野】
【0001】
本発明は、排水回収装置に係り、特に凝集部、除濁膜部、逆浸透膜処理部、薬液供給部等を備えた排水回収装置に関する。
続きを表示(約 1,100 文字)
【背景技術】
【0002】
凝集部、除濁膜部、逆浸透膜処理部、薬液供給部等を備えた排水回収装置として特許文献1に記載のものがある。特許文献1では、被処理水が凝集槽にて無機凝集剤及び有機凝集剤の添加を受けて凝集処理される。凝集処理液は、UF膜装置で除濁処理され、次いで逆浸透膜装置(以下、RO装置ということがある。)で逆浸透処理されて処理水となる。
【先行技術文献】
【特許文献】
【0003】
特開2021-186760号公報
【発明の概要】
【発明が解決しようとする課題】
【0004】
従来、排水回収装置は、現場毎に、被処理水の性状及び水量等に応じて設計が行われる。排水回収装置を構成する各機器は個別に現場に搬入され、配管で接続される。そのため、現場での装置構築に手間がかかり、施工期間が長くなり、コストが高くなりかちであった。
【0005】
本発明は、施工現場への搬出入及び現場での構築作業が容易な排水回収装置を提供することを課題とする。
【課題を解決するための手段】
【0006】
本発明の排水回収装置は、次の通りである。
【0007】
[1] 被処理水が導入される凝集槽を備える凝集部、
前記凝集部で処理した処理水をろ過する除濁処理部、及び
前記除濁処理部で処理した処理水を脱塩処理する逆浸透膜処理部
を有する水処理システムと、
前記水処理システムに対して薬液を供給するための2以上の薬液タンクを有する薬液供給部と
を備える排水回収装置であって、
前記水処理システムが1又は2以上のコンテナ(A,B)に収容されており、該薬液供給部が別のコンテナ(C)に収納されており、
該薬液供給部から薬液が配管によって該水処理システムに供給される排水回収装置。
【0008】
[2] 前記コンテナ(C)の側面と、該コンテナ(C)の該側面と対面するコンテナ(B)の側面とにそれぞれ配管挿通用の開口が設けられており、
該開口に前記配管が挿通されている[1]の排水回収装置。
【0009】
[3] 前記水処理システムが、前記凝集部を収容したコンテナ(B)と、前記除濁膜処理部及び逆浸透膜処理部を収容したコンテナ(A)とを有する[1]の排水回収装置。
【0010】
[4] 前記コンテナ(B)内に、前記除濁膜処理部への送液用のポンプ及び前記逆浸透膜処理部への送液用のポンプが設置されている[3]の排水回収装置。
(【0011】以降は省略されています)
この特許をJ-PlatPat(特許庁公式サイト)で参照する
関連特許
栗田工業株式会社
排水回収装置
1か月前
栗田工業株式会社
ギ酸の回収方法
2日前
栗田工業株式会社
ギ酸の回収方法
1か月前
栗田工業株式会社
電気イオン濃縮装置
28日前
栗田工業株式会社
用水の水質予測方法
1か月前
栗田工業株式会社
生物処理水の利用方法
14日前
栗田工業株式会社
畜糞造粒物の製造方法
1か月前
栗田工業株式会社
放射性廃液の処理方法
1か月前
栗田工業株式会社
逆浸透膜装置の運転方法
17日前
栗田工業株式会社
超純水製造装置の制御方法
1か月前
栗田工業株式会社
リチウム含有物の濃縮方法
1日前
栗田工業株式会社
有機物含有水の脱泡処理装置
9日前
栗田工業株式会社
電気脱イオン装置の運転方法
29日前
栗田工業株式会社
水質予測方法及び水質制御方法
1か月前
栗田工業株式会社
リチウム二次電池正極材の処理方法
1日前
栗田工業株式会社
管内面の洗浄用プラグ及び洗浄方法
1か月前
株式会社デンソー
液体分離システム
1日前
栗田工業株式会社
微生物発電装置および微生物発電方法
22日前
栗田工業株式会社
超純水製造装置の立ち上げ時の洗浄方法
9日前
栗田工業株式会社
有機物含有排水からの水回収装置及び方法
1か月前
日本製紙クレシア株式会社
パンツ型紙おむつ
14日前
栗田工業株式会社
水・蒸気サイクル中の有機系溶存物質の除去方法
23日前
栗田工業株式会社
熱交換器内のかき取り板の移動装置及び熱交換器
23日前
栗田工業株式会社
ベルトコンベアの監視方法、粉体の搬送方法及びプログラム
1か月前
栗田工業株式会社
ベルトコンベアの監視方法、ベルトコンベアの制御方法及びプログラム
1か月前
栗田工業株式会社
混合イオン交換樹脂におけるアニオン交換樹脂とカチオン交換樹脂との分離方法
9日前
栗田工業株式会社
ベルトコンベアの監視方法、粉体の搬送方法、ベルトコンベアの監視システム及びプログラム
1か月前
株式会社げんき
液体活性化装置
17日前
株式会社ウィズアクア
水質浄化装置
1か月前
三浦工業株式会社
汚泥乾燥加熱釜
1か月前
株式会社ライトアース
水循環式水質浄化システム
24日前
名古屋メッキ工業株式会社
溶存金属析出装置
28日前
スタンレー電気株式会社
流体除菌装置
22日前
三浦工業株式会社
精製水供給システム
1か月前
栗田工業株式会社
電気イオン濃縮装置
28日前
栗田工業株式会社
逆浸透膜装置の運転方法
17日前
続きを見る
他の特許を見る