TOP
|
特許
|
意匠
|
商標
特許ウォッチ
Twitter
他の特許を見る
公開番号
2025167742
公報種別
公開特許公報(A)
公開日
2025-11-07
出願番号
2024072615
出願日
2024-04-26
発明の名称
パンツ型紙おむつ
出願人
日本製紙クレシア株式会社
,
栗田工業株式会社
代理人
個人
,
個人
主分類
A61F
13/15 20060101AFI20251030BHJP(医学または獣医学;衛生学)
要約
【課題】製造工程では、ホットメルト接着に起因する不良品の発生率や、ホットメルト接着剤の染み出しが低く、リサイクル処理時には、パルプの分離性やウエストギャザー部の糸ゴム等の弾性部材によるトラブルの発生が少ない、マテリアルリサイクルに優れたパンツ型紙おむつを提供する。
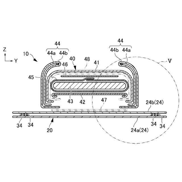
【解決手段】本開示のパンツ型紙おむつ10は、ウエストギャザー部28を有し、着用した際にパンツ型紙おむつ10の外形形状を構成する外装体20と、トップシート41とバックシート42と吸収体43とを有し、外装体20の肌側面に接着される吸収性本体40と、を備え、外装体20のウエストギャザー部28に使用されるホットメルト接着剤の第1の塗工量に対する、吸収性本体40と外装体20との接着に使用されるホットメルト接着剤及び吸収性本体40のトップシート41に使用されるホットメルト接着剤の第2の塗工量の比は、0.3以上1.0以下である。
【選択図】図4
特許請求の範囲
【請求項1】
使用後に洗浄し分離してリサイクル可能なパンツ型紙おむつであって、
ウエストギャザー部を有し、着用した際に前記パンツ型紙おむつの外形形状を構成する外装体と、
液透過性のトップシートと、液不透過性のバックシートと、前記トップシートと前記バックシートとの間に配置される吸収体とを有し、前記外装体の肌側面に接着される吸収性本体と、を備え、
前記外装体の前記ウエストギャザー部に使用されるホットメルト接着剤の第1の塗工量に対する、前記吸収性本体と前記外装体との接着に使用されるホットメルト接着剤及び前記吸収性本体の前記トップシートに使用されるホットメルト接着剤の第2の塗工量の比は、0.3以上1.0以下である
ことを特徴とするパンツ型紙おむつ。
続きを表示(約 100 文字)
【請求項2】
前記第1の塗工量は、0.75g以上1.05g以下であり、
前記第2の塗工量は、0.75g以上0.35g以下である
ことを特徴とする請求項1に記載のパンツ型紙おむつ。
発明の詳細な説明
【技術分野】
【0001】
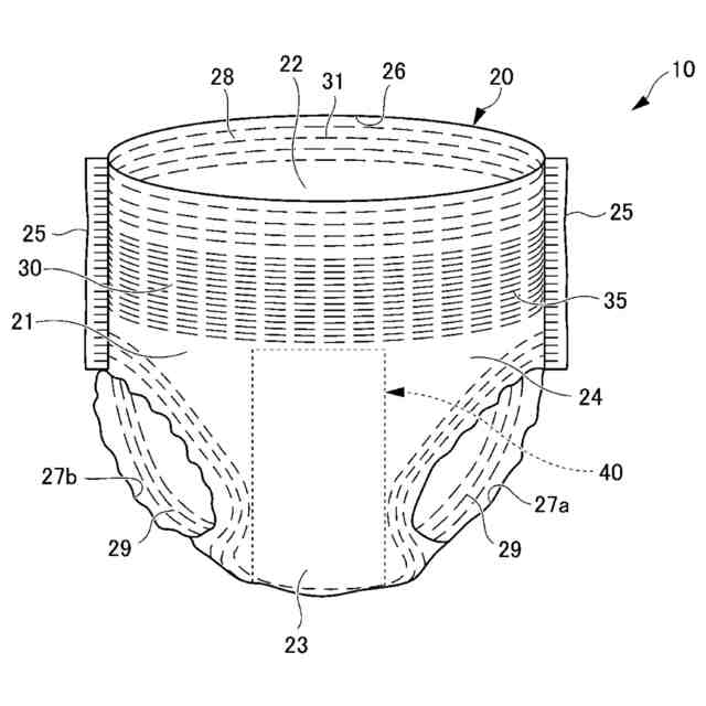
本開示は、パンツ型紙おむつに関する。
続きを表示(約 1,600 文字)
【背景技術】
【0002】
特許文献1には、パンツ型吸収性物品が開示されている。このパンツ型吸収性物品の外装体は、腹側部及び背側部(ウエスト領域、腸骨領域、胴周り領域)に対応する部分に、複数の胴周りギャザー形成用弾性部材が横方向に伸縮可能に配置されている。複数の弾性部材は、外装体を構成する外層シートと内層シートとの間において横方向に伸長可能に接着剤により固定され、且つ縦方向に間欠配置されている。
【先行技術文献】
【特許文献】
【0003】
特開2022-048114号公報
【発明の概要】
【発明が解決しようとする課題】
【0004】
ところで、現在、使用された紙おむつは各自治体で可燃ごみとして回収され焼却炉で焼却処理をするか、焼却炉が無い自治体ではそのまま埋立て処分となっている。水分を多く含む紙おむつを焼却するには、多くのエネルギーとコストがかかる。また、埋め立て処分には処分する土地の面積に限界がある。
【0005】
大人用紙おむつは高齢化により年々増加傾向にあり、リサイクルし易い(環境に優しい)紙おむつの開発が望まれている。これまでのリサイクルは、サーマルリサイクルが主流であり、マテリアルリサイクルされているものは少ない。
【0006】
紙おむつには、糸ゴム、吸収体、不織布などいろいろな素材が使われており、紙おむつを構成する素材の接着には、ホットメルトを使用している。特にパンツ型の紙おむつには多くの糸ゴムが使われており、リサイクル処理機で分解、処理をすると、糸ゴムが排水ポンプに絡まって効率が低下し、操業性が問題となっていた。また、おむつ本体(外装体)から吸収性本体が外れないと、パルプとプラスチックの分離が悪くなり、マテリアルリサイクルに悪影響を及ぼす。
【0007】
そこで、本開示は、製造工程では、ホットメルト接着に起因する不良品の発生率や、ホットメルト接着剤の染み出しが低く、リサイクル処理時には、パルプの分離性やウエストギャザー部の糸ゴム等の弾性部材によるトラブルの発生が少ない、マテリアルリサイクルに優れたパンツ型紙おむつの提供を目的とする。
【課題を解決するための手段】
【0008】
上記課題を解決するため、本発明の第1の態様は、使用後に洗浄し分離してリサイクル可能なパンツ型紙おむつであって、ウエストギャザー部を有し、着用した際に前記パンツ型紙おむつの外形形状を構成する外装体と、液透過性のトップシートと、液不透過性のバックシートと、前記トップシートと前記バックシートとの間に配置される吸収体とを有し、前記外装体の肌側面に接着される吸収性本体と、を備え、前記外装体の前記ウエストギャザー部に使用されるホットメルト接着剤の第1の塗工量に対する、前記吸収性本体と前記外装体との接着に使用されるホットメルト接着剤及び前記吸収性本体の前記トップシートに使用されるホットメルト接着剤の第2の塗工量の比は、0.3以上1.0以下である。
【0009】
本発明の第2の態様は、上記第1の態様のパンツ型紙おむつであって、前記第1の塗工量は、0.75g以上1.05g以下であり、前記第2の塗工量は、0.75g以上0.35g以下である。
【発明の効果】
【0010】
本開示によれば、製造工程では、ホットメルト接着に起因する不良品の発生率や、ホットメルト接着剤の染み出しが低く、リサイクル処理時には、パルプの分離性やウエストギャザー部の糸ゴム等の弾性部材によるトラブルの発生が少ない、マテリアルリサイクルに優れたパンツ型紙おむつを提供できる。
【図面の簡単な説明】
(【0011】以降は省略されています)
この特許をJ-PlatPat(特許庁公式サイト)で参照する
関連特許
日本製紙クレシア株式会社
キッチンタオルロール
1日前
個人
貼付剤
1か月前
個人
簡易担架
15日前
個人
短下肢装具
4か月前
個人
足踏み器具
22日前
個人
腋臭防止剤
15日前
個人
排尿補助器具
1か月前
個人
前腕誘導装置
4か月前
個人
嚥下鍛錬装置
4か月前
個人
汚れ防止シート
2か月前
個人
矯正椅子
6か月前
個人
歯の修復用材料
5か月前
個人
バッグ式オムツ
5か月前
個人
胸骨圧迫補助具
2か月前
個人
ウォート指圧法
1か月前
個人
腰ベルト
1か月前
個人
アイマスク装置
3か月前
個人
陣痛緩和具
4か月前
個人
美容セット
24日前
個人
排尿排便補助器具
17日前
個人
シャンプー
7か月前
個人
歯の保護用シール
6か月前
個人
湿布連続貼り機。
3か月前
個人
哺乳瓶冷まし容器
4か月前
個人
治療用酸化防御装置
2か月前
株式会社コーセー
化粧料
1か月前
株式会社大野
骨壷
4か月前
個人
エア誘導コルセット
2か月前
個人
性行為補助具
4か月前
株式会社八光
剥離吸引管
5か月前
株式会社ニデック
眼科装置
2か月前
株式会社松風
口腔用組成物
4か月前
株式会社ニデック
眼科装置
2か月前
個人
こむら返り応急治し具
22日前
株式会社GSユアサ
歩行器
6か月前
株式会社ニデック
検眼装置
4か月前
続きを見る
他の特許を見る