TOP
|
特許
|
意匠
|
商標
特許ウォッチ
Twitter
他の特許を見る
公開番号
2025149350
公報種別
公開特許公報(A)
公開日
2025-10-08
出願番号
2024049943
出願日
2024-03-26
発明の名称
管内面の洗浄用プラグ及び洗浄方法
出願人
栗田工業株式会社
代理人
個人
,
個人
主分類
B08B
9/032 20060101AFI20251001BHJP(清掃)
要約
【課題】管洗浄に際してプラグを管内面に容易にかつ水密的に固定することができる管内面の洗浄用プラグと、このプラグを用いた管内面の洗浄方法を提供する。
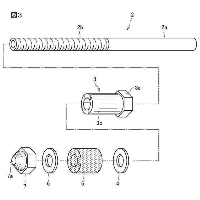
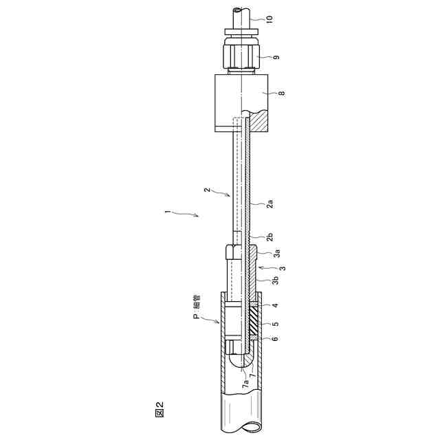
【解決手段】管の端部に前端側が差し込まれて固定される管内面の洗浄用プラグ1。該プラグ1は、パイプ状であり、前端側に雄ネジ2bが設けられているプラグ本体2と該雄ネジ2bに螺着された、孔7aを有する袋ナット7と、該雄ネジ2bの後端側に螺着されたナット3と、該プラグ本体2に外嵌しており、該袋ナット7とナット3との間にワッシャ4,6を介して介在された筒状ゴム5とを有する。ナット3を螺進させて該筒状ゴム5を筒軸心方向に押し縮めることにより、筒状ゴム5の外周面が管の内周面に密着し、筒状ゴム5の内周面がプラグ本体2の外周面に密着する。
【選択図】図1
特許請求の範囲
【請求項1】
管の端部に前端側が差し込まれて固定される管内面の洗浄用プラグにおいて、
パイプ状であり、前端側に雄ネジが設けられているプラグ本体と、
該プラグ本体前端部の該雄ネジに螺着された、前後方向に貫通する孔を有した袋ナットと、
該雄ネジの後端側に螺着されたナットと、
該プラグ本体に外嵌しており、該袋ナットと該ナットとの間に介在された筒状ゴムと
を有し、
該ナットを螺進させて該筒状ゴムを筒軸心方向に押し縮めることにより、筒状ゴムの外周面が管の内周面に密着し、筒状ゴムの内周面がプラグ本体の外周面に密着することを特徴とする管内面の洗浄用プラグ。
続きを表示(約 490 文字)
【請求項2】
前記筒状ゴムと前記ナットとの間、及び前記筒状ゴムと前記袋ナットとの間にそれぞれワッシャが介在されている請求項1の管内面の洗浄用プラグ。
【請求項3】
前記ナットは、六角ナットよりなるナット本体と、筒状のカラムとが一体化されたものであり、該ナット本体が後方側となるように配置されている請求項1の管内面の洗浄用プラグ。
【請求項4】
前記プラグ本体の後端にチューブ接続用の接続部材が設けられている請求項1の管内面の洗浄用プラグ。
【請求項5】
前記接続部材はワンタッチ継手又はホースニップルである請求項4の管内面の洗浄用プラグ。
【請求項6】
請求項1~5のいずれかの管内面の洗浄用プラグを管の端部に挿入し、前記ナットを螺進させて前記筒状ゴムを前記プラグの外周面及び管の内面に密着させる工程と、
該管内面の洗浄用プラグを介して管に洗浄液を供給する工程と
を有する管内面の洗浄方法。
【請求項7】
前記管は、多管式熱交換器の細管である請求項6の管内面の洗浄方法。
発明の詳細な説明
【技術分野】
【0001】
本発明は管内面の洗浄用プラグに係り、特に多管式熱交換器の細管内面の洗浄に用いるのに好適なプラグに関する。また本発明は、このプラグを用いた管内面の洗浄方法に関する。
続きを表示(約 1,300 文字)
【背景技術】
【0002】
従来、ボイラ、凝縮器、熱交換器、多管式反応器等は、ある期間使用すると、種々の閉塞物、例えばスケールにより管内が閉塞して、ついには使用不能となる。このため、これらの閉塞物を除去して管内を清掃する必要があるが、スケールは管内に固着しているので、その清掃除去は容易ではない。細管内面の清掃除去方式の一つとしては、高圧ジェット水噴射洗浄方法や、化学洗浄方法がある。
【0003】
高圧ジェット水洗浄方法では、細管内面に付着した硬質スケールを、超高圧水を使用して除去するため、細管損傷の恐れがあり熟練の技師が必要となり、施工時間が長いという課題がある。また近年では洗浄技師の確保が難しくなっている。
【0004】
化学洗浄は、細管損傷の恐れが少なく、施工時間も短いため優れている。従来、細管の化学洗浄を行うには、円錐形のゴムにパイプを通したプラグを細管に押し込み、パイプを介して細管内に洗浄水を供給するようにしているが、ゴム外周面と細管内面との間からの水の漏洩や水圧によるプラグ抜けが発生している。なお、ホースとパイプとの接続は、ホースバンドで固定することにより行われているため、隙間からの漏洩や固定作業に手間がかかる。また、従来のプラグは挿入部が長いため、洗浄不可部分(管内面のうちプラグ外周面と対面する部分。プラグと重なるため、洗浄されない。)が長くなっていた。
【先行技術文献】
【特許文献】
【0005】
特公昭46-39678号公報
【発明の概要】
【発明が解決しようとする課題】
【0006】
本発明は、管洗浄に際してプラグを管内面に容易にかつ水密的に固定することができる管内面の洗浄用プラグと、このプラグを用いた管内面の洗浄方法を提供することを課題とする。
【課題を解決するための手段】
【0007】
本発明の要旨は、次の通りである。
【0008】
[1] 管の端部に前端側が差し込まれて固定される管内面の洗浄用プラグにおいて、
パイプ状であり、前端側に雄ネジが設けられているプラグ本体と、
該プラグ本体前端部の該雄ネジに螺着された、前後方向に貫通する孔を有した袋ナットと、
該雄ネジの後端側に螺着されたナットと、
該プラグ本体に外嵌しており、該袋ナットと該ナットとの間に介在された筒状ゴムと
を有し、
該ナットを螺進させて該筒状ゴムを筒軸心方向に押し縮めることにより、筒状ゴムの外周面が管の内周面に密着し、筒状ゴムの内周面がプラグ本体の外周面に密着することを特徴とする管内面の洗浄用プラグ。
【0009】
[2] 前記筒状ゴムと前記ナットとの間、及び前記筒状ゴムと前記袋ナットとの間にそれぞれワッシャが介在されている[1]の管内面の洗浄用プラグ。
【0010】
[3] 前記ナットは、六角ナットよりなるナット本体と、筒状のカラムとが一体化されたものであり、該ナット本体が後方側となるように配置されている[1]の管内面の洗浄用プラグ。
(【0011】以降は省略されています)
この特許をJ-PlatPat(特許庁公式サイト)で参照する
関連特許
栗田工業株式会社
排水回収装置
1か月前
栗田工業株式会社
ギ酸の回収方法
10日前
栗田工業株式会社
ギ酸の回収方法
1か月前
栗田工業株式会社
電気脱イオン装置
2か月前
栗田工業株式会社
用水の水質予測方法
1か月前
栗田工業株式会社
電気イオン濃縮装置
1か月前
栗田工業株式会社
生物処理水の利用方法
22日前
栗田工業株式会社
畜糞造粒物の製造方法
1か月前
栗田工業株式会社
放射性廃液の処理方法
2か月前
栗田工業株式会社
逆浸透膜装置の運転方法
25日前
栗田工業株式会社
有機物含有排水の処理方法
2か月前
栗田工業株式会社
リチウム含有物の濃縮方法
9日前
栗田工業株式会社
有機性排水の生物処理方法
2か月前
栗田工業株式会社
超純水製造装置の制御方法
1か月前
栗田工業株式会社
有機物含有水の脱泡処理装置
17日前
栗田工業株式会社
電気脱イオン装置の運転方法
1か月前
栗田工業株式会社
水質予測方法及び水質制御方法
1か月前
栗田工業株式会社
方法、システム及びプログラム
1日前
栗田工業株式会社
管内面の洗浄用プラグ及び洗浄方法
1か月前
栗田工業株式会社
洗浄水製造装置及び洗浄水製造方法
1日前
栗田工業株式会社
リチウム二次電池正極材の処理方法
9日前
栗田工業株式会社
微生物発電装置および微生物発電方法
1か月前
株式会社デンソー
液体分離システム
9日前
栗田工業株式会社
超純水製造装置の立ち上げ時の洗浄方法
17日前
栗田工業株式会社
有機物含有排水からの水回収装置及び方法
1か月前
日本製紙クレシア株式会社
パンツ型紙おむつ
22日前
栗田工業株式会社
水・蒸気サイクル中の有機系溶存物質の除去方法
1か月前
栗田工業株式会社
熱交換器内のかき取り板の移動装置及び熱交換器
1か月前
栗田工業株式会社
純水製造システム、及び純水製造システムの運転方法
2か月前
栗田工業株式会社
推定システム、推定方法及びコンピュータープログラム
2か月前
栗田工業株式会社
ベルトコンベアの監視方法、粉体の搬送方法及びプログラム
1か月前
栗田工業株式会社
ベルトコンベアの監視方法、ベルトコンベアの制御方法及びプログラム
1か月前
栗田工業株式会社
混合イオン交換樹脂におけるアニオン交換樹脂とカチオン交換樹脂との分離方法
17日前
栗田工業株式会社
ベルトコンベアの監視方法、粉体の搬送方法、ベルトコンベアの監視システム及びプログラム
1か月前
個人
物体表面洗浄装置
2か月前
個人
ブラシ付きノズル
3か月前
続きを見る
他の特許を見る