TOP
|
特許
|
意匠
|
商標
特許ウォッチ
Twitter
他の特許を見る
公開番号
2025160024
公報種別
公開特許公報(A)
公開日
2025-10-22
出願番号
2024062972
出願日
2024-04-09
発明の名称
汚泥乾燥加熱釜
出願人
三浦工業株式会社
代理人
個人
,
個人
主分類
C02F
11/13 20190101AFI20251015BHJP(水,廃水,下水または汚泥の処理)
要約
【課題】乾燥を終了させる適切な時点を決定することができる汚泥乾燥加熱釜を提供すること。
【解決手段】汚泥乾燥加熱釜は、汚泥を乾燥するため汚泥乾燥加熱釜であって、汚泥を収納して加熱できる釜本体と、汚泥の乾燥状態を検知できる状態センサと、を備える。
【選択図】図1
特許請求の範囲
【請求項1】
汚泥を乾燥するため汚泥乾燥加熱釜であって、
汚泥を収納して加熱できる釜本体と、
汚泥の乾燥状態を検知できる状態センサと、を備える汚泥乾燥加熱釜。
続きを表示(約 310 文字)
【請求項2】
汚泥を撹拌する撹拌羽根を有する撹拌装置を更に備え、
前記状態センサは前記撹拌羽根に作用する負荷を検知する請求項1に記載の汚泥乾燥加熱釜。
【請求項3】
汚泥の乾燥状態を判定する制御部を更に備え、
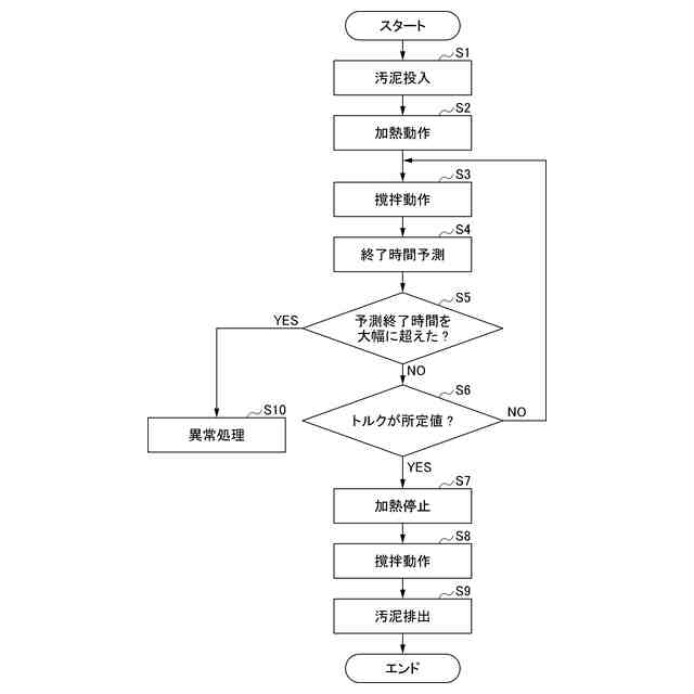
前記制御部は、前記撹拌羽根に作用する負荷の変化が上昇から下降に転じる転換時点、又は前記転換時点の前後を含む所定の時間範囲内のいずれかの時点で前記釜本体による加熱を終了させる請求項2に記載の汚泥乾燥加熱釜。
【請求項4】
前記制御部は、前記撹拌羽根に作用する負荷の値に基づいて、前記釜本体による加熱を終了させるまでの時間を予測する請求項3に記載の汚泥乾燥加熱釜。
発明の詳細な説明
【技術分野】
【0001】
本発明は、汚泥を乾燥するため汚泥乾燥加熱釜に関する。
続きを表示(約 1,000 文字)
【背景技術】
【0002】
産業廃棄物の体積を小さくするために、汚泥を乾燥させる技術が提案されている。例えば特許文献1には、木くずを燃料とするバイオマスバーナーを用いて汚泥を乾燥させる技術が記載されている。
【先行技術文献】
【特許文献】
【0003】
特開2022-47971号公報
【発明の概要】
【発明が解決しようとする課題】
【0004】
ところで、汚泥の乾燥においては、乾燥が不足している場合は汚泥産廃量が増加し、乾燥し過ぎた場合は粉塵が問題となる。そこで、乾燥を終了させる適切な時点を決定することが求められる。
【0005】
従来、汚泥の重量を測定することで、乾燥を終了させる時点を決定する技術が提案されている。しかし、重量の測定では水分と汚泥物質の割合が把握できないため、含水率を把握できない。そのため、重量の変化に基づいて乾燥を終了させる適切な時点を決定することは困難である。
【0006】
そこで本発明は、乾燥を終了させる適切な時点を決定することができる汚泥乾燥加熱釜を提供することを目的とする。
【課題を解決するための手段】
【0007】
(1)本発明の汚泥乾燥加熱釜は、汚泥を乾燥するための釜であって、汚泥を収納して加熱できる釜本体と、汚泥の乾燥状態を検知できる状態センサと、を備える。
【0008】
(1)の汚泥乾燥加熱釜では、状態センサによって汚泥の乾燥状態を検知しながら、釜本体が汚泥を乾燥する。粉塵の発生が少なく、乾燥効率がよい含水率になると、釜本体が乾燥動作を停止する。上記のように、汚泥乾燥加熱釜は、乾燥を終了させる適切な時点を決定することができる。
【0009】
(2)前記汚泥乾燥加熱釜は、汚泥を撹拌し撹拌羽根を有する撹拌装置を更に備える。前記状態センサは、前記撹拌羽根に作用する負荷を検知する。
【0010】
(2)の汚泥乾燥加熱釜では、撹拌羽根に作用する負荷に基づいて、汚泥の乾燥状態が検知される。したがって、汚泥の乾燥状態が正確に検知される。それに対して、重量センサでは装置全体の重量を含めて汚泥の重量を測定するため乾燥状態を正確に検知できないことがあり、赤外線温度センサではセンサの汚れによって汚泥の乾燥状態を正確に検知できないことがある。
(【0011】以降は省略されています)
この特許をJ-PlatPat(特許庁公式サイト)で参照する
関連特許
三浦工業株式会社
燃焼装置
1か月前
三浦工業株式会社
燃焼装置
1か月前
三浦工業株式会社
洗浄システム
3日前
三浦工業株式会社
流体殺菌装置
10日前
三浦工業株式会社
電極式ボイラ
18日前
三浦工業株式会社
流体殺菌装置
18日前
三浦工業株式会社
流体殺菌装置
1か月前
三浦工業株式会社
ボイラシステム
3日前
三浦工業株式会社
環境情報収集システム
4日前
三浦工業株式会社
船舶用ハイブリッド発電システム
4日前
三浦工業株式会社
メンテナンス業務支援システム及びメンテナンス業務運用方法
4日前
株式会社げんき
液体活性化装置
1か月前
新・産業洗浄株式会社
曝気装置
10日前
株式会社ライトアース
水循環式水質浄化システム
1か月前
スタンレー電気株式会社
流体除菌装置
1か月前
スタンレー電気株式会社
流体除菌装置
4日前
栗田工業株式会社
逆浸透膜装置の運転方法
1か月前
オルガノ株式会社
UV照射装置
1か月前
有限会社フリーウェー
浄水装置
1か月前
大成建設株式会社
中和処理システムと中和処理方法
10日前
ジヤトコ株式会社
排水回収システム
18日前
栗田工業株式会社
水処理拠点の状況診断支援システム
3日前
個人
海水の塩分除去装置と淡水製造方法
19日前
株式会社ジェイテクト
発酵装置
4日前
株式会社クボタ
有機性廃棄物の処理方法
10日前
竹鶴油業株式会社
残渣処理プラント及び成形物の製造方法
1か月前
株式会社医道メディカル
水素及び水素溶解エクソソーム液発生装置
1か月前
三菱化工機株式会社
電界ろ過装置及び電界ろ過装置のろ材の製造方法
26日前
王子ホールディングス株式会社
排水処理方法
1か月前
株式会社大林組
汚泥処理施設及び汚泥処理方法
10日前
オルガノ株式会社
電気式脱イオン水製造システム及びその運用方法
10日前
東ソー株式会社
ニッケルと錯生成能力を持つ化合物を含有する水溶液の浄化方法
5日前
栗田工業株式会社
水・蒸気サイクル中の有機系溶存物質の除去方法
1か月前
株式会社セルマップ
油吸着用の吸着体、及び油吸着用の吸着体の製造方法
1か月前
株式会社クボタ
浄水処理方法および原水評価方法
10日前
WOTA株式会社
貯留槽及び水処理システム
3日前
続きを見る
他の特許を見る