TOP
|
特許
|
意匠
|
商標
特許ウォッチ
Twitter
他の特許を見る
公開番号
2025176265
公報種別
公開特許公報(A)
公開日
2025-12-04
出願番号
2024082291
出願日
2024-05-21
発明の名称
船舶用ハイブリッド発電システム
出願人
三浦工業株式会社
代理人
個人
,
個人
主分類
H02P
9/04 20060101AFI20251127BHJP(電力の発電,変換,配電)
要約
【課題】船内設備の需要電力の変化に対して、主発電機と補助発電機の出力電力バランスを効果的に調整することのできる船舶用ハイブリッド発電システムを提供すること。
【解決手段】船舶用ハイブリッド発電システム1は、第1出力電力を送出する主発電機群10と、第2出力電力を送出する補助発電機30とを備え、電力管理装置50は、航行情報および設備稼働情報に基づいて第1出力電力を調整する第1ステップと、運転情報および/または航行情報に基づいて第2出力電力を推定する第2ステップと、推定された第2出力電力が所定の値以上である場合に第2出力電力を送出させる第3ステップと、第2出力電力に相当する電力を減少させるように、第1出力電力を調整する第4ステップと、を順に実行する。
【選択図】図1
特許請求の範囲
【請求項1】
エネルギー源の異なる複数種の発電機を用いて船舶内に電力を供給する船舶用ハイブリッド発電システムであって、
内燃機関を原動力する複数台の主発電機からなる主発電機群と、
前記内燃機関以外によって作動する補助発電機と、
前記主発電機群の第1出力電力を制御可能な主発電制御装置と、
前記補助発電機の第2出力電力を制御可能な補助発電制御装置と、
前記主発電制御装置および前記補助発電制御装置の運転を統括する電力管理装置と、を備え、
前記電力管理装置は、
前記船舶の航行情報および前記船舶の設備稼働情報に基づいて、前記主発電制御装置を介して第1出力電力を調整する第1ステップと、
主機関の運転情報および/または前記航行情報に基づいて前記補助発電機から供給可能な第2出力電力を推定する第2ステップと、
推定された前記第2出力電力が所定の値以上である場合に、前記補助発電制御装置を介して前記第2出力電力を送出させる第3ステップと、
前記主発電制御装置を介して前記第2出力電力に相当する電力を減少させるように、前記第1出力電力を調整する第4ステップと、を順に実行するように構成される、
船舶用ハイブリッド発電システム。
続きを表示(約 1,000 文字)
【請求項2】
前記補助発電機は、
第1補助発電機と、
前記第1補助発電機とは種類の異なる第2補助発電機と、を含み、
前記電力管理装置は、
前記第2ステップにおいて、前記第1補助発電機と前記第2補助発電機とから供給可能な前記第2出力電力をそれぞれ推定し、
前記第3ステップにおいて、推定された前記第2出力電力が所定の値以上である前記補助発電機から前記第2出力電力を送出させる、
請求項1に記載の船舶用ハイブリッド発電システム。
【請求項3】
前記電力管理装置は、
前記第2ステップにおいて、前記第1補助発電機と前記第2補助発電機とが共に電力供給可能である場合に、
前記第3ステップにおいて、前記第1補助発電機から前記第2出力電力を優先的に送出させ、
前記第1補助発電機は、前記船舶内で発生する廃熱または余剰熱を利用するバイナリ発電機からなり、
前記電力管理装置は、前記第2ステップにおいて、前記運転情報に基づいて前記第2出力電力を推定する、
請求項2に記載の船舶用ハイブリッド発電システム。
【請求項4】
前記第2補助発電機は、前記主機関を原動力とする軸発電機からなり、
前記電力管理装置は、前記第2ステップにおいて、前記航行情報に基づいて前記第2出力電力を推定する、
請求項3に記載の船舶用ハイブリッド発電システム。
【請求項5】
前記第2補助発電機は、自然エネルギーを利用する太陽光発電機および/または風力発電機からなり、
前記電力管理装置は、前記第2ステップにおいて、前記航行情報に基づいて前記第2出力電力を推定する、
請求項3に記載の船舶用ハイブリッド発電システム。
【請求項6】
前記第2補助発電機は、前記船舶内で発生させた蒸気を利用する蒸気発電機からなり、
前記電力管理装置は、前記第2ステップにおいて、前記運転情報に基づいて前記第2出力電力を推定する、
請求項3に記載の船舶用ハイブリッド発電システム。
【請求項7】
前記第2補助発電機は、前記主機関の排ガスを利用するガスタービン発電機からなり、
前記電力管理装置は、前記第2ステップにおいて、前記運転情報に基づいて前記第2出力電力を推定する、
請求項3に記載の船舶用ハイブリッド発電システム。
発明の詳細な説明
【技術分野】
【0001】
本発明は、船舶用ハイブリッド発電システムに関する。
続きを表示(約 1,700 文字)
【背景技術】
【0002】
従来、貨物船などの船内設備に電力を供給するために、内燃機関を原動力とする主発電機(例えば、定格出力電力が1.0~1.5MWのディーゼル発電機)が使用されている。この主発電機は、入出港時や停泊中の荷役作業時の最大需要電力を考慮して複数台(例えば、3台)が搭載されている。また、特許文献1に記載されるように、発電機と2次電池とを併用する船舶の発電システムも提案されている。
【先行技術文献】
【特許文献】
【0003】
特開2019-142376号公報
【発明の概要】
【発明が解決しようとする課題】
【0004】
ところで近年では、船体の推進力を得る主機関で発生する廃熱及び/又は余剰熱を利用するバイナリ発電機(有機ランキンサイクル発電機)や、主機関を原動力とする軸発電機を補助発電機として運用し、主発電機が消費する燃料を節約することも行われている。船内設備の需要電力は船舶の航泊状況によって変化するうえ、補助発電機は基本的に発電可能な時期が限られている。そのため、従来の主発電機に補助発電機を増設したハイブリッド発電システムでは、需要電力の変化に対して補助発電機を効果的に運転させるための新たな技術が求められてる。
【0005】
そこで、本発明は、船内設備の需要電力の変化に対して、主発電機と補助発電機の出力電力バランスを効果的に調整することのできる船舶用ハイブリッド発電システムを提供することを目的とする。
【課題を解決するための手段】
【0006】
本発明の船舶用ハイブリッド発電システムは、エネルギー源の異なる複数種の発電機を用いて船舶内に電力を供給する船舶用ハイブリッド発電システムであって、内燃機関を原動力する複数台の主発電機からなる主発電機群と、前記内燃機関以外によって作動する補助発電機と、前記主発電機群の第1出力電力を制御可能な主発電制御装置と、前記補助発電機の第2出力電力を制御可能な補助発電制御装置と、前記主発電制御装置および前記補助発電制御装置の運転を統括する電力管理装置と、を備え、前記電力管理装置は、前記船舶の航行情報および前記船舶の設備稼働情報に基づいて、前記主発電制御装置を介して第1出力電力を調整する第1ステップと、主機関の運転情報および/または前記航行情報に基づいて前記補助発電機から供給可能な第2出力電力を推定する第2ステップと、推定された前記第2出力電力が所定の値以上である場合に、前記補助発電制御装置を介して前記第2出力電力を送出させる第3ステップと、前記主発電制御装置を介して前記第2出力電力に相当する電力を減少させるように、前記第1出力電力を調整する第4ステップと、を順に実行するように構成される。
【発明の効果】
【0007】
本発明によれば、船内設備の需要電力の変化に対して、主発電機と補助発電機の出力電力バランスを効果的に調整することのできる船舶用ハイブリッド発電システムを提供することができる。
【図面の簡単な説明】
【0008】
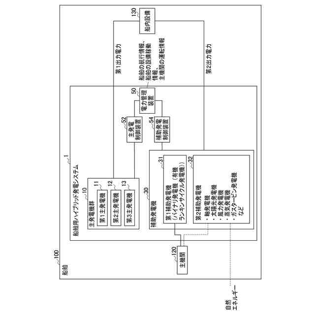
図1は本発明の実施形態の船舶用ハイブリッド発電システムの構成を示す図である。
図2は本発明の実施形態の電力管理装置が実施する処理の流れを示すフロー図である。
【発明を実施するための形態】
【0009】
1.第1実施形態
図面を参照して本発明の実施形態の船舶用ハイブリッド発電システム1について説明する。図1は本発明の実施形態の船舶用ハイブリッド発電システム1を含む船舶100の構成を示す図である。図1に示すように、船舶100は、主機関120および船内設備130に加えて船舶用ハイブリッド発電システム1を備える。
【0010】
主機関120は、船舶100の推進力を生成する装置である。主機関120は、後述する補助発電機30の少なくとも一部にエネルギーを供給する。
(【0011】以降は省略されています)
この特許をJ-PlatPat(特許庁公式サイト)で参照する
関連特許
三浦工業株式会社
燃焼装置
27日前
三浦工業株式会社
燃焼装置
27日前
三浦工業株式会社
撹拌装置
1か月前
三浦工業株式会社
貫流ボイラ
1か月前
三浦工業株式会社
ガス化装置
1か月前
三浦工業株式会社
燃焼システム
1か月前
三浦工業株式会社
流体殺菌装置
6日前
三浦工業株式会社
電極式ボイラ
14日前
三浦工業株式会社
流体殺菌装置
14日前
三浦工業株式会社
流体殺菌装置
1か月前
三浦工業株式会社
二重管接続構造
1か月前
三浦工業株式会社
ウエスコポンプ
1か月前
三浦工業株式会社
水蒸気発生装置
1か月前
三浦工業株式会社
汚泥乾燥加熱釜
1か月前
三浦工業株式会社
水素貯蔵供給装置
1か月前
三浦工業株式会社
汚泥減容システム
1か月前
三浦工業株式会社
精製水供給システム
1か月前
三浦工業株式会社
環境情報収集システム
今日
三浦工業株式会社
コンピュータプログラム
1か月前
三浦工業株式会社
燃焼装置、アンモニア評価方法
1か月前
三浦工業株式会社
船舶用ハイブリッド発電システム
今日
東京瓦斯株式会社
電力供給システム
1か月前
三浦工業株式会社
メンテナンス業務支援システム及びメンテナンス業務運用方法
今日
個人
高圧電気機器の開閉器
15日前
キヤノン電子株式会社
モータ
27日前
株式会社アイドゥス企画
減反モータ
15日前
株式会社デンソー
端子台
8日前
本田技研工業株式会社
回転電機
1日前
ローム株式会社
半導体集積回路
6日前
株式会社TMEIC
制御装置
7日前
矢崎総業株式会社
給電装置
7日前
株式会社日立製作所
回転電機
6日前
矢崎総業株式会社
電源回路
14日前
ローム株式会社
モータドライバ回路
22日前
日産自動車株式会社
ロータシャフト
22日前
日産自動車株式会社
ロータシャフト
22日前
続きを見る
他の特許を見る