TOP
|
特許
|
意匠
|
商標
特許ウォッチ
Twitter
他の特許を見る
10個以上の画像は省略されています。
公開番号
2025159630
公報種別
公開特許公報(A)
公開日
2025-10-21
出願番号
2024062352
出願日
2024-04-08
発明の名称
コンピュータプログラム
出願人
三浦工業株式会社
代理人
弁理士法人酒井国際特許事務所
主分類
B08B
3/08 20060101AFI20251014BHJP(清掃)
要約
【課題】器具を洗浄又は滅菌する場合において、処理の誤りを抑制すること。
【解決手段】コンピュータプログラムであるアプリケーションソフトウエア7は、器具を洗浄又は滅菌する処理器の第1識別コードを取得することと、処理器に提供される物品の第2識別コードを取得することと、第1識別コードと第2識別コードとの組み合わせを示す読取データと、処理器と物品との組み合わせの一覧を示す第1リスト及び第1リストとは異なる組み合わせの一覧を示す第2リストのそれぞれとを照合することと、読取データと第1リストとが一致する場合、第1出力データを出力装置14に出力させることと、読取データと第2リストとが一致する場合、第2出力データを出力装置14に出力させることと、をコンピュータ11に実行させる。
【選択図】図5
特許請求の範囲
【請求項1】
器具を洗浄又は滅菌する処理器の第1識別コードを取得することと、
前記処理器に提供される物品の第2識別コードを取得することと、
前記第1識別コードと前記第2識別コードとの組み合わせを示す読取データと、前記処理器と前記物品との組み合わせの一覧を示す第1リスト及び前記第1リストとは異なる前記組み合わせの一覧を示す第2リストのそれぞれとを照合することと、
前記読取データと前記第1リストとが一致する場合、第1出力データを出力装置に出力させることと、
前記読取データと前記第2リストとが一致する場合、第2出力データを前記出力装置に出力させることと、をコンピュータに実行させる、
コンピュータプログラム。
続きを表示(約 550 文字)
【請求項2】
前記読取データと前記第1リスト及び前記第2リストのそれぞれとが一致しない場合、第3出力データを前記出力装置に出力させること、を前記コンピュータに実行させる、
請求項1に記載のコンピュータプログラム。
【請求項3】
前記第1識別コードと前記第2識別コードとが一致する場合、第4出力データ(スキャンミス)を前記出力装置に出力させること、を前記コンピュータに実行させる、
請求項1に記載のコンピュータプログラム。
【請求項4】
前記第1リスト及び前記第2リストのそれぞれにおいて、前記処理器の第1識別コードと前記物品の第2識別コードとは異なる、
請求項3に記載のコンピュータプログラム。
【請求項5】
前記照合の結果を記憶させること、を前記コンピュータに実行させる、
請求項1に記載のコンピュータプログラム。
【請求項6】
前記第1リストは、前記処理器と前記物品との推奨される組み合わせの一覧を示すポジティブリストであり、
前記第2リストは、前記処理器と前記物品との禁止される組み合わせの一覧を示すネガティブリストである、
請求項1に記載のコンピュータプログラム。
発明の詳細な説明
【技術分野】
【0001】
本明細書で開示する技術は、コンピュータプログラムに関する。
続きを表示(約 1,600 文字)
【背景技術】
【0002】
使用済の医療用器具は、洗浄器により洗浄された後、滅菌器により滅菌される。特許文献1には、洗浄器の一例が開示されている。特許文献2には、滅菌器の一例が開示されている。
【先行技術文献】
【特許文献】
【0003】
特開2019-217480号公報
特開2010-252880号公報
【発明の概要】
【発明が解決しようとする課題】
【0004】
器具を洗浄又は滅菌する処理器において、処理を誤ると処理不良が生じたり器具又は処理器の性能が低下したりする可能性がある。例えば薬液を使用して器具を洗浄する場合、誤った薬液が使用されると、器具の洗浄不良が生じたり器具が劣化したり処理器の性能が低下したりする可能性がある。また、例えば耐熱性が低い器具が高温処理されると、器具が劣化する可能性がある。
【0005】
本明細書で開示する技術は、器具を洗浄又は滅菌する場合において、処理の誤りを抑制することを目的とする。
【課題を解決するための手段】
【0006】
本明細書は、コンピュータプログラムを開示する。コンピュータプログラムは、器具を洗浄又は滅菌する処理器の第1識別コードを取得することと、処理器に提供される物品の第2識別コードを取得することと、第1識別コードと第2識別コードとの組み合わせを示す読取データと、処理器と物品との組み合わせの一覧を示す第1リスト及び第1リストとは異なる組み合わせの一覧を示す第2リストのそれぞれとを照合することと、読取データと第1リストとが一致する場合、第1出力データを出力装置に出力させることと、読取データと第2リストとが一致する場合、第2出力データを出力装置に出力させることと、をコンピュータに実行させる。
【発明の効果】
【0007】
本明細書で開示する技術によれば、器具を洗浄又は滅菌する場合において、処理の誤りが抑制される。
【図面の簡単な説明】
【0008】
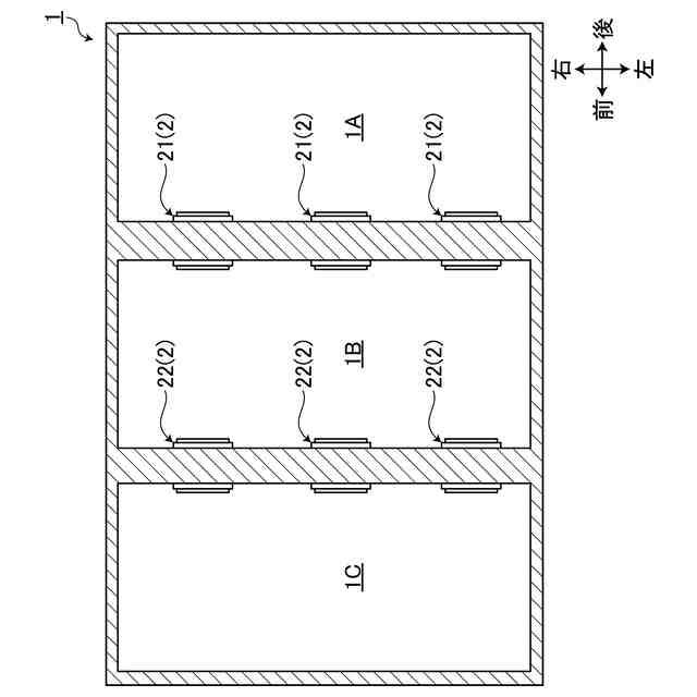
図1は、第1実施形態に係る処理施設を模式的に示す上面図である。
図2は、第1実施形態に係る処理施設を模式的に示す側面図である。
図3は、第1実施形態に係る洗浄器を模式的に示す図である。
図4は、第1実施形態に係る滅菌器を模式的に示す図である。
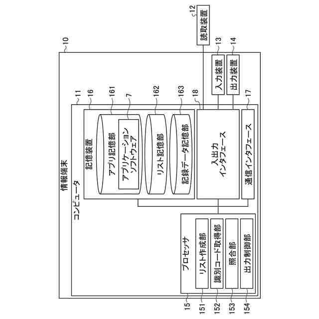
図5は、第1実施形態に係る情報端末を示すブロック図である。
図6は、第1実施形態に係る第1リストを説明する図である。
図7は、第1実施形態に係る第2リストを説明する図である。
図8は、第1実施形態に係る情報端末を模式的に示す図である。
図9は、第1実施形態に係る処理器と物品との照合方法を示すフローチャートである。
図10は、第1実施形態に係る記録データ記憶部に記憶される記録データを説明する図である。
図11は、第2実施形態に係る操作パネルを示す図である。
図12は、第3実施形態に係る処理システムを模式的に示す図である。
【発明を実施するための形態】
【0009】
[第1実施形態]
第1実施形態について説明する。
【0010】
<処理施設>
図1は、本実施形態に係る処理施設1を模式的に示す上面図である。図2は、第1実施形態に係る処理施設1を模式的に示す側面図である。処理施設1は、使用済の器具を洗浄及び滅菌する。器具として、医療用器具が例示される。医療用器具として、メス及び鉗子が例示される。器具を洗浄する洗浄器21及び器具を滅菌する滅菌器22が処理施設1に設置される。
(【0011】以降は省略されています)
この特許をJ-PlatPat(特許庁公式サイト)で参照する
関連特許
三浦工業株式会社
燃焼装置
12日前
三浦工業株式会社
燃焼装置
1か月前
三浦工業株式会社
撹拌装置
23日前
三浦工業株式会社
燃焼装置
12日前
三浦工業株式会社
貫流ボイラ
1か月前
三浦工業株式会社
ガス化装置
1か月前
三浦工業株式会社
燃焼システム
1か月前
三浦工業株式会社
流体殺菌装置
22日前
三浦工業株式会社
汚泥乾燥加熱釜
28日前
三浦工業株式会社
水蒸気発生装置
1か月前
三浦工業株式会社
ウエスコポンプ
1か月前
三浦工業株式会社
二重管接続構造
1か月前
三浦工業株式会社
水素貯蔵供給装置
1か月前
三浦工業株式会社
汚泥減容システム
1か月前
三浦工業株式会社
精製水供給システム
28日前
三浦工業株式会社
船舶用発電システム
1か月前
三浦工業株式会社
コンピュータプログラム
29日前
三浦工業株式会社
燃焼装置、アンモニア評価方法
1か月前
東京瓦斯株式会社
電力供給システム
1か月前
個人
ブラシ付きノズル
3か月前
個人
物体表面洗浄装置
1か月前
ノリタケ株式会社
洗浄装置
1か月前
株式会社シロハチ
長尺物用の清掃用具
3か月前
三浦工業株式会社
洗浄システム
2か月前
株式会社未来造形
チェーン洗浄具
1か月前
GOLDEN通商株式会社
ごみバンカの清掃方法
26日前
株式会社三幸社
衣服立体乾燥機の吊り下げ型掃除用具
27日前
大裕株式会社
敷鉄板表面の溶接残留物除去装置
2か月前
三浦工業株式会社
洗浄装置
3か月前
国立大学法人東海国立大学機構
微小重力環境用洗浄装置
26日前
栗田工業株式会社
管内面の洗浄用プラグ及び洗浄方法
1か月前
トヨタ自動車株式会社
配管洗浄装置
3か月前
ノリタケ株式会社
スラリーアイス洗浄装置用の管状部品
1か月前
キリンホールディングス株式会社
除去装置及び除去方法
14日前
工機ホールディングス株式会社
作業機
3か月前
株式会社奥村組
洗浄器具および洗浄方法
1か月前
続きを見る
他の特許を見る