TOP
|
特許
|
意匠
|
商標
特許ウォッチ
Twitter
他の特許を見る
10個以上の画像は省略されています。
公開番号
2025146763
公報種別
公開特許公報(A)
公開日
2025-10-03
出願番号
2025043477
出願日
2025-03-18
発明の名称
チェーン洗浄具
出願人
株式会社未来造形
代理人
個人
,
個人
主分類
B08B
1/12 20240101AFI20250926BHJP(清掃)
要約
【課題】簡易な構造でありながら効率的な洗浄が可能なチェーン洗浄具を提供する。
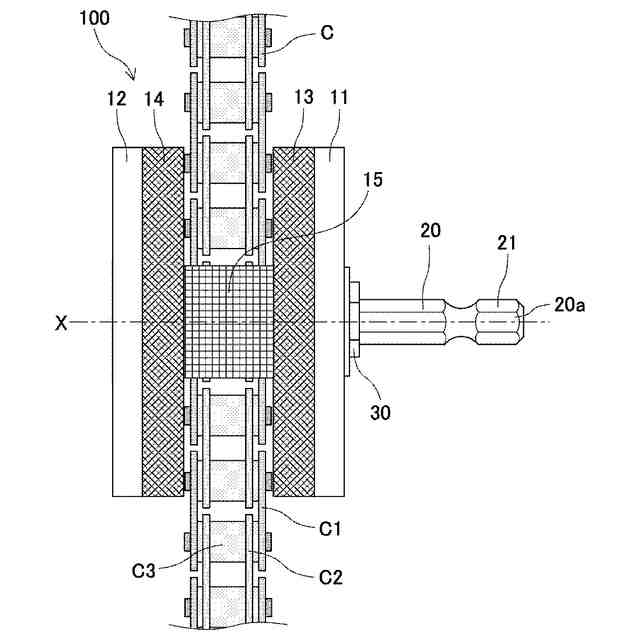
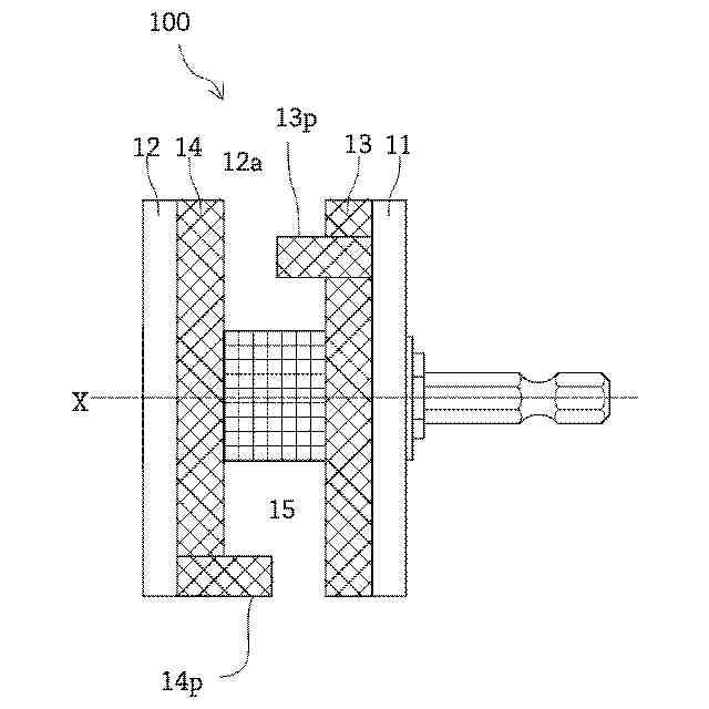
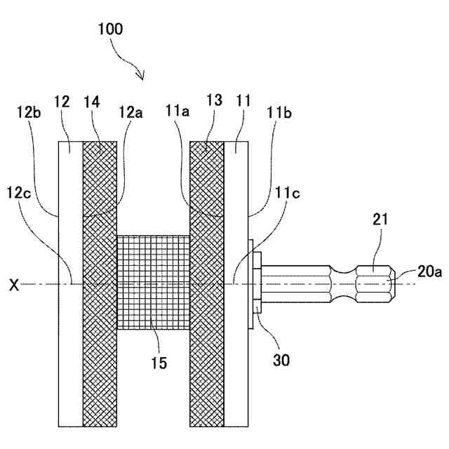
【解決手段】本発明のチェーン洗浄具100は、第1回転体11、第1回転体11と対向するように設けられた第2回転体12、第1回転体11の軸中心11cと第2回転体12の軸中心12cとを連結する連結軸20、及び、連結軸20の一端20a側に設けられ、電動ドライバD(回転駆動装置)に取り付け可能な取付部21を備える。第1回転体11が、内側面11aに第1ブラシ部13を有し、第2回転体12が、内側面12aに第2ブラシ部14を有する。
【選択図】図3
特許請求の範囲
【請求項1】
第1回転体、前記第1回転体と対向するように設けられた第2回転体、前記第1回転体の軸中心と前記第2回転体の軸中心とを連結する連結軸、及び、前記連結軸の一端側に設けられ、外部の回転駆動装置に取り付け可能な取付部を備え、
前記第1回転体が、内側面に第1ブラシ部を有し、
前記第2回転体が、内側面に第2ブラシ部を有する、チェーン洗浄具。
続きを表示(約 510 文字)
【請求項2】
前記第1回転体及び前記第2回転体が、円板形状を有しており、
前記連結軸は、前記第1回転体と前記第2回転体とが平行に離間するように連結している、請求項1に記載のチェーン洗浄具。
【請求項3】
前記連結軸は、前記第1回転体と前記第2回転体との間の外周面に第3ブラシ部を有する、請求項2に記載のチェーン洗浄具。
【請求項4】
前記第1回転体と前記第2回転体との間の前記連結軸の軸方向の長さが、洗浄されるべき駆動用チェーンの高さよりも大きい、請求項2に記載のチェーン洗浄具。
【請求項5】
前記第1回転体の周縁に設けられた第1飛沫飛散防止部、及び、前記第2回転体の周縁に設けられた第2飛沫飛散防止部をさらに備える、請求項1に記載のチェーン洗浄具。
【請求項6】
前記第1回転体と前記第2回転体との間の軸方向の距離が、前記連結軸に近づくにしたがって増加する、請求項1に記載のチェーン洗浄具。
【請求項7】
前記第1ブラシ部及び/又は前記第2ブラシ部が、部分的に毛足が長く形成された突出部を有する、請求項1に記載のチェーン洗浄具。
発明の詳細な説明
【技術分野】
【0001】
本発明は、自転車、自動二輪車、農業機械、コンベア等の駆動用チェーンや、各種の製造装置、包装装置、検査装置、工作機械等の産業機械に用いられる産業用チェーンの洗浄に用いられるチェーン洗浄具に関する。
続きを表示(約 1,800 文字)
【背景技術】
【0002】
自転車、自動二輪車、農業機械、コンベア等には、動力伝達のためにローラーチェーンと呼ばれる駆動用チェーンが用いられている。一般的に駆動用チェーンには鉄が用いられることが多く、錆や腐食が発生しやすい。また、油膜切れによるチェーンの固着、摩耗、破損等を防止するために、駆動用チェーンには潤滑油、グリース等の潤滑剤が塗布されているため、使用中に塵埃、ゴミ屑等が付着しやすく、そこから錆や腐食が発生しやすい。したがって、定期的な洗浄や清掃が求められるが、作業の面倒さと洗浄効率の低さから十分に行われていないことが多い。各種の製造装置、包装装置、検査・分析装置、工作機械等の産業機械に用いられる産業用チェーンにおいても、駆動用チェーンと同様の問題が存在している。
【0003】
駆動用チェーンや産業用チェーンの洗浄に用いる洗浄具として様々なものが提案されている。従来よく用いられているチェーン洗浄具としては、例えば、U字状の溝に内壁三方向からブラシを内側に向かって延設した洗浄部(特許文献1)に、持ち手となる柄をつけてなる柄付きブラシや、内部に回転するスプロケットブラシを複数並べ、その間にチェーンを通すように装着して横にスライドさせることによってチェーンを洗浄する洗浄装置(特許文献2)、内部に上下左右から延びるブラシを複数配置し、その間にチェーンを通すように装着して横にスライドさせることによってチェーンを洗浄する洗浄装置(特許文献3)等がある。
【先行技術文献】
【特許文献】
【0004】
特開平7-8867号公報
特開昭61-44082号公報
実登第3142774号公報
【発明の概要】
【発明が解決しようとする課題】
【0005】
しかし、このようなチェーンは用いられる機械等によってサイズ、構造等が異なるため、例えば、自転車専用の従来の洗浄具を用いて自動二輪車の駆動用チェーンを洗浄することは困難であった。また、チェーンは複数のプレート状部材(外プレート部材と内プレート部材)及びピンによって複数のコマを連結した複雑な構造を有するため、従来の洗浄具では、チェーンの外側に位置する外プレート部材の表面しか洗浄できず、例えば、隣り合う外プレート部材の間に露出している内プレート部材の表面まで洗浄することは困難であった。歯ブラシ等を使ってこのような部分の洗浄を別途行うことも可能ではあるが、その場合には洗浄にかなりの時間を要し、特にチェーンの裏側(タイヤ側)の洗浄作業はより困難であった。
【0006】
本発明は、このような問題に鑑みてなされたものであり、簡易な構造でありながら効率的な洗浄が可能なチェーン洗浄具を提供することを目的とする。
【課題を解決するための手段】
【0007】
上記目的を達成するため、本発明は、第1回転体、前記第1回転体と対向するように設けられた第2回転体、前記第1回転体の軸中心と前記第2回転体の軸中心とを連結する連結軸、及び、前記連結軸の一端側に設けられ、外部の回転駆動装置に取り付け可能な取付部を備え、前記第1回転体が、内側面に第1ブラシ部を有し、前記第2回転体が、内側面に第2ブラシ部を有する、チェーン洗浄具を提供する(発明1)。
【0008】
かかる発明(発明1)によれば、第1回転体と第2回転体との間にチェーンが位置するようにチェーン洗浄具を配置した状態で、取付部に電動ドライバ等の回転駆動装置を取り付けることにより、回転駆動装置の回転力を連結軸に伝達し、第1回転体及び第2回転体を回転させることができる。これにより、簡易な構造でありながら、第1ブラシ部及び第2ブラシ部によって、チェーンを効率的に洗浄することができる。
【0009】
上記発明(発明1)においては、前記第1回転体及び前記第2回転体が、円板形状を有しており、前記連結軸は、前記第1回転体と前記第2回転体とが平行に離間するように連結していてもよい(発明2)。
【0010】
かかる発明(発明2)によれば、第1回転体と第2回転体との間にチェーンが位置するようにチェーン洗浄具を配置しやすいので、チェーンをより効率的に洗浄することができる。
(【0011】以降は省略されています)
この特許をJ-PlatPat(特許庁公式サイト)で参照する
関連特許
株式会社未来造形
チェーン洗浄具
3日前
個人
ブラシ付きノズル
1か月前
個人
物体表面洗浄装置
10日前
三浦工業株式会社
洗浄システム
1か月前
株式会社シロハチ
長尺物用の清掃用具
1か月前
株式会社未来造形
チェーン洗浄具
3日前
有限会社アサヒライフ企画
2WAY水切りワイパー
3か月前
三浦工業株式会社
洗浄装置
2か月前
大裕株式会社
敷鉄板表面の溶接残留物除去装置
1か月前
トヨタ自動車株式会社
配管洗浄装置
2か月前
株式会社PFA
異物除去装置、異物除去方法およびプログラム
3か月前
株式会社ブリヂストン
配管清掃方法
3か月前
工機ホールディングス株式会社
作業機
2か月前
バンドー化学株式会社
クリーニング装置
4か月前
株式会社奥村組
洗浄器具および洗浄方法
3日前
株式会社松井製作所
液体供給装置及び液体供給方法
3か月前
日本ゼオン株式会社
光学フィルムの製造方法
27日前
ウエダ産業株式会社
敷板の清掃方法、載置用台座、及び、敷板清掃装置
4か月前
日本電気株式会社
ファン、制御方法、通知方法およびプログラム
7日前
株式会社ブルー・スターR&D
超音波照射装置
3か月前
個人
排水管洗浄システムの高圧ホース供給機
3か月前
国立大学法人九州工業大学
砂状粒子除去装置及び砂状粒子除去方法
3か月前
株式会社石野製作所
清掃方法、清掃用スポンジ及び清掃装置
2か月前
富士フイルムビジネスイノベーション株式会社
清掃装置
3か月前
三菱重工業株式会社
配管内部の付着物除去装置および方法
2か月前
株式会社ブリヂストン
洗浄ノズル補助部材及び洗浄ノズル
3か月前
日本電気硝子株式会社
シート支持具、シート材の洗浄装置及び洗浄方法
4か月前
三菱重工機械システム株式会社
残渣回収装置およびケース製造装置
3か月前
光洋機械産業株式会社
壁面洗浄装置
4か月前
バンドー化学株式会社
クリーニング装置およびクリーニング方法
4か月前
株式会社LIXIL
水垢の処理方法、着色剤、及び着色済み基材
1か月前
ジャパンマテックス株式会社
洗浄器及び洗浄器を含む洗浄装置
4か月前
パナソニックIPマネジメント株式会社
洗浄機
3か月前
株式会社キョウデンプレシジョン
洗浄機監視システム
4か月前
個人
押圧式の圧力調整洗浄スプレーヘッド、容器洗浄器及びその洗浄水槽
4か月前
PACRAFT株式会社
洗浄装置及び吐出装置
4か月前
続きを見る
他の特許を見る