TOP
|
特許
|
意匠
|
商標
特許ウォッチ
Twitter
他の特許を見る
10個以上の画像は省略されています。
公開番号
2025149056
公報種別
公開特許公報(A)
公開日
2025-10-08
出願番号
2024049491
出願日
2024-03-26
発明の名称
物流容器の洗浄装置及び洗浄方法
出願人
イフコ・ジャパン 株式会社
代理人
個人
,
個人
主分類
B08B
3/02 20060101AFI20251001BHJP(清掃)
要約
【課題】組立式の物流容器の洗浄装置において、洗浄水、特に高圧の洗浄水により、物流容器の側板同士の係合が外れ、側板が底板にのみ回転可能に支持された、ぶらぶらした非固定状態になることや、物流容器が分解、破損することを防止する。
【解決手段】コンベア4上に物流容器7を載せて自動的に搬送しつつ、洗浄室内2で、洗浄ノズル3から噴射される洗浄水で物流容器7を洗浄する洗浄装置1であって、物流容器7の側板72を内側から支持する支持部材5を備え、前記支持部材5は、側面視でコンベア4より上方に突出する第一位置と、側面視でコンベア4に隠れる第二位置を移動可能に設置されている物流容器の洗浄装置。
【選択図】 図1
特許請求の範囲
【請求項1】
コンベア上に物流容器を載せて自動的に搬送しつつ、洗浄室内で、洗浄ノズルから噴射される洗浄水で物流容器を洗浄する洗浄装置であって、物流容器の側板を内側から支持する支持機構を備えていることを特徴とする物流容器の洗浄装置。
続きを表示(約 1,300 文字)
【請求項2】
コンベア上に物流容器を載せて自動的に搬送しつつ、洗浄室内で、洗浄ノズルから噴射される洗浄水で物流容器を洗浄する洗浄装置であって、洗浄水の圧力による物流容器の側板の傾きを防止する支持機構を備えていることを特徴とする物流容器の洗浄装置。
【請求項3】
コンベア上に物流容器を載せて自動的に搬送しつつ、洗浄室内で、洗浄ノズルから噴射される洗浄水で物流容器を洗浄する洗浄装置であって、物流容器の側板を内側から支持する支持部材を備え、前記支持部材は、側面視で物流容器の側板と重なる第一位置と、側面視で物流容器の側板と重ならない第二位置に移動可能に設置されていることを特徴とする物流容器の洗浄装置。
【請求項4】
コンベア上に物流容器を載せて自動的に搬送しつつ、洗浄室内で、洗浄ノズルから噴射される洗浄水で物流容器を洗浄する洗浄装置であって、物流容器の側板を内側から支持する支持部材を備え、前記支持部材は、側面視でコンベアより上方に突出する第一位置と、側面視でコンベアに隠れる第二位置を移動可能に設置されていることを特徴とする物流容器の洗浄装置。
【請求項5】
コンベア上に物流容器を載せて自動的に搬送しつつ、洗浄室内で、洗浄ノズルから噴射される洗浄水で物流容器を洗浄する洗浄装置であって、物流容器の側板を内側から支持する支持機構を備え、前記支持機構は、物流容器の側板を内側から支持する支持部材と、前記支持部材を前記洗浄室内に、側面視で物流容器の側板と重なる第一位置と、側面視で物流容器の側板と重ならない第二位置に移動可能に設置する設置部材と、前記支持部材を前記第一位置に保持する保持部材とを備えていることを特徴とする物流容器の洗浄装置。
【請求項6】
前記保持部材は、弾性体を備えて構成されていることを特徴とする請求項5に記載の物流容器の洗浄装置。
【請求項7】
コンベア上に物流容器を載せて自動的に搬送しつつ、洗浄室内で、洗浄ノズルから噴射される洗浄水で物流容器を洗浄する洗浄装置であって、物流容器の側板を内側から支持する支持機構を備え、前記支持機構は、物流容器の側板を内側から支持する支持部材と、前記支持部材を前記洗浄室内に、側面視で前記コンベアより上方に突出する第一位置と、側面視で前記コンベアに隠れる第二位置に移動可能に設置する設置部材と、前記支持部材を、前記第一位置に保持する保持部材とを備えていることを特徴とする物流容器の洗浄装置。
【請求項8】
前記保持部材は、弾性体を備えて構成されていることを特徴とする請求項7に記載の物流容器の洗浄装置。
【請求項9】
前記支持部材は、物流容器に下方に押圧されていない通常時には第一位置に保持されていることを特徴とする請求項3から8のうちいずれか1項に記載の物流容器の洗浄装置。
【請求項10】
前記支持部材は、物流容器の押圧により第一位置から第二位置に移動可能に設置されていることを特徴とする請求項9に記載の物流容器の洗浄装置。
(【請求項11】以降は省略されています)
発明の詳細な説明
【技術分野】
【0001】
本発明は、物流容器の洗浄装置及び物流容器の洗浄方法に関する。
続きを表示(約 1,600 文字)
【背景技術】
【0002】
従来、野菜や果物等の農産物の物流にはダンボール箱が用いられているが、繰り返し使用することが出来る合成樹脂製の物流容器の使用も増加してきている。そして、合成樹脂製の物流容器は使用、回収、洗浄、使用というサイクルで再使用(リユース)されている。
【0003】
このような物流容器の再使用には、農家、農協、市場、小売等における使用者が物流容器を所有するのではなく、専門の業者が所有して使用者に貸与するレンタルシステムにより実現された流通サイクルがある。そして、このような物流容器の再使用は、このような物流容器のレンタルシステムにより、洗浄、清掃が行われて、リユースされていくことで、環境影響負荷を軽減する役割がある。
【0004】
このようなリユースレンタルを継続するにあたり、使用者その他の利用者が気持ちよく使える清浄度を保つための作業と品質管理は必須である。そのためには使用者及び利用者が不快となる野菜屑、害虫やカビ等の異物、土や砂埃などの汚れ、シール状ラベルを含む貼付されたラベル、貼付されたラベルを剥がした後に残った糊等の物流容器から除去すべき除去対象物を取り除き、物流容器の高い清浄度を保つことが重要となっている。
【0005】
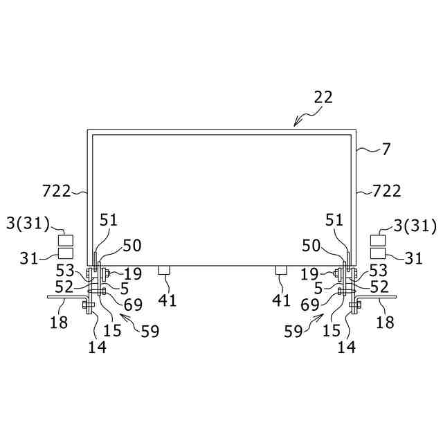
そして、このような合成樹脂製の物流容器は、運搬や保管の利便性から折畳み式の容器が使用され、長方形の底板と長辺側の2枚と短辺側の2枚の計4枚の側板で構成された、上部が開口した直方体であり、側板は底板に回転可能に支持され、4枚の側板を底板に重ねるように、内側に折畳みが可能な構成となっている。又、物流容器は、組立時には隣接する側板同士が係合しているので、側板は底板とは略垂直に固定されているが、側板同士の係合を解除する機構により側板を折畳むことが出来る。
【0006】
又、このような合成樹脂製の物流容器の洗浄方法としては、物流容器の搬送手段であるコンベア、洗浄手段、乾燥手段等を備えた洗浄装置を用いて、物流容器をコンベアに載置して移動させて洗浄工程、乾燥工程等を連続して行う方法が用いられている(特許文献1)。このような従来の洗浄装置は、基本的機能として粗洗浄機能、本洗浄機能及び濯ぎ機能を備えて構成され、一直線状に配置されているものが多い。洗浄装置での物流容器の洗浄方法としては、主に温水のみ又は温水と洗剤を組合せた洗浄方法が採用され、これらの洗浄及び濯ぎは、夫々洗浄ノズルと濯ぎノズルから噴射される洗浄水、濯ぎ水等の水等により行われている。
【0007】
又、物流容器は、洗浄装置内では、内部に水やごみが残らないように、上下を逆にして、即ち、上部開口を下に向けてコンベアに載置されて、洗浄されていることが多い。
【0008】
しかし、カビ等の異物、土や砂埃などの重度の汚れ、ラベル、ラベルを剥がした後に残った糊等の除去対象物は通常の洗浄工程では確実に落とすことが出来ない為、適切な処置をすることが望まれていた。特に、側板に貼付されたラベルは、人力でスクレイパーを使用して削り取ることも行われているが、糊も含めて完全に取り除くことは困難であり、又、物流容器が傷ついてしまうという問題点もあった。
【0009】
そこで、通常の洗浄工程前又は後に、洗浄ノズルや濯ぎノズルから噴射される洗浄水、濯ぎ水の通常の圧力より高い圧力の高圧洗浄を行い、上記のような除去対象物を除去することも行われていた。そして、特にラベルを剥がすための高圧洗浄ノズルを設け、洗浄装置内の物流容器の外側、進行方向の側面に設置することも行われていた。
【先行技術文献】
【特許文献】
【0010】
特開2018-202359号公報
【発明の概要】
【発明が解決しようとする課題】
(【0011】以降は省略されています)
この特許をJ-PlatPat(特許庁公式サイト)で参照する
関連特許
イフコ・ジャパン 株式会社
物流容器の洗浄装置及び洗浄方法
1か月前
個人
物体表面洗浄装置
2か月前
個人
ブラシ付きノズル
3か月前
ノリタケ株式会社
洗浄装置
1か月前
三浦工業株式会社
洗浄システム
2か月前
株式会社シロハチ
長尺物用の清掃用具
3か月前
株式会社未来造形
チェーン洗浄具
1か月前
株式会社カスタム・クール・センター
スクレーパー
2日前
GOLDEN通商株式会社
ごみバンカの清掃方法
1か月前
大裕株式会社
敷鉄板表面の溶接残留物除去装置
3か月前
株式会社三幸社
衣服立体乾燥機の吊り下げ型掃除用具
1か月前
三浦工業株式会社
洗浄装置
4か月前
国立大学法人東海国立大学機構
微小重力環境用洗浄装置
1か月前
株式会社神鋼環境ソリューション
洗浄装置および処理装置
2日前
トヨタ自動車株式会社
配管洗浄装置
4か月前
栗田工業株式会社
管内面の洗浄用プラグ及び洗浄方法
1か月前
ノリタケ株式会社
スラリーアイス洗浄装置用の管状部品
1か月前
キリンホールディングス株式会社
除去装置及び除去方法
25日前
株式会社神鋼環境ソリューション
洗浄装置、処理装置および管路
2日前
工機ホールディングス株式会社
作業機
4か月前
東朋テクノロジー株式会社
ガラス保護板の洗浄装置
11日前
株式会社松井製作所
液体供給装置及び液体供給方法
5か月前
株式会社奥村組
洗浄器具および洗浄方法
1か月前
株式会社エスエスティー
異形物体の洗浄方法
1か月前
日鉄テックスエンジ株式会社
ツール清掃装置
1か月前
イフコ・ジャパン 株式会社
物流容器の洗浄装置及び洗浄方法
1か月前
三浦工業株式会社
コンピュータプログラム
1か月前
日本電気株式会社
ファン、制御方法、通知方法およびプログラム
2か月前
日本ゼオン株式会社
光学フィルムの製造方法
2か月前
リンテック株式会社
清掃装置および清掃方法
1か月前
ノリタケ株式会社
スラリーアイス洗浄装置およびスラリーアイス洗浄方法
1か月前
ノリタケ株式会社
スラリーアイス洗浄装置およびスラリーアイス洗浄方法
1か月前
ノリタケ株式会社
スラリーアイス洗浄装置およびスラリーアイス洗浄方法
1か月前
富士フイルムビジネスイノベーション株式会社
清掃装置
4か月前
株式会社石野製作所
清掃方法、清掃用スポンジ及び清掃装置
4か月前
三菱重工業株式会社
配管内部の付着物除去装置および方法
4か月前
続きを見る
他の特許を見る