TOP
|
特許
|
意匠
|
商標
特許ウォッチ
Twitter
他の特許を見る
公開番号
2025170541
公報種別
公開特許公報(A)
公開日
2025-11-19
出願番号
2024075201
出願日
2024-05-07
発明の名称
ガラス保護板の洗浄装置
出願人
東朋テクノロジー株式会社
代理人
弁理士法人サトー
主分類
B08B
1/32 20240101AFI20251112BHJP(清掃)
要約
【課題】スループットの向上を図ることができるガラス保護板の洗浄装置を提供する。
【解決手段】ガラス保護板の洗浄装置1は、半導体基板から剥離されたガラス保護板901を洗浄する洗浄装置1であって、一枚のガラス保護板901に付着した有機物を除去するための枚葉式洗浄部20と、乾燥機能を備え、複数枚のガラス保護板901に付着した金属を除去するためのバッチ式洗浄部40と、枚葉式洗浄部20とバッチ式洗浄部40との間でガラス保護板901を搬送する搬送部と、を備える。
【選択図】図1
特許請求の範囲
【請求項1】
半導体基板から剥離されたガラス保護板を洗浄する洗浄装置であって、
一枚のガラス保護板に付着した有機物を除去するための枚葉式洗浄部と、
乾燥機能を備え、複数枚のガラス保護板に付着した金属を除去するためのバッチ式洗浄部と、
前記枚葉式洗浄部と前記バッチ式洗浄部との間でガラス保護板を搬送する搬送部と、を備える、
ガラス保護板の洗浄装置。
続きを表示(約 430 文字)
【請求項2】
前記搬送部は、前記枚葉式洗浄部で洗浄されたガラス保護板を前記バッチ式洗浄部に対して搬送し、
前記バッチ式洗浄部は、前記枚葉式洗浄部で洗浄された複数枚のガラス保護板を一括して洗浄する、
請求項1に記載のガラス保護板の洗浄装置。
【請求項3】
前記枚葉式洗浄部は、前記ガラス保護板を洗浄する保護板洗浄部材と、前記保護板洗浄部材に接触し前記保護板洗浄部材を洗浄する自己洗浄部材と、を有する、
請求項1に記載のガラス保護板の洗浄装置。
【請求項4】
前記枚葉式洗浄部及び前記バッチ式洗浄部による洗浄の前後における前記ガラス保護板の厚みを測定する厚み測定部を更に備える、
請求項1に記載のガラス保護板の洗浄装置。
【請求項5】
前記枚葉式洗浄部と前記バッチ式洗浄部とは、相互の位置関係が変更可能に構成されている、
請求項1に記載のガラス保護板の洗浄装置。
発明の詳細な説明
【技術分野】
【0001】
本発明の実施形態は、ガラス保護板の洗浄装置に関する。
続きを表示(約 1,800 文字)
【背景技術】
【0002】
従来、複数の半導体チップを樹脂の封止材でモールドして形成された加工基板の寸法変形を抑制するために、加工基板を支持するための支持基板としてガラス基板を用いることが行われている。加工基板とガラス基板とは、接着層を介して相互に固定される。そして、加工基板に対する所定の加工処理が行われた後には、加工基板からガラス基板が剥離され、剥離後のガラス基板は洗浄後に再利用が行われる。
【先行技術文献】
【特許文献】
【0003】
特開2015-078113号公報
【発明の概要】
【発明が解決しようとする課題】
【0004】
ところで、加工基板から剥離した後のガラス基板の洗浄においては、当該ガラス基板に付着した例えばカーボンなどの有機物やめっきなどの金属などの各種の異物に対応する必要がある。そして、洗浄性能を確保しながら、スループットの向上を図ることができる洗浄装置の設計が望まれている。
【0005】
本発明は上記事情に鑑みてなされたものであり、その目的は、スループットの向上を図ることができるガラス保護板の洗浄装置を提供することにある。
【課題を解決するための手段】
【0006】
実施形態のガラス保護板の洗浄装置は、半導体基板から剥離されたガラス保護板を洗浄する洗浄装置であって、一枚のガラス保護板に付着した有機物を除去するための枚葉式洗浄部と、乾燥機能を備え、複数枚のガラス保護板に付着した金属を除去するためのバッチ式洗浄部と、前記枚葉式洗浄部と前記バッチ式洗浄部との間でガラス保護板を搬送する搬送部と、を備える。
【図面の簡単な説明】
【0007】
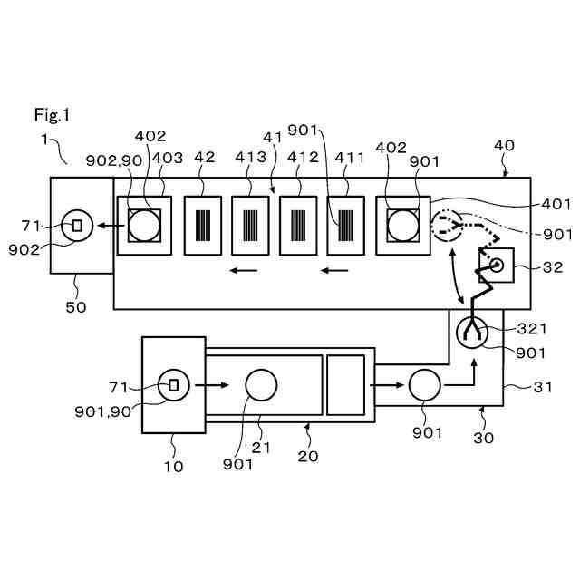
一実施形態によるガラス保護板の洗浄装置の構成の一例を概略的に示す図
一実施形態によるガラス保護板の洗浄装置について、(a)は半導体基板に対して接着層を介してガラス保護板が接着された状態を示す図、(b)は半導体基板から剥離された状態のガラス保護板を示す図
一実施形態によるガラス保護板の洗浄装置について、ガラス保護板の搬送方向から見た場合のブラシ洗浄機構の構成の一例を示す図
一実施形態によるガラス保護板の洗浄装置について、(a)は保護板洗浄部材によってガラス保護板を洗浄している状態を示す図、(b)は自己洗浄部材によって保護板洗浄部材を洗浄している状態を示す図
一実施形態によるガラス保護板の洗浄方法のフローの一例を示す図
【発明を実施するための形態】
【0008】
以下、一実施形態について図面を参照しながら説明する。なお、以下の説明で用いる図面は、実施形態の特徴を分かり易くするために、便宜上部分的に拡大して示している場合があり、各構成要素の寸法比率などが実際と同じであるとは限らない。
【0009】
図1に示す洗浄装置1は、半導体基板80から剥離されたガラス保護板90を洗浄する際に用いられる。洗浄とは、薬液に浸漬させることによる処理、ブラシなどを用いた物理的な接触による処理、乾燥による処理などが含まれる。洗浄装置1によって洗浄されたガラス保護板90は再利用可能である。半導体基板80は、例えばウエハ基板やフレキシブル基板で構成されている。洗浄装置1の被洗浄物であるガラス保護板90は、図2(a)に示すように、半導体基板80に接着層81を介して接着されることで、半導体基板80を支持することができる。接着層81は、例えばレーザから照射される光を吸収することで変質する剥離層を含んで構成できる。
【0010】
ガラス保護板90は、ガラスを主要な材料として、例えば略円形状に形成されている。ガラス保護板90は、半導体基板80に対して薄化や実装などの所定の加工処理が行われて、接着層81が除去されることで、半導体基板80から剥離される。剥離されたガラス保護板90における、接着層81を介して半導体基板80が設けられる側の面である表面には、図2(b)に示すように、例えばカーボンなどの有機物やめっきなどの金属などの各種の異物Fが付着している。洗浄装置1は、ガラス保護板90の表面に付着した異物Fを除去するための装置である。
(【0011】以降は省略されています)
この特許をJ-PlatPat(特許庁公式サイト)で参照する
関連特許
個人
ブラシ付きノズル
3か月前
個人
物体表面洗浄装置
2か月前
ノリタケ株式会社
洗浄装置
1か月前
三浦工業株式会社
洗浄システム
2か月前
株式会社シロハチ
長尺物用の清掃用具
3か月前
株式会社未来造形
チェーン洗浄具
1か月前
株式会社カスタム・クール・センター
スクレーパー
2日前
GOLDEN通商株式会社
ごみバンカの清掃方法
1か月前
有限会社アサヒライフ企画
2WAY水切りワイパー
5か月前
株式会社三幸社
衣服立体乾燥機の吊り下げ型掃除用具
1か月前
三浦工業株式会社
洗浄装置
4か月前
大裕株式会社
敷鉄板表面の溶接残留物除去装置
3か月前
国立大学法人東海国立大学機構
微小重力環境用洗浄装置
1か月前
株式会社神鋼環境ソリューション
洗浄装置および処理装置
2日前
トヨタ自動車株式会社
配管洗浄装置
4か月前
栗田工業株式会社
管内面の洗浄用プラグ及び洗浄方法
1か月前
キリンホールディングス株式会社
除去装置及び除去方法
25日前
株式会社PFA
異物除去装置、異物除去方法およびプログラム
5か月前
株式会社ブリヂストン
配管清掃方法
5か月前
ノリタケ株式会社
スラリーアイス洗浄装置用の管状部品
1か月前
工機ホールディングス株式会社
作業機
4か月前
東朋テクノロジー株式会社
ガラス保護板の洗浄装置
11日前
株式会社神鋼環境ソリューション
洗浄装置、処理装置および管路
2日前
株式会社奥村組
洗浄器具および洗浄方法
1か月前
株式会社松井製作所
液体供給装置及び液体供給方法
5か月前
株式会社エスエスティー
異形物体の洗浄方法
1か月前
三浦工業株式会社
コンピュータプログラム
1か月前
イフコ・ジャパン 株式会社
物流容器の洗浄装置及び洗浄方法
1か月前
日鉄テックスエンジ株式会社
ツール清掃装置
1か月前
日本ゼオン株式会社
光学フィルムの製造方法
2か月前
日本電気株式会社
ファン、制御方法、通知方法およびプログラム
2か月前
リンテック株式会社
清掃装置および清掃方法
1か月前
株式会社ブルー・スターR&D
超音波照射装置
5か月前
個人
排水管洗浄システムの高圧ホース供給機
5か月前
ノリタケ株式会社
スラリーアイス洗浄装置およびスラリーアイス洗浄方法
1か月前
国立大学法人九州工業大学
砂状粒子除去装置及び砂状粒子除去方法
5か月前
続きを見る
他の特許を見る