TOP
|
特許
|
意匠
|
商標
特許ウォッチ
Twitter
他の特許を見る
10個以上の画像は省略されています。
公開番号
2025174740
公報種別
公開特許公報(A)
公開日
2025-11-28
出願番号
2024081288
出願日
2024-05-17
発明の名称
洗浄装置および処理装置
出願人
株式会社神鋼環境ソリューション
代理人
個人
主分類
B08B
3/02 20060101AFI20251120BHJP(清掃)
要約
【課題】洗浄対象物を効率よく洗浄できる、洗浄装置および処理装置を提供する。
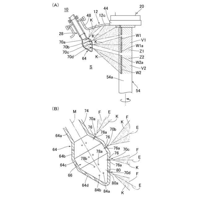
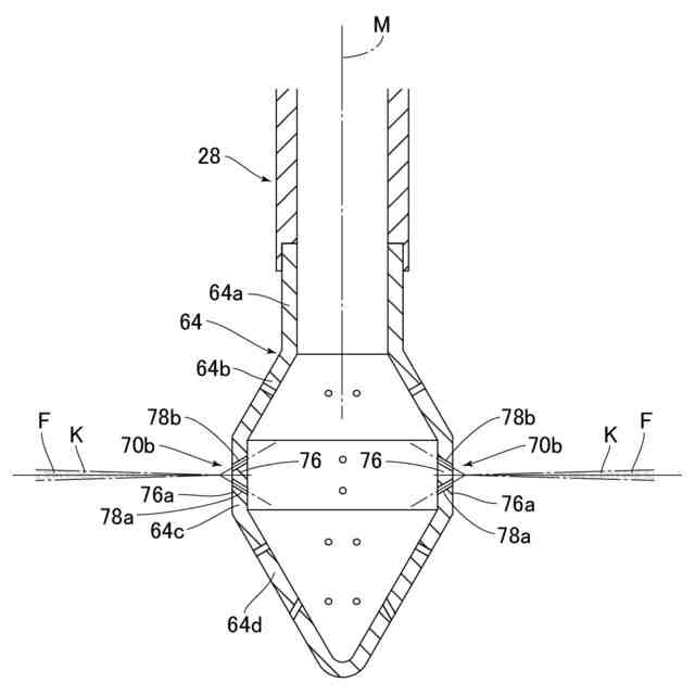
【解決手段】洗浄装置は、処理装置に組み込まれて使用される。洗浄装置は、洗浄装置本体64と、圧力室66と、圧力室66に洗浄液Kを供給するように洗浄装置本体に設けられた洗浄液供給口と、洗浄領域に向けて洗浄液を噴射するように洗浄装置本体に設けられた複数の噴射部70a~70dとを備える。複数の噴射部70a~70dのそれぞれは、洗浄装置本体の壁部の一部である噴射壁部76,80と、噴射壁部の外面76a,80aに開口するように噴射壁部に形成され、洗浄装置本体の外部の空間Sと圧力室とを連通させる一対の噴射孔78a,78bおよび84a,84bとを有し、一対の噴射孔は、これらから柱状に噴射された洗浄液が互いに衝突して扇形に広がるように形成され、少なくとも2つの噴射部の噴射壁部は、これらの外面が互いに異なる方向を向くように形成される。
【選択図】図3
特許請求の範囲
【請求項1】
部材の洗浄領域に洗浄液を線状に当てて前記部材を洗浄する洗浄装置であって、
洗浄装置本体と、
前記洗浄装置本体の内部に形成された圧力室と、
前記圧力室に洗浄液を供給するように前記洗浄装置本体に設けられた洗浄液供給口と、
前記洗浄領域に向けて洗浄液を噴射するように前記洗浄装置本体に設けられた複数の噴射部とを備え、
複数の前記噴射部のそれぞれは、前記圧力室を構成する前記洗浄装置本体の壁部の一部である噴射壁部と、前記噴射壁部の外面に開口するように前記噴射壁部に形成され、前記洗浄装置本体の外部の空間と前記圧力室とを連通させる一対の噴射孔とを有し、
一対の前記噴射孔は、これらから柱状に噴射された洗浄液が互いに衝突して扇形に広がるように形成され、
少なくとも2つの前記噴射部の前記噴射壁部は、これらの外面が互いに異なる方向を向くように形成される、洗浄装置。
続きを表示(約 1,700 文字)
【請求項2】
一対の前記噴射孔から噴射された洗浄液が扇形に広がる領域を扇形噴射領域としたとき、
少なくとも2つの前記噴射部に対応する前記扇形噴射領域は1つの仮想平面に沿って構成される、請求項1に記載の洗浄装置。
【請求項3】
少なくとも2つの前記噴射部に対応する前記扇形噴射領域は一部において重なる、請求項2に記載の洗浄装置。
【請求項4】
複数の前記噴射部のうちの2つを第1噴射部および第2噴射部とし、
一対の前記噴射孔のそれぞれの中心線を含む仮想平面を第1基準面とし、一対の前記噴射孔のそれぞれの中心線と前記噴射孔が形成されていないと仮定したときの前記壁部の仮想外面とが交わる点を基準点とし、2つの前記基準点を含んで前記壁部の厚さ方向に広がる仮想平面を第2基準面としたとき、
前記第1噴射部における前記第1基準面と前記第2基準面とが交わる第1角度と、前記第2噴射部における前記第1基準面と前記第2基準面とが交わる第2角度とは、互いに異なるように定められる、請求項1に記載の洗浄装置。
【請求項5】
前記洗浄装置本体における互いに反対側に位置する2つの端部のうちの一方を基端部とし、他方を先端部としたとき、
前記基端部には、前記洗浄液供給口が設けられ、
前記先端部には、先端側に向かって段差なく滑らかに先細りとなる形状の先細り部が形成され、
複数の前記噴射部のうちの少なくとも1つが前記先細り部に設けられる、請求項1ないし4のいずれか1項に記載の洗浄装置。
【請求項6】
前記洗浄装置本体における互いに反対側に位置する2つの端部のうちの一方を基端部とし、他方を先端部としたとき、
前記基端部には、前記洗浄液供給口が設けられ、
前記洗浄装置本体における前記洗浄液供給口よりも先端側には、先端側に向かって段差なく滑らかに先広がりとなる形状の先広がり部が形成され、
複数の前記噴射部のうちの少なくとも1つが前記先広がり部に設けられる、請求項1ないし4のいずれか1項に記載の洗浄装置。
【請求項7】
被処理物を収容する収容空間を有する容器本体と、請求項1ないし4のいずれか1項に記載の洗浄装置とを有する容器を備える処理装置であって、
前記洗浄装置本体は、前記収容空間に配置される、処理装置。
【請求項8】
前記部材は、前記容器本体とは独立して細長い形状に形成され、
前記部材を長さ方向に延びる回転中心で回転させるための回転駆動装置を備える、請求項7に記載の処理装置。
【請求項9】
前記部材の外周面で軸方向に並ぶ2つの前記洗浄領域を第1洗浄領域および第2洗浄領域とし、前記第1洗浄領域における洗浄液が線状に当たる任意の部分を第1被噴射部とし、前記第2洗浄領域における洗浄液が線状に当たる任意の部分を第2被噴射部とし、
前記第1被噴射部の前記第2被噴射部に近接する端部を通って前記部材の周方向に延びる領域を第1端部領域とし、前記第2被噴射部の前記第1被噴射部に近接する端部を通って前記部材の周方向に延びる領域を第2端部領域としたとき、
前記第1端部領域と前記第2端部領域とが重なる、請求項8に記載の処理装置。
【請求項10】
被処理物を収容する収容空間を有する容器本体と、前記容器本体に接続された管路と、請求項1ないし4のいずれか1項に記載の洗浄装置とを有する容器を備える処理装置であって、
前記管路は、前記収容空間に連通する内部空間を有する主管と、前記主管の管壁から分岐して前記主管から遠ざかるにつれて位置が高くなるように設けられた枝管とを有し、
前記洗浄装置本体は、前記主管の内部空間に前記主管の長さ方向に延びて配置された管状部分を有し、
複数の前記噴射部のうちの少なくとも1つが前記枝管の内面に向けて洗浄液を噴射するように前記管状部分に設けられる、処理装置。
発明の詳細な説明
【技術分野】
【0001】
本発明は、部材の洗浄領域に洗浄液を線状に当てて部材を洗浄する洗浄装置および当該洗浄装置を備える処理装置に関する。
続きを表示(約 1,900 文字)
【背景技術】
【0002】
従来の洗浄装置の一例が、下記特許文献1、2および3に記載されている。
【0003】
特許文献1に記載されたスプレーノズル(洗浄装置)は、槽(容器)の内部空間に配置される洗浄ノズルと、洗浄ノズルに洗浄液を供給するための洗浄液供給管とを備えている。このスプレーノズルを用いて洗浄対象物を洗浄する際には、洗浄液供給管から洗浄ノズルに洗浄液が供給される。すると、その洗浄液が、洗浄ノズルに形成された複数の洗浄液噴射穴から柱状に噴射され、洗浄対象物に対して点状に当てられる。
【0004】
しかしながら、特許文献1に記載されたスプレーノズルでは、洗浄対象物に対して洗浄液を点状に当てる噴射態様、すなわち点状の噴射態様が採用されているため、設計の自由度が低く、洗浄対象物を効率よく洗浄することが困難であるという問題があった。特に、洗浄対象物が細長い形状であれば、設計者は、洗浄液噴射穴の数を多くするとともに、洗浄液の噴射方向を細かく調整する必要があり、コスト面および技術面から設計の自由度が制限されていた。
【0005】
特許文献2に記載された洗浄装置は、密閉タンク(容器)の内部空間に配置される導入管と、導入管に設けられた複数の噴射ノズルとを備えており、細長い形状のスクリュウ翼を洗浄できるように構成されている。この洗浄装置を用いてスクリュウ翼を洗浄する際には、導入管から複数の噴射ノズルのそれぞれに洗浄液が供給される。すると、その洗浄液が、噴射ノズルに設けられた噴射口から扇形に噴射され、スクリュウ翼に対して線状に当てられる。つまり、この洗浄装置では、線状の噴射態様が採用されている。したがって、点状の噴射態様が採用されている洗浄装置と比べて、洗浄対象物を効率よく洗浄することができる。
【0006】
しかしながら、特許文献2に記載された洗浄装置では、複数の噴射ノズルが導入管の管壁に長さ方向に間隔を隔てて設けられるので、導入管の長さを長くする必要があり、洗浄装置のサイズが大きくなっていた。そのため、この洗浄装置を密閉タンクの内部空間に常設した場合には、洗浄装置が粉体(被処理物)を撹拌する際に妨げになるおそれがあり、結局、常設することが困難であった。また、洗浄液を扇形に噴射するための噴射口の構造が複雑なため、製造コストが高くなるという問題があった。
【0007】
特許文献3に記載された噴霧ノズルは、円筒の正面壁に形成された一対の噴出孔を備えており、簡単な構造で農薬水を扇形に噴霧することができるように構成されている。しかしながら、この噴霧ノズルは、農薬水を散布する用途に用いられるものであり、洗浄対象物を洗浄する用途については、考慮されていなかった。したがって、この噴霧ノズルと特許文献2の噴射ノズルとは、形状および大きさが全く異なっており、この噴霧ノズルを特許文献2の噴射ノズルに組み合わせることは容易ではなかった。
【先行技術文献】
【特許文献】
【0008】
特許第4606208号公報
特開2000-237567号公報
実開昭49-143005号公報
【発明の概要】
【0009】
本発明は上記問題に対処するためになされたものであり、簡単かつコンパクトな構造でありながら、洗浄対象物を効率よく洗浄できる、洗浄装置および処理装置を提供することを目的とする。
【0010】
上記目的を達成するため、本発明に係る洗浄装置の特徴は、部材の洗浄領域に洗浄液を線状に当てて前記部材を洗浄する洗浄装置であって、洗浄装置本体と、前記洗浄装置本体の内部に形成された圧力室と、前記圧力室に洗浄液を供給するように前記洗浄装置本体に設けられた洗浄液供給口と、前記洗浄領域に向けて洗浄液を噴射するように前記洗浄装置本体に設けられた複数の噴射部とを備え、複数の前記噴射部のそれぞれは、前記圧力室を構成する前記洗浄装置本体の壁部の一部である噴射壁部と、前記噴射壁部の外面に開口するように前記噴射壁部に形成され、前記洗浄装置本体の外部の空間と前記圧力室とを連通させる一対の噴射孔とを有し、一対の前記噴射孔は、これらから柱状に噴射された洗浄液が互いに衝突して扇形に広がるように形成され、少なくとも2つの前記噴射部の前記噴射壁部は、これらの外面が互いに異なる方向を向くように形成されることにある。
(【0011】以降は省略されています)
この特許をJ-PlatPat(特許庁公式サイト)で参照する
関連特許
個人
ブラシ付きノズル
3か月前
個人
物体表面洗浄装置
2か月前
ノリタケ株式会社
洗浄装置
1か月前
株式会社シロハチ
長尺物用の清掃用具
3か月前
三浦工業株式会社
洗浄システム
2か月前
株式会社未来造形
チェーン洗浄具
1か月前
株式会社カスタム・クール・センター
スクレーパー
1日前
GOLDEN通商株式会社
ごみバンカの清掃方法
1か月前
三浦工業株式会社
洗浄装置
4か月前
大裕株式会社
敷鉄板表面の溶接残留物除去装置
2か月前
株式会社三幸社
衣服立体乾燥機の吊り下げ型掃除用具
1か月前
国立大学法人東海国立大学機構
微小重力環境用洗浄装置
1か月前
株式会社神鋼環境ソリューション
洗浄装置および処理装置
1日前
トヨタ自動車株式会社
配管洗浄装置
4か月前
栗田工業株式会社
管内面の洗浄用プラグ及び洗浄方法
1か月前
ノリタケ株式会社
スラリーアイス洗浄装置用の管状部品
1か月前
キリンホールディングス株式会社
除去装置及び除去方法
24日前
株式会社神鋼環境ソリューション
洗浄装置、処理装置および管路
1日前
東朋テクノロジー株式会社
ガラス保護板の洗浄装置
10日前
工機ホールディングス株式会社
作業機
4か月前
株式会社エスエスティー
異形物体の洗浄方法
1か月前
株式会社奥村組
洗浄器具および洗浄方法
1か月前
日鉄テックスエンジ株式会社
ツール清掃装置
1か月前
イフコ・ジャパン 株式会社
物流容器の洗浄装置及び洗浄方法
1か月前
三浦工業株式会社
コンピュータプログラム
1か月前
日本電気株式会社
ファン、制御方法、通知方法およびプログラム
2か月前
日本ゼオン株式会社
光学フィルムの製造方法
2か月前
リンテック株式会社
清掃装置および清掃方法
1か月前
ノリタケ株式会社
スラリーアイス洗浄装置およびスラリーアイス洗浄方法
1か月前
ノリタケ株式会社
スラリーアイス洗浄装置およびスラリーアイス洗浄方法
1か月前
ノリタケ株式会社
スラリーアイス洗浄装置およびスラリーアイス洗浄方法
1か月前
株式会社石野製作所
清掃方法、清掃用スポンジ及び清掃装置
4か月前
三菱重工業株式会社
配管内部の付着物除去装置および方法
4か月前
株式会社IHIインフラ建設
ワイヤロープ油除去装置
1か月前
トヨタ自動車株式会社
雄ねじに付着した異物を除去する治具
23日前
株式会社LIXIL
水垢の処理方法、着色剤、及び着色済み基材
3か月前
続きを見る
他の特許を見る