TOP
|
特許
|
意匠
|
商標
特許ウォッチ
Twitter
他の特許を見る
公開番号
2025150582
公報種別
公開特許公報(A)
公開日
2025-10-09
出願番号
2024051552
出願日
2024-03-27
発明の名称
清掃装置および清掃方法
出願人
リンテック株式会社
代理人
弁理士法人樹之下知的財産事務所
主分類
B08B
5/04 20060101AFI20251002BHJP(清掃)
要約
【課題】清掃対象物が吸引によってシート部材から剥離することを防止することができる清掃装置および清掃方法を提供する。
【解決手段】清掃装置EAは、清掃対象物WK1、WK2に貼付されたシート部材ASを保持面11Aで保持する保持手段10と、保持面11Aでシート部材ASが保持された清掃対象物WK1、WK2を吸引し、当該清掃対象物WK1、WK2を清掃する吸引手段20とを備え、清掃対象物WK1、WK2の厚みを取得する取得手段30と、取得手段30で取得された清掃対象物WK1、WK2の厚みを基に、保持面11Aから吸引手段20までの距離を調整する距離調整手段40とを備えている。
【選択図】図1
特許請求の範囲
【請求項1】
清掃対象物に貼付されたシート部材を保持面で保持する保持手段と、
前記保持面で前記シート部材が保持された前記清掃対象物を吸引し、当該清掃対象物を清掃する吸引手段とを備え、
前記清掃対象物の厚みを取得する取得手段と、
前記取得手段で取得された前記清掃対象物の厚みを基に、前記保持面から前記吸引手段までの距離を調整する距離調整手段とを備えていることを特徴とする清掃装置。
続きを表示(約 370 文字)
【請求項2】
前記保持手段と前記吸引手段とを前記保持面に平行な方向に相対移動させる移動手段を備え、
前記移動手段は、前記取得手段で取得された前記清掃対象物の厚みを基に、前記保持手段と前記吸引手段との相対移動速度を調整する速度調整手段を備えていることを特徴とする請求項1に記載の清掃装置。
【請求項3】
清掃対象物に貼付されたシート部材を保持手段の保持面で保持する保持工程と、
前記保持面で前記シート部材が保持された前記清掃対象物を吸引手段で吸引し、当該清掃対象物を清掃する吸引工程とを実施し、
前記清掃対象物の厚みを取得する取得工程と、
前記取得工程で取得された前記清掃対象物の厚みを基に、前記保持面から前記吸引手段までの距離を調整する距離調整工程とを実施することを特徴とする清掃方法。
発明の詳細な説明
【技術分野】
【0001】
本発明は、清掃装置および清掃方法に関する。
続きを表示(約 1,300 文字)
【背景技術】
【0002】
保持面で保持された清掃対象物を吸引し、当該清掃対象物を清掃する清掃装置が知られている(例えば、特許文献1参照)。
【先行技術文献】
【特許文献】
【0003】
特開2021-68858号公報
【発明の概要】
【発明が解決しようとする課題】
【0004】
特許文献1に記載された清掃装置EA(清掃装置)では、支持面22A(保持面)から吸引機構10(吸引手段)までの距離を、清掃対象物WK(清掃対象物)の曲げ剛性に影響する清掃対象物の厚みに応じて調整しないため、清掃対象物に貼付されたシート部材を保持面で保持して清掃対象物を清掃しようとすると、清掃対象物の厚みが薄くなるほど、清掃対象物が吸引によって湾曲してシート部材から浮き上がろうとし、清掃対象物がシート部材から剥離する可能性がある。
【0005】
本発明の目的は、清掃対象物が吸引によってシート部材から剥離することを防止することができる清掃装置および清掃方法を提供することにある。
【課題を解決するための手段】
【0006】
本発明は、請求項に記載した構成を採用した。
【発明の効果】
【0007】
本発明によれば、清掃対象物の厚みを基に、保持面から吸引手段までの距離を調整するため、清掃対象物が吸引によってシート部材から剥離することを防止することができる。
【図面の簡単な説明】
【0008】
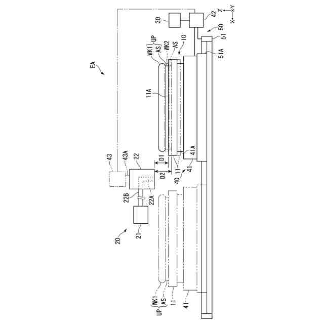
本発明の一実施形態に係る清掃装置の説明図。
【発明を実施するための形態】
【0009】
以下、本発明の一実施形態を図面に基づいて説明する。
なお、本実施形態におけるX軸、Y軸、Z軸は、それぞれが直交する関係にあり、X軸およびY軸は、所定平面内の軸とし、Z軸は、前記所定平面に直交する軸とする。さらに、本実施形態では、Y軸と平行な図1の手前方向から観た場合を基準とし、方向を示した場合、「上」がZ軸の矢印方向で「下」がその逆方向、「左」がX軸の矢印方向で「右」がその逆方向、「前」がY軸と平行な図1中手前方向で「後」がその逆方向とする。
【0010】
清掃装置EAは、清掃対象物WK1、WK2に貼付されたシート部材ASを保持面11Aで保持する保持工程を実施する保持手段10と、保持面11Aでシート部材ASが保持された清掃対象物WK1、WK2を吸引し、当該清掃対象物WK1、WK2を清掃する吸引工程を実施する吸引手段20と、清掃対象物WK1、WK2の厚みを取得する取得工程を実施する取得手段としての操作パネルやパーソナルコンピュータ等の操作手段30と、操作手段30で取得された清掃対象物WK1、WK2の厚みを基に、保持面11Aから吸引手段20までの距離を調整する距離調整工程を実施する距離調整手段40と、保持手段10と吸引手段20とを保持面11Aに平行な方向である左右方向に相対移動させる移動工程を実施する移動手段50とを備えている。
(【0011】以降は省略されています)
この特許をJ-PlatPat(特許庁公式サイト)で参照する
関連特許
個人
物体表面洗浄装置
16日前
個人
ブラシ付きノズル
1か月前
ノリタケ株式会社
洗浄装置
2日前
株式会社シロハチ
長尺物用の清掃用具
1か月前
三浦工業株式会社
洗浄システム
1か月前
株式会社未来造形
チェーン洗浄具
9日前
有限会社アサヒライフ企画
2WAY水切りワイパー
4か月前
大裕株式会社
敷鉄板表面の溶接残留物除去装置
1か月前
三浦工業株式会社
洗浄装置
2か月前
栗田工業株式会社
管内面の洗浄用プラグ及び洗浄方法
4日前
トヨタ自動車株式会社
配管洗浄装置
2か月前
ノリタケ株式会社
スラリーアイス洗浄装置用の管状部品
2日前
株式会社PFA
異物除去装置、異物除去方法およびプログラム
3か月前
株式会社ブリヂストン
配管清掃方法
3か月前
工機ホールディングス株式会社
作業機
2か月前
株式会社奥村組
洗浄器具および洗浄方法
9日前
株式会社松井製作所
液体供給装置及び液体供給方法
3か月前
日鉄テックスエンジ株式会社
ツール清掃装置
3日前
イフコ・ジャパン 株式会社
物流容器の洗浄装置及び洗浄方法
4日前
日本電気株式会社
ファン、制御方法、通知方法およびプログラム
13日前
日本ゼオン株式会社
光学フィルムの製造方法
1か月前
リンテック株式会社
清掃装置および清掃方法
3日前
株式会社ブルー・スターR&D
超音波照射装置
3か月前
個人
排水管洗浄システムの高圧ホース供給機
3か月前
国立大学法人九州工業大学
砂状粒子除去装置及び砂状粒子除去方法
3か月前
ノリタケ株式会社
スラリーアイス洗浄装置およびスラリーアイス洗浄方法
2日前
ノリタケ株式会社
スラリーアイス洗浄装置およびスラリーアイス洗浄方法
2日前
ノリタケ株式会社
スラリーアイス洗浄装置およびスラリーアイス洗浄方法
2日前
株式会社石野製作所
清掃方法、清掃用スポンジ及び清掃装置
2か月前
富士フイルムビジネスイノベーション株式会社
清掃装置
3か月前
株式会社ブリヂストン
洗浄ノズル補助部材及び洗浄ノズル
3か月前
三菱重工業株式会社
配管内部の付着物除去装置および方法
2か月前
三菱重工機械システム株式会社
残渣回収装置およびケース製造装置
3か月前
株式会社LIXIL
水垢の処理方法、着色剤、及び着色済み基材
2か月前
パナソニックIPマネジメント株式会社
洗浄機
3か月前
フェッテ コンパクティング ゲーエムベーハー
錠剤またはカプセルの除塵装置および方法
3か月前
続きを見る
他の特許を見る