TOP
|
特許
|
意匠
|
商標
特許ウォッチ
Twitter
他の特許を見る
公開番号
2025174766
公報種別
公開特許公報(A)
公開日
2025-11-28
出願番号
2024089528
出願日
2024-05-15
発明の名称
スクレーパー
出願人
株式会社カスタム・クール・センター
代理人
主分類
B08B
1/16 20240101AFI20251120BHJP(清掃)
要約
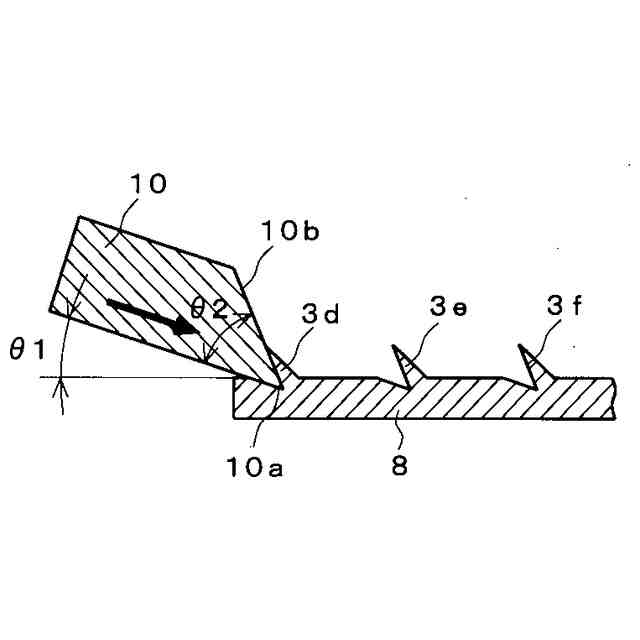
【課題】 略円弧状に屈曲した本体部の外周面に形成した複数の刃のいずれかを使用することにより、長時間の剥離作業が行えるスクレーパーを提供する。
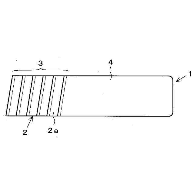
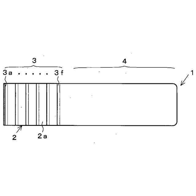
【解決手段】 スクレーパー1は、把持部4を有する板状の本体部2を略円弧状に屈曲するとともに、本体部2の外周面に複数の刃3を平行に起立形成している。
【選択図】図1
特許請求の範囲
【請求項1】
把持部を有する板状の本体部を略円弧状に屈曲するとともに、前記本体部の外周面に複数の刃を平行に起立形成したことを特徴とするスクレーパー。
続きを表示(約 160 文字)
【請求項2】
前記把持部と前記本体部は金属板によって一体に形成され、複数の前記刃は、前記金属板を掘り起こすことにより起立形成した請求項1に記載のスクレーパー。
【請求項3】
複数の前記刃は、刃先が鋭角に形成され、前記刃先が前記把持部と反対の前端方向に向けた請求項1に記載のスクレーパー。
発明の詳細な説明
【技術分野】
【0001】
本発明は、板状の本体部が略円弧状に屈曲され、この本体部の外周面に複数の刃を平行に起立形成したスクレーパーに関する。
続きを表示(約 1,400 文字)
【背景技術】
【0002】
金属やプラスチックなどの表面に付着した古い塗料やサビ或いは堆積した汚れを剥がし取るための道具として、先端にヘラ状の刃を設けたスクレーパーが使用される。このスクレーパーは、例えば、実用新案登録第3228521号公報(特許文献1)に示されているように、柄部に平板状のヘラが固定され、ヘラの先端の刃が形成されている。また、特開平9-23988号公報(特許文献2)は、柄に備えた鋼板からなるヘラの自由端に、超硬、セラミック等の硬質な刃先を設けることが開示されている。
【0003】
一般に使用されているスクレーパーは、金属板やプラスチックからなるヘラの先端の形成される刃によって、古い塗料やサビを剥離するため、刃の先端を鋭角に形成している。しかし、刃の先端が使用するに連れて摩耗することから、スクレーパーとしての機能が低下し、スクレーパー本体を取り替えなければならない問題があった。この問題を解消するため、特開2007-68609号公報(特許文献3)には、刃を折ることにより、新しいエッジを創出することが提案されている。
【先行技術文献】
【特許文献】
【0004】
実用新案登録第3228521号公報
特開平9-23988号公報
特開2007-68609号公報
【発明の開示】
【発明が解決しようとする課題】
【0005】
特許文献1、2に開示されたスクレーパーは、ヘラの先端を刃として使用して塗料やサビを除去しているが、長時間剥離作業を行った場合、刃が摩耗してエッジがなくなるため、剥離作業が困難になる。このように、刃が摩耗した場合には、スクレーパー本体を廃棄しなければならない問題がある。また、特許文献3に開示されたスクレーパーは、刃を折ることにより新たなエッジを創出するようにしているが、幅広の刃、或いは板厚が厚い刃の場合は、刃を折ることが困難であり、小型なスクレーパーに限定されてしまう問題がある。
【0006】
本発明が解決しようとする課題は、略円弧状に屈曲した本体部の外周面に形成した複数の刃のいずれかを使用することにより、長時間の剥離作業が行えるスクレーパーを提供することにある。
【課題を解決するための手段】
【0007】
上記課題を解決するため、本発明によるスクレーパーは、把持部を有する板状の本体部を略円弧状に屈曲するとともに、本体部の外周面に複数の刃を平行に起立形成したことを要旨としている。
【0008】
また、スクレーパーの把持部と本体部は金属板によって一体に形成され、複数の刃は、金属板を掘り起こすことにより起立形成するようにしている。
【0009】
さらに、複数の刃は、鋭角に形成した刃先が把持部と反対の前端方向に向けている。
【発明の効果】
【0010】
本発明によれば、板状の本体部を略円弧状に屈曲し、略円弧状の本体部の外周面に複数の刃を平行に起立形成しているので、本体部の角度を変えることにより、複数の刃のいずれかを使用することによって塗料やサビなどを剥離するができる。このように、1個のスクレーパーに複数の刃を形成していることから、刃の枚数分となる長時間の剥離作業が可能になる。
(【0011】以降は省略されています)
この特許をJ-PlatPat(特許庁公式サイト)で参照する
関連特許
個人
ブラシ付きノズル
3か月前
個人
物体表面洗浄装置
2か月前
ノリタケ株式会社
洗浄装置
1か月前
三浦工業株式会社
洗浄システム
2か月前
株式会社シロハチ
長尺物用の清掃用具
3か月前
株式会社未来造形
チェーン洗浄具
1か月前
株式会社カスタム・クール・センター
スクレーパー
1日前
GOLDEN通商株式会社
ごみバンカの清掃方法
1か月前
大裕株式会社
敷鉄板表面の溶接残留物除去装置
2か月前
三浦工業株式会社
洗浄装置
4か月前
株式会社三幸社
衣服立体乾燥機の吊り下げ型掃除用具
1か月前
国立大学法人東海国立大学機構
微小重力環境用洗浄装置
1か月前
株式会社神鋼環境ソリューション
洗浄装置および処理装置
1日前
トヨタ自動車株式会社
配管洗浄装置
4か月前
栗田工業株式会社
管内面の洗浄用プラグ及び洗浄方法
1か月前
キリンホールディングス株式会社
除去装置及び除去方法
24日前
ノリタケ株式会社
スラリーアイス洗浄装置用の管状部品
1か月前
東朋テクノロジー株式会社
ガラス保護板の洗浄装置
10日前
株式会社神鋼環境ソリューション
洗浄装置、処理装置および管路
1日前
工機ホールディングス株式会社
作業機
4か月前
株式会社エスエスティー
異形物体の洗浄方法
1か月前
株式会社奥村組
洗浄器具および洗浄方法
1か月前
イフコ・ジャパン 株式会社
物流容器の洗浄装置及び洗浄方法
1か月前
日鉄テックスエンジ株式会社
ツール清掃装置
1か月前
三浦工業株式会社
コンピュータプログラム
1か月前
日本電気株式会社
ファン、制御方法、通知方法およびプログラム
2か月前
日本ゼオン株式会社
光学フィルムの製造方法
2か月前
リンテック株式会社
清掃装置および清掃方法
1か月前
ノリタケ株式会社
スラリーアイス洗浄装置およびスラリーアイス洗浄方法
1か月前
ノリタケ株式会社
スラリーアイス洗浄装置およびスラリーアイス洗浄方法
1か月前
ノリタケ株式会社
スラリーアイス洗浄装置およびスラリーアイス洗浄方法
1か月前
株式会社石野製作所
清掃方法、清掃用スポンジ及び清掃装置
4か月前
富士フイルムビジネスイノベーション株式会社
清掃装置
4か月前
三菱重工業株式会社
配管内部の付着物除去装置および方法
4か月前
株式会社IHIインフラ建設
ワイヤロープ油除去装置
1か月前
トヨタ自動車株式会社
雄ねじに付着した異物を除去する治具
23日前
続きを見る
他の特許を見る