TOP
|
特許
|
意匠
|
商標
特許ウォッチ
Twitter
他の特許を見る
公開番号
2025131166
公報種別
公開特許公報(A)
公開日
2025-09-09
出願番号
2024028721
出願日
2024-02-28
発明の名称
光学フィルムの製造方法
出願人
日本ゼオン株式会社
代理人
弁理士法人酒井国際特許事務所
主分類
B08B
11/00 20060101AFI20250902BHJP(清掃)
要約
【課題】洗浄工程における使用水量が削減された光学フィルムの製造方法。
【解決手段】光学フィルムの製造方法であって、前記光学フィルムはプラスチックフィルムを含み、前記製造方法は、長尺の前記プラスチックフィルムを洗浄する洗浄工程(B)を含み、前記洗浄工程(B)は、搬送される前記プラスチックフィルムの幅方向における部分の表面に水を付着させる工程(B1)、前記プラスチックフィルムの前記部分の表面に付着させた水を前記プラスチックフィルムの幅方向外側へ拡げる工程(B2)、及び前記プラスチックフィルムの表面上の水を除去する工程(B3)、をこの順で含み、前記工程(B2)における水を拡げることが、前記プラスチックフィルムの表面に対向して配置されたロールを回転させる工程(B21)を含むか、または、前記プラスチックフィルムの前記部分の表面に付着させた水に気体を吹きつける工程(B22)を含む、光学フィルムの製造方法。
【選択図】図1
特許請求の範囲
【請求項1】
光学フィルムの製造方法であって、
前記光学フィルムはプラスチックフィルムを含み、
前記製造方法は、長尺の前記プラスチックフィルムを洗浄する洗浄工程(B)を含み、
前記洗浄工程(B)は、
搬送される前記プラスチックフィルムの幅方向における部分の表面に水を付着させる工程(B1)、
前記プラスチックフィルムの前記部分の表面に付着させた水を前記プラスチックフィルムの幅方向外側へ拡げる工程(B2)、及び
前記プラスチックフィルムの表面上の水を除去する工程(B3)、
をこの順で含み、
前記工程(B2)における水を拡げることが、前記プラスチックフィルムの表面に対向して配置されたロールを回転させる工程(B21)を含むか、または、前記プラスチックフィルムの前記部分の表面に付着させた水に気体を吹きつける工程(B22)を含む、光学フィルムの製造方法。
続きを表示(約 1,000 文字)
【請求項2】
前記水を付着させる前記部分の幅W
C
の、前記プラスチックフィルムの幅W
T
に対する割合(W
C
/W
T
)が、0.10以上0.50以下である、請求項1に記載の光学フィルムの製造方法。
【請求項3】
前記洗浄工程(B)が、前記工程(B21)と、前記プラスチックフィルムの幅方向外側へ拡がる水を堰き止める工程(B23)とを含み、前記工程(B23)における水の堰き止めが、前記ロールの回転軸方向における両端部に配置された補助ロールを、前記プラスチックフィルムの表面に接した状態で回転させることにより行われる、請求項1に記載の光学フィルムの製造方法。
【請求項4】
前記工程(B3)における水の除去が、前記プラスチックフィルムの表面に気体を吹き付けることを含む、請求項1に記載の光学フィルムの製造方法。
【請求項5】
前記工程(B3)における水の除去が、吸引ロールの周面を前記プラスチックフィルムの表面に接触させることを含み、
前記吸引ロールの周面が複数の細孔を有し、前記複数の細孔から前記プラスチックフィルムの表面に付着する水を吸引する、請求項1に記載の光学フィルムの製造方法。
【請求項6】
前記工程(B3)における水の除去が、前記プラスチックフィルムの表面に気体を吹き付けること、次いで前記プラスチックフィルムを加熱することを含む、請求項1に記載の光学フィルムの製造方法。
【請求項7】
前記工程(B3)における水の除去が、吸引ロールの周面を前記プラスチックフィルムの表面に接触させること、次いで前記プラスチックフィルムを加熱することを含み、
前記吸引ロールの周面が複数の細孔を有し、前記複数の細孔から前記プラスチックフィルムの表面に付着する水を吸引する、請求項1に記載の光学フィルムの製造方法。
【請求項8】
前記洗浄工程(B)の前に、前記プラスチックフィルムを表面処理する工程(A)を含む、請求項1に記載の光学フィルムの製造方法。
【請求項9】
前記洗浄工程(B)の後に、前記プラスチックフィルムの表面上に液状組成物を塗工する工程(C)を含む、請求項1に記載の光学フィルムの製造方法。
【請求項10】
前記洗浄工程(B)の後に、前記プラスチックフィルムを延伸する工程(D)を含む、請求項1に記載の光学フィルムの製造方法。
発明の詳細な説明
【技術分野】
【0001】
本発明は、光学フィルムの製造方法に関する。
続きを表示(約 2,900 文字)
【背景技術】
【0002】
光学分野において用いられる光学フィルムは、その製造過程において水による洗浄工程を行って、混入した埃、繊維、フィルム片などの塵芥を除去することがある。例えば特許文献1には、光学フィルムの材料であるプラスチックフィルムを、純水により複数段で洗浄して、かかる塵芥を除去することが記載されている。
【先行技術文献】
【特許文献】
【0003】
特開2007-105662号公報
【発明の概要】
【発明が解決しようとする課題】
【0004】
光学フィルムには、一般フィルムと比較して、光学的欠陥、物理的欠陥などの欠陥が少ないことが求められるため、前記の塵芥や水溶性の汚れなどを取り除くために、光学フィルムの製造過程において、水による洗浄工程を設けることが好ましい。
一方、省資源及び省コストの観点から、洗浄工程における使用水量を削減することが求められる。
したがって、洗浄工程における使用水量が削減された光学フィルムの製造方法が求められる。
【課題を解決するための手段】
【0005】
本発明者は、前記課題を解決するべく、鋭意検討した結果、光学フィルムに含まれるプラスチックフィルムの洗浄工程を、特定の工程を含む工程とすることにより、前記課題を解決しうることを見出し、本発明を完成させた。
すなわち、本発明は、以下を提供する。
【0006】
<1> 光学フィルムの製造方法であって、
前記光学フィルムはプラスチックフィルムを含み、
前記製造方法は、長尺の前記プラスチックフィルムを洗浄する洗浄工程(B)を含み、
前記洗浄工程(B)は、
搬送される前記プラスチックフィルムの幅方向における部分の表面に水を付着させる工程(B1)、
前記プラスチックフィルムの前記部分の表面に付着させた水を前記プラスチックフィルムの幅方向外側へ拡げる工程(B2)、及び
前記プラスチックフィルムの表面上の水を除去する工程(B3)、
をこの順で含み、
前記工程(B2)における水を拡げることが、前記プラスチックフィルムの表面に対向して配置されたロールを回転させる工程(B21)を含むか、または、前記プラスチックフィルムの前記部分の表面に付着させた水に気体を吹きつける工程(B22)を含む、光学フィルムの製造方法。
<2> 前記水を付着させる前記部分の幅W
C
の、前記プラスチックフィルムの幅W
T
に対する割合(W
C
/W
T
)が、0.10以上0.50以下である、<1>に記載の光学フィルムの製造方法。
<3> 前記洗浄工程(B)が、前記工程(B21)と、前記プラスチックフィルムの幅方向外側へ拡がる水を堰き止める工程(B23)とを含み、前記工程(B23)における水の堰き止めが、前記ロールの回転軸方向における両端部に配置された補助ロールを、前記プラスチックフィルムの表面に接した状態で回転させることにより行われる、<1>又は<2>に記載の光学フィルムの製造方法。
<4> 前記工程(B3)における水の除去が、前記プラスチックフィルムの表面に気体を吹き付けることを含む、<1>~<3>のいずれか一項に記載の光学フィルムの製造方法。
<5> 前記工程(B3)における水の除去が、吸引ロールの周面を前記プラスチックフィルムの表面に接触させることを含み、
前記吸引ロールの周面が複数の細孔を有し、前記複数の細孔から前記プラスチックフィルムの表面に付着する水を吸引する、<1>~<4>のいずれか一項に記載の光学フィルムの製造方法。
<6> 前記工程(B3)における水の除去が、前記プラスチックフィルムの表面に気体を吹き付けること、次いで前記プラスチックフィルムを加熱することを含む、<1>~<5>のいずれか一項に記載の光学フィルムの製造方法。
<7> 前記工程(B3)における水の除去が、吸引ロールの周面を前記プラスチックフィルムの表面に接触させること、次いで前記プラスチックフィルムを加熱することを含み、
前記吸引ロールの周面が複数の細孔を有し、前記複数の細孔から前記プラスチックフィルムの表面に付着する水を吸引する、<1>~<6>のいずれか一項に記載の光学フィルムの製造方法。
<8> 前記洗浄工程(B)の前に、前記プラスチックフィルムを表面処理する工程(A)を含む、<1>~<7>のいずれか一項に記載の光学フィルムの製造方法。
<9> 前記洗浄工程(B)の後に、前記プラスチックフィルムの表面上に液状組成物を塗工する工程(C)を含む、<1>~<8>のいずれか一項に記載の光学フィルムの製造方法。
<10> 前記洗浄工程(B)の後に、前記プラスチックフィルムを延伸する工程(D)を含む、<1>~<9>のいずれか一項に記載の光学フィルムの製造方法。
【発明の効果】
【0007】
本発明によれば、洗浄工程における使用水量が削減された光学フィルムの製造方法を提供できる。
【図面の簡単な説明】
【0008】
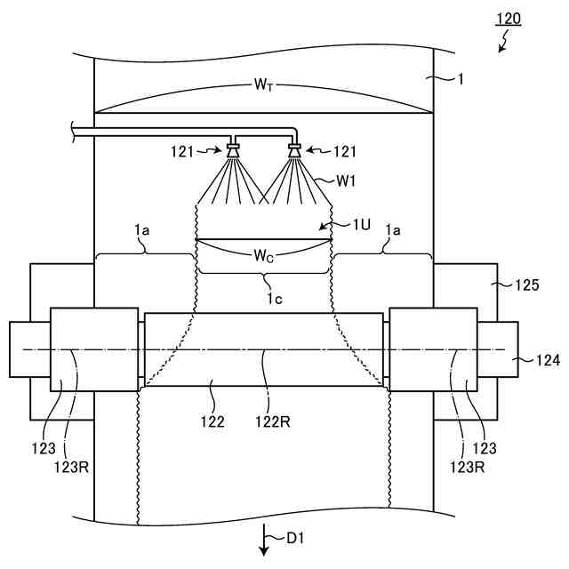
図1は、実施形態1に係る光学フィルムの製造方法を実施しうる、製造装置の一例を示す概略図である。
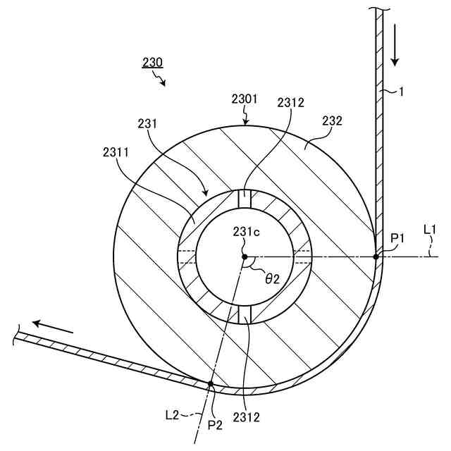
図2は、実施形態1に係る洗浄装置の一例を示す概略図である。
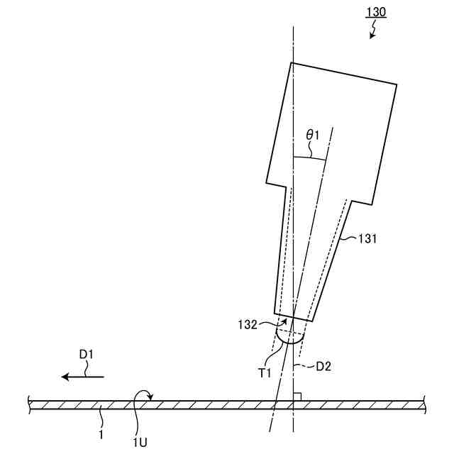
図3は、実施形態1に係る洗浄装置の一部分を模式的に示す部分図である。
図4は、実施形態1に係る送風装置の一例を示す模式図である。
図5は、実施形態2に係る光学フィルムの製造方法を実施しうる、製造装置の一例を示す概略図である。
図6は、実施形態2に係る吸引ロールの一例を模式的に示す断面図である。
図7は、実施形態2に係る吸引ロールの一例を模式的に示す別の断面図である。
【発明を実施するための形態】
【0009】
以下、本発明について実施形態及び例示物を示して詳細に説明する。ただし、本発明は以下に示す実施形態及び例示物に限定されるものではなく、本発明の特許請求の範囲及びその均等の範囲を逸脱しない範囲において任意に変更して実施しうる。以下に示す実施形態の構成要素は、適宜組み合わせうる。また、図において、同一の構成要素には同一の符号を付し、その説明を省略する場合がある。
【0010】
以下の説明において、「長尺」のフィルムとは、幅に対して、5倍以上の長さを有するフィルムをいい、好ましくは10倍若しくはそれ以上の長さを有し、具体的にはロール状に巻き取られて保管又は運搬される程度の長さを有するフィルムをいう。フィルムの長さの上限は、特に制限は無く、例えば、幅に対して10万倍以下としうる。
(【0011】以降は省略されています)
この特許をJ-PlatPat(特許庁公式サイト)で参照する
関連特許
日本ゼオン株式会社
構造体
25日前
日本ゼオン株式会社
熱伝導シート
1か月前
日本ゼオン株式会社
シースアダプタ
1か月前
日本ゼオン株式会社
キャップ及び容器
1か月前
日本ゼオン株式会社
エポキシ樹脂組成物
1か月前
日本ゼオン株式会社
医療機器用偏向操作装置
1か月前
日本ゼオン株式会社
延伸フィルムの製造方法
1か月前
日本ゼオン株式会社
医療機器用偏向操作装置
1か月前
日本ゼオン株式会社
硫化カルボニルの製造方法
1か月前
日本ゼオン株式会社
IABP用バルーンカテーテル
1か月前
日本ゼオン株式会社
負極及びナトリウムイオン電池
1か月前
日本ゼオン株式会社
熱伝導シート及びその製造方法
1か月前
日本ゼオン株式会社
電極活物質層の製造方法及び製造装置
1か月前
日本ゼオン株式会社
ボンド磁石の製造方法及びボンド磁石
1か月前
日本ゼオン株式会社
識別媒体、物品、及び識別媒体の使用方法
1か月前
日本ゼオン株式会社
熱伝導シート及び熱伝導シートの製造方法
1か月前
日本ゼオン株式会社
熱伝導シート及び熱伝導シートの製造方法
1か月前
日本ゼオン株式会社
熱伝導シート及び熱伝導シートの製造方法
1か月前
日本ゼオン株式会社
熱伝導シート及び熱伝導シートの製造方法
1か月前
日本ゼオン株式会社
非水系二次電池用負極材料シートの製造方法
1か月前
日本ゼオン株式会社
細胞培養容器および細胞培養容器の製造方法
1か月前
日本ゼオン株式会社
カーボンナノチューブ乾燥物及びその製造方法
1か月前
日本ゼオン株式会社
ポジ型レジスト組成物およびレジストパターン形成方法
1か月前
日本ゼオン株式会社
光電変換素子の製造方法
17日前
日本ゼオン株式会社
変性共役ジエン系重合体、ゴム組成物、ゴム架橋物およびタイヤの製造方法
1か月前
日本ゼオン株式会社
マイクロプレートおよびその製造方法、ならびにマイクロプレート成形用金型
1か月前
ZSエラストマー株式会社
エラストマーペレットの製造方法
3日前
日本ゼオン株式会社
誘電体層用バインダー組成物、誘電体層用スラリー組成物、誘電体層、及び積層セラミックコンデンサ
1か月前
個人
ブラシ付きノズル
3か月前
個人
物体表面洗浄装置
2か月前
ノリタケ株式会社
洗浄装置
1か月前
三浦工業株式会社
洗浄システム
2か月前
株式会社シロハチ
長尺物用の清掃用具
3か月前
株式会社未来造形
チェーン洗浄具
1か月前
株式会社カスタム・クール・センター
スクレーパー
2日前
GOLDEN通商株式会社
ごみバンカの清掃方法
1か月前
続きを見る
他の特許を見る