TOP
|
特許
|
意匠
|
商標
特許ウォッチ
Twitter
他の特許を見る
公開番号
2025152530
公報種別
公開特許公報(A)
公開日
2025-10-10
出願番号
2024054458
出願日
2024-03-28
発明の名称
IABP用バルーンカテーテル
出願人
日本ゼオン株式会社
代理人
弁理士法人有我国際特許事務所
主分類
A61M
25/10 20130101AFI20251002BHJP(医学または獣医学;衛生学)
要約
【課題】IABP実施時の血流生成を適切に補助してIABPの効果を向上させることが可能なIABP用バルーンカテーテルを提供する。
【解決手段】本発明に係るIABP用バルーンカテーテル10は、カテーテルチューブ30と、カテーテルチューブ30の遠位端に取り付けられた先端チップ20と、カテーテルチューブ30の遠位端部に設けられており、カテーテルチューブ30の近位側から供給される流体により拡張可能なバルーン40と、を有し、バルーン40が、筒状に形成されているバルーン母体100により構成されており、バルーン母体100の近位端部130が、カテーテルチューブ30に接合されており、バルーン母体100の遠位端部120が、カテーテルチューブ30に取り付けられたバルーン母体100の近位端部130に対して周方向に所定角度以上回転した状態で、先端チップ20またはカテーテルチューブ30に接合されていることを特徴とする。
【選択図】図5
特許請求の範囲
【請求項1】
カテーテルチューブと、
前記カテーテルチューブの遠位端に取り付けられた先端チップと、
前記カテーテルチューブの遠位端部に設けられており、前記カテーテルチューブの近位側から供給される流体により拡張可能なバルーンと、を有し、
前記バルーンが、筒状に形成されているバルーン母体により構成されており、
前記バルーン母体の近位端部が、前記カテーテルチューブに接合されており、
前記バルーン母体の遠位端部が、前記カテーテルチューブに取り付けられた前記バルーン母体の近位端部に対して周方向に所定角度回転した状態で、前記先端チップまたは前記カテーテルチューブに接合されていることを特徴とするIABP用バルーンカテーテル。
発明の詳細な説明
【技術分野】
【0001】
本発明は、IABP(Intra-Aortic Balloon Pumping:大動脈内バルーンポンピング)において体内に挿入されるIABP用バルーンカテーテルに関する。
続きを表示(約 2,100 文字)
【背景技術】
【0002】
従来、低下した心機能を補助する補助循環法の1つとしてIABPが知られている。IABPでは、一般的に胸部下行大動脈にバルーンを配置し、心臓の拍動に合わせてバルーンを拡張および収縮させる。心臓の収縮期にバルーンを拡張させて冠動脈へ流れる血流量を増加させ、心臓の拡張期にバルーンを収縮させて心臓から胸部下行大動脈を経由して全身へ血液を流れやすくすることで、心機能を補助することができる。
【0003】
IABPで用いられるバルーンカテーテルは、カテーテルチューブの遠位端部に、拡張および収縮可能なバルーンが取り付けられており、カテーテルチューブの近位側からバルーン内部に送り込むヘリウムガス等の流体量を制御することにより、バルーンを拡張および収縮させることができるように構成されている(例えば下記の特許文献1)。
【先行技術文献】
【特許文献】
【0004】
特開2020-130883号公報
【発明の概要】
【発明が解決しようとする課題】
【0005】
IABPではバルーンを拡張および収縮させる動作が行われるが、バルーンの拡張および収縮によって、バルーン周囲の血流が乱れてしまう場合がある。その結果、所望の方向へ血液が流れにくくなって冠動脈および全身へ流す血液量が低下してしまい、IABPの効果が低減してしまうおそれがある。
【0006】
本発明は、上記のような問題に鑑みてなされたものであり、IABPを実施した際の血流生成を適切に補助してIABPの効果を向上させることが可能なIABP用バルーンカテーテルを提供することを目的とする。
【課題を解決するための手段】
【0007】
上記目的を達成するため、本発明に係るIABP用バルーンカテーテルは、カテーテルチューブと、前記カテーテルチューブの遠位端に取り付けられた先端チップと、前記カテーテルチューブの遠位端部に設けられており、前記カテーテルチューブの近位側から供給される流体により拡張可能なバルーンと、を有し、前記バルーンが、筒状に形成されているバルーン母体により構成されており、前記バルーン母体の近位端部が、前記カテーテルチューブに接合されており、前記バルーン母体の遠位端部が、前記カテーテルチューブに取り付けられた前記バルーン母体の近位端部に対して周方向に所定角度回転した状態で、前記先端チップまたは前記カテーテルチューブに接合されていることを特徴とする。
【0008】
上記の構成によれば、バルーンを構成するバルーン母体が、近位側接合部に対して遠位側接合部を周方向に所定角度以上回転させた状態でカテーテルチューブの遠位端部に取り付けられている。これにより、バルーンを拡張させた場合には、バルーンがその軸心を中心として回転しながら拡張し、その回転によって遠位側(冠動脈側)へ流れる血流を作り出すことができる。また、バルーンを収縮させた場合には、バルーンがその軸心を中心として回転しながら収縮し、その回転によって近位側(胸部下行大動脈側)へ流れる血流を作り出すことができる。その結果、IABPを実施した際の血流生成を適切に補助してIABPにおける心機能の補助効果を向上させることができる。
【図面の簡単な説明】
【0009】
本発明の実施形態におけるIABP用バルーンカテーテルのバルーンが胸部下行大動脈に留置された状態を模式的に示す図である。
本発明の実施形態におけるIABP用バルーンカテーテルの構成を示す断面図である。
従来技術において、IABP用バルーンカテーテルの遠位端部にバルーン母体を取り付けてバルーンを作製する方法の一例を説明するための図であり、(a)~(c)は第1~第3工程をそれぞれ示す図である。
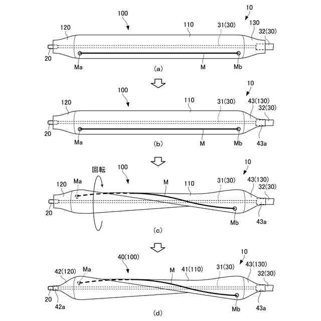
本発明の実施形態において、IABP用バルーンカテーテルの遠位端部にバルーン母体を取り付けてバルーンを作製する方法の一例を説明するための図であり、(a)~(d)は第1~第4工程をそれぞれ示す図である。
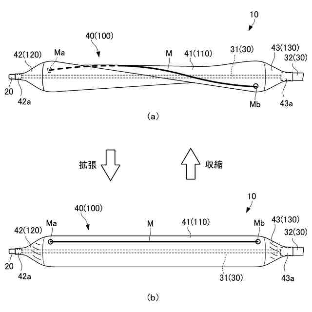
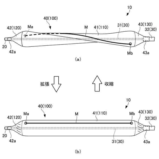
本発明の実施形態におけるIABP用バルーンカテーテルのバルーンを拡張および収縮させた際の動作について説明するための図であり、(a)はバルーンを収縮させた状態、(b)はバルーンを拡張させた状態を示す図である。
本発明の実施形態におけるIABP用バルーンカテーテルのバルーンの別例を示す図である。
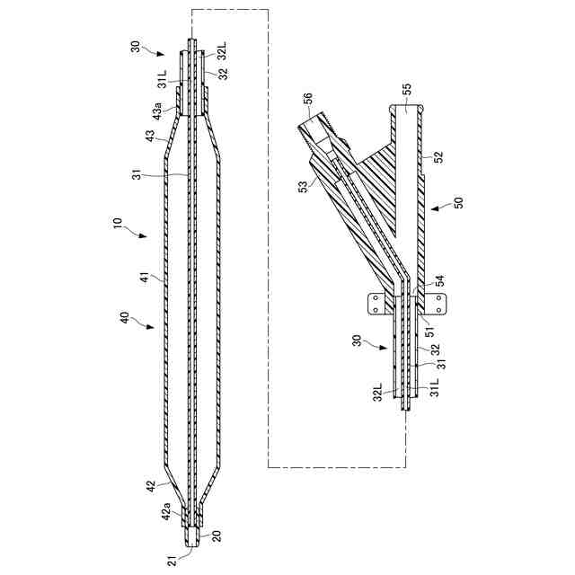
本発明の実施形態におけるIABP用バルーンカテーテルのバルーンの作用を確認するための実験システムを説明するための図である。
本発明の実施形態に関連して実施された実験の結果を示すグラフである。
【発明を実施するための形態】
【0010】
以下、本発明の実施形態について、図面を参照しながら詳細に説明する。本明細書において参照する図面は、実際の寸法に対して必ずしも正確な縮尺を有するものではなく、本発明に係る構成を模式的に示すために一部を誇張または簡略化したものである。
(【0011】以降は省略されています)
この特許をJ-PlatPat(特許庁公式サイト)で参照する
関連特許
個人
貼付剤
1か月前
個人
簡易担架
12日前
個人
短下肢装具
4か月前
個人
腋臭防止剤
12日前
個人
足踏み器具
19日前
個人
嚥下鍛錬装置
4か月前
個人
排尿補助器具
1か月前
個人
前腕誘導装置
4か月前
個人
矯正椅子
6か月前
個人
胸骨圧迫補助具
2か月前
個人
バッグ式オムツ
5か月前
個人
腰ベルト
1か月前
個人
歯の修復用材料
5か月前
個人
汚れ防止シート
1か月前
個人
アイマスク装置
3か月前
個人
ウォート指圧法
1か月前
個人
陣痛緩和具
4か月前
個人
シャンプー
7か月前
個人
歯の保護用シール
6か月前
個人
哺乳瓶冷まし容器
4か月前
個人
排尿排便補助器具
14日前
個人
湿布連続貼り機。
3か月前
個人
美容セット
21日前
株式会社大野
骨壷
4か月前
個人
エア誘導コルセット
2か月前
株式会社八光
剥離吸引管
5か月前
株式会社コーセー
化粧料
1か月前
個人
治療用酸化防御装置
2か月前
個人
性行為補助具
3か月前
個人
シリンダ式歩行補助具
4か月前
個人
高気圧環境装置
5か月前
株式会社ニデック
眼科装置
1か月前
株式会社ダリヤ
毛髪化粧料
2か月前
株式会社GSユアサ
歩行器
6か月前
個人
手指運動ツール
3か月前
個人
精力増強キット
2か月前
続きを見る
他の特許を見る