TOP
|
特許
|
意匠
|
商標
特許ウォッチ
Twitter
他の特許を見る
公開番号
2025152627
公報種別
公開特許公報(A)
公開日
2025-10-10
出願番号
2024054605
出願日
2024-03-28
発明の名称
細胞培養容器および細胞培養容器の製造方法
出願人
日本ゼオン株式会社
代理人
個人
,
個人
,
個人
主分類
C12M
3/00 20060101AFI20251002BHJP(生化学;ビール;酒精;ぶどう酒;酢;微生物学;酵素学;突然変異または遺伝子工学)
要約
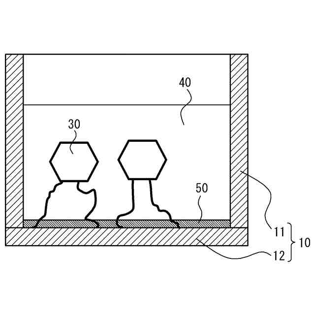
【課題】細胞の側壁への遊走を抑制し得る細胞培養用容器の提供。
【解決手段】細胞および培地を収容するための容器部を備える細胞培養容器であって、前記容器部は、容器本体部材および底面基材を備え、前記底面基材上のみに細胞接着性を有する表面改質剤層が形成されており、前記底面基材は、前記表面改質剤層の表面が前記細胞および前記培地を収容するための空間側に向くように、前記容器本体部材に接合されている、細胞培養容器。
【選択図】図1
特許請求の範囲
【請求項1】
細胞および培地を収容するための容器部を備える細胞培養容器であって、
前記容器部は、容器本体部材および底面基材を備え、
前記底面基材上のみに細胞接着性を有する表面改質剤層が形成されており、
前記底面基材は、前記表面改質剤層の表面が前記細胞および前記培地を収容するための空間側に向くように、前記容器本体部材に接合されている、細胞培養容器。
続きを表示(約 670 文字)
【請求項2】
前記底面基材は、シクロオレフィンポリマー、ポリエステル、ポリプロピレンおよびポリスチレンからなる群から選択される1つ以上で構成されている、請求項1に記載の細胞培養容器。
【請求項3】
前記底面基材に表面処理が施されていない、請求項1に記載の細胞培養容器。
【請求項4】
前記表面改質剤層がオリゴペプチドを含有する、請求項1~3の何れかに記載の細胞培養容器。
【請求項5】
細胞および培地を収容するための容器部を備える細胞培養容器の製造方法であって、
前記容器部は、容器本体部材および底面基材を備え、
前記製造方法は、
表面改質剤溶液を前記底面基材上に塗布し、前記底面基材上に表面改質剤層が形成された表面改質剤層付き底面基材を得る工程と、
前記表面改質剤層付き底面基材を用いたインサート射出成形により、前記容器部を形成する工程と、
を含む、細胞培養容器の製造方法。
【請求項6】
前記表面改質剤層付き底面基材を洗浄する工程、および、前記容器部を洗浄する工程の双方を含まない、請求項5に記載の細胞培養容器の製造方法。
【請求項7】
前記表面改質剤溶液と前記底面基材との間の接触角が0°以上40°以下である、請求項5に記載の細胞培養容器の製造方法。
【請求項8】
前記表面改質剤溶液を前記底面基材上に塗布する際の塗布膜厚が150μm以下である、請求項5~7の何れかに記載の細胞培養容器の製造方法。
発明の詳細な説明
【技術分野】
【0001】
本発明は、細胞培養容器および細胞培養容器の製造方法に関する。
続きを表示(約 1,400 文字)
【背景技術】
【0002】
生命科学分野で用いられるウェルプレート等の細胞培養容器は、細胞および培地を収容するための容器部を備え、当該容器部の内部の空間において細胞が培養される。このような細胞培養容器の容器部の底面には、細胞接着性を有する表面改質剤を含む層(以下、「表面改質剤層」と称することがある。)を形成する場合がある。表面改質剤層を形成することにより、細胞が表面改質剤層を介して容器部の底面に良好に接着し得るため、細胞の増殖や生存維持等の効果を向上させることができる。
【0003】
ここで、従来、表面改質剤層を備える細胞培養容器は、分注機などで細胞培養容器の容器部に表面改質剤を含む溶液(表面改質剤溶液)を分注し一定時間静置することで表面改質剤層を容器部の底面に定着させた後、固定化されていない表面改質剤の残留物を洗浄により除去するという方法で作製されてきた(特許文献1)。
【0004】
細胞培養容器の底面に対して液体を塗布する方法としては、上記分注機による方法以外では、インクジェット等を用いた方法も挙げられる(特許文献2)。
【先行技術文献】
【特許文献】
【0005】
特開2013-106531号公報
特開2020-178612号公報
【発明の概要】
【発明が解決しようとする課題】
【0006】
しかしながら、上記従来の方法を採用して表面改質剤溶液を塗布し、細胞培養容器を作製した場合であっても、容器部の側壁への表面改質剤溶液の付着および表面改質剤層の形成を防止できないため、細胞の側壁への遊走を十分に抑制することは困難であった。
【0007】
そこで、本発明は、細胞の側壁への遊走を抑制し得る細胞培養用容器の提供を目的とする。
また、本発明は、細胞の側壁への遊走を抑制し得る細胞培養用容器の製造方法の提供を目的とする。
【課題を解決するための手段】
【0008】
本発明者は、上記課題を解決することを目的として鋭意検討を行った。そして、本発明者は、底面基材上のみに細胞接着性を有する表面改質剤層が形成された細胞培養容器を用いれば、細胞の側壁への遊走を抑制し得ることを見出し、本発明を完成させた。
【0009】
即ち、この発明は、上記課題を有利に解決することを目的とするものであり、本発明によれば、下記〔1〕~〔4〕の細胞培養容器、および下記〔5〕~〔8〕の細胞培養容器の製造方法が提供される。
【0010】
〔1〕細胞および培地を収容するための容器部を備える細胞培養容器であって、前記容器部は、容器本体部材および底面基材を備え、前記底面基材上のみに細胞接着性を有する表面改質剤層が形成されており、前記底面基材は、前記表面改質剤層の表面が前記細胞および前記培地を収容するための空間側に向くように、前記容器本体部材に接合されている、細胞培養容器。
底面基材上のみに表面改質剤層が形成され、且つ、表面改質剤層の表面が細胞および培地を収容するための空間側に向くように底面基材と容器本体部材とが接合された細胞培養容器を用いれば、細胞の側壁への遊走を十分に抑制することができる。
(【0011】以降は省略されています)
この特許をJ-PlatPat(特許庁公式サイト)で参照する
関連特許
個人
抗遺伝子劣化装置
2か月前
雪国アグリ株式会社
単糖類の製造方法
1か月前
テルモ株式会社
吐出デバイス
2か月前
テルモ株式会社
容器蓋デバイス
2か月前
宝酒造株式会社
アルコール飲料
1か月前
東ソー株式会社
pH応答性マイクロキャリア
2か月前
島根県
油吸着材とその製造方法
1か月前
トヨタ自動車株式会社
バイオ燃料製造方法
2か月前
株式会社豊田中央研究所
細胞励起装置
1か月前
月桂冠株式会社
低プリン体清酒
25日前
個人
有機フッ素化合物を分解する廃液処理法
1か月前
株式会社シャローム
スフィンゴミエリン製造方法
2か月前
テルモ株式会社
採取組織細切補助デバイス
2か月前
株式会社カクサスバイオ
新規免疫抑制方法
10日前
新東工業株式会社
培養システム
1か月前
株式会社村田製作所
濾過装置および濾過方法
1か月前
横河電機株式会社
藻類培養装置
2か月前
株式会社今宮
瓶詰ビールの加熱殺菌方法および装置
2か月前
株式会社ショウワ
キトサンオリゴマー分画方法
1か月前
住友金属鉱山株式会社
連続発酵方法及び連続発酵装置
2か月前
東ソー株式会社
免疫学的測定法
1か月前
東ソー株式会社
免疫グロブリン結合性タンパク質の製造方法
15日前
株式会社日本触媒
スフェロイドの輸送方法
1か月前
フジッコ株式会社
エリナシンAの産生方法
1か月前
個人
酒粕パウダーの製造方法
2日前
NTN株式会社
細胞配置の制御方法
1か月前
住友ベークライト株式会社
培養キット
2か月前
株式会社カネカ
予測方法及び製造方法
1か月前
積水化学工業株式会社
遺伝子導入方法
1か月前
株式会社Logomix
細胞ライブラリおよびその製造方法
3日前
セイコーエプソン株式会社
菌糸複合材料
1か月前
東ソー株式会社
温度応答性マイクロキャリアを用いた拡大培養方法
2か月前
東ソー株式会社
死細胞の分離剤およびそれを用いた細胞の製造方法
15日前
株式会社バイオジェノミクス
細菌、遺伝子発現上昇剤及び製剤
1か月前
ZACROS株式会社
サンプリング容器、及び培養装置
1か月前
学校法人近畿大学
副甲状腺細胞の培養方法と培養副甲状腺細胞
1か月前
続きを見る
他の特許を見る