TOP
|
特許
|
意匠
|
商標
特許ウォッチ
Twitter
他の特許を見る
公開番号
2025130120
公報種別
公開特許公報(A)
公開日
2025-09-08
出願番号
2024027079
出願日
2024-02-27
発明の名称
吐出デバイス
出願人
テルモ株式会社
代理人
個人
,
個人
主分類
C12M
1/14 20060101AFI20250901BHJP(生化学;ビール;酒精;ぶどう酒;酢;微生物学;酵素学;突然変異または遺伝子工学)
要約
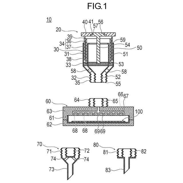
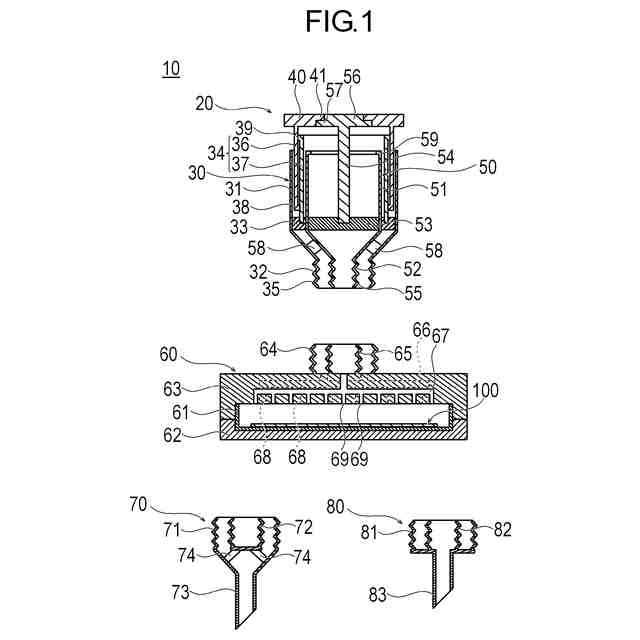
【課題】2種類の液体を連動して段階的に吐出できる吐出デバイスを提供する。
【解決手段】第1押し子34を備える第1シリンジ30と、第2押し子54を備える第2シリンジ50と、第1シリンジ30の筒先に連通する第1経路66と、第1経路66に連通して液体を吐出する第1吐出部68と、第2シリンジ50の筒先に連通する第2経路67と、第2経路67に連通して液体を吐出する第2吐出部69と、を有する吐出デバイス10であって、第1押し子34の移動に第2押し子54の移動を連動させる連動機構90を有し、第1押し子34の押圧される第1押圧部40は、第1位置から第2位置を介して第3位置まで押圧方向へ移動可能であり、連動機構90は、第1押圧部40が第1位置から第2位置まで移動する際に第1シリンジ30から液体を吐出させ、第1押圧部40が第2位置から第3位置まで移動する際に第2シリンジ50から液体を吐出させる。
【選択図】図1
特許請求の範囲
【請求項1】
第1押し子を備える第1シリンジと、
第2押し子を備える第2シリンジと、
前記第1シリンジの第1筒先に連通する第1経路と、
前記第1経路に連通して液体を吐出する第1吐出部と、
前記第2シリンジの第2筒先に連通する第2経路と、
前記第2経路に連通して液体を吐出する第2吐出部と、を有する吐出デバイスであって、
前記第1押し子の押圧方向への移動に前記第2押し子の押圧方向への移動を連動させる連動機構を有し、
前記第1押し子の押圧される押圧部は、第1位置から第2位置を介して第3位置まで押圧方向へ移動可能であり、
前記連動機構は、前記押圧部が前記第1位置から前記第2位置まで移動する際に前記第1シリンジから液体を吐出させ、
前記押圧部が前記第2位置から前記第3位置まで移動する際に前記第2シリンジから、または第1シリンジおよび第2シリンジから液体を吐出させることを特徴とする吐出デバイス。
続きを表示(約 910 文字)
【請求項2】
前記第1押し子は、基端側押し子と、前記基端側押し子よりも先端方向へ移動可能な先端側押し子と、を有し、
前記基端側押し子と前記先端側押し子は、摺動可能な密着面を有し、前記密着面の摩擦力により一体的に移動可能であり、
前記基端側押し子は、第1係合部を有し、
前記第2押し子は、先端方向へ移動する前記第1係合部と接触して係合可能な第2係合部を有し、
前記連動機構は、前記第1係合部を有する前記基端側押し子、前記先端側押し子、および前記第2係合部を有する前記第2押し子により形成されることを特徴とする請求項1に記載の吐出デバイス。
【請求項3】
前記第1経路、前記第1吐出部、前記第2経路および前記第2吐出部を有する吐出具と、前記第1シリンジおよび前記第2シリンジを有するシリンジは、接続および取り外しが可能であることを特徴とする請求項1または2に記載の吐出デバイス。
【請求項4】
前記第2シリンジの第2筒先を閉鎖させる閉鎖部と、前記第1シリンジの第1筒先が連通する第1充填用筒先と、を備える第1充填補助部を有することを特徴とする請求項1または2に記載の吐出デバイス。
【請求項5】
前記第1シリンジの第1筒先を閉鎖させる閉鎖部と、前記第2シリンジの第2筒先が連通する第2充填用筒先と、を備える第2充填補助部を有することを特徴とする請求項1または2に記載の吐出デバイス。
【請求項6】
前記第2シリンジは、前記第1シリンジの内側に同心的に配置されることを特徴とする請求項1または2に記載の吐出デバイス。
【請求項7】
前記第2シリンジは、前記第1シリンジの外部に並んで配置されることを特徴とする請求項1または2に記載の吐出デバイス。
【請求項8】
第2吐出部の孔は、第1吐出部の孔よりも小さいことを特徴とする請求項1または2に記載の吐出デバイス。
【請求項9】
第2吐出部の孔の数は、第1吐出部の孔の数よりも多いことを特徴とする請求項8に記載の吐出デバイス。
発明の詳細な説明
【技術分野】
【0001】
本発明は、2種類の液体を吐出する吐出デバイスに関する。
続きを表示(約 1,900 文字)
【背景技術】
【0002】
近年、培養した細胞をシート状に形成した培養物を、損傷した臓器に被せて移植する治療が行われている。シート状の細胞培養物は、臓器の表面に移植されると、臓器の表面の血管を血管床として、長期の生存が可能である。
【0003】
培養された複数の細胞の集合体であるシート状細胞培養物は、脆弱であり、捲れなど変形や破損を生じやすい。このため、シート状細胞培養物は、集合体としての形状を維持するための補強処理が施される。補強処理の一例として、混合することでゲル化するフィブリノゲン液とトロンビン液とをシート状細胞培養物に吐出する方法がある。一例として、フィブリノゲン液をシート状細胞培養物に満遍なく滴下した後に、トロンビン液をシート状細胞培養物に噴霧することで、シート状細胞培養物において2種類の液体を混合してゲル化する。
【先行技術文献】
【特許文献】
【0004】
特開2006-95098号公報
【発明の概要】
【発明が解決しようとする課題】
【0005】
しかしながら、前述の方法では、フィブリノゲン液を吐出する装置と、トロンビン液を吐出する装置とを入れ替える必要があり、作業が煩雑となって時間かかかるとともに、手作業による処理のむらが発生する可能性がある。手作業による処理むらの発生を抑制するために、例えば特許文献1に示すような、2種類の液体を混合して吐出できるデバイスを使用することもできる。しかしながら、特許文献1に記載のデバイスは、異なる液体を収容する2つのシリンジの押し子が一体的に移動するため、2つの液体が同時に吐出される。このため、このデバイスは、2つの液体を異なるタイミングで吐出することができない。
【0006】
本発明は、上述した課題を解決するためになされたものであり、2種類の液体を連動して段階的に吐出できる吐出デバイスを提供することを目的とする。
【課題を解決するための手段】
【0007】
上記目的は、下記(1)に記載の発明により達成される。
【0008】
(1) 本発明に係る吐出デバイスは、第1押し子を備える第1シリンジと、第2押し子を備える第2シリンジと、前記第1シリンジの第1筒先に連通する第1経路と、前記第1経路に連通して液体を吐出する第1吐出部と、前記第2シリンジの第2筒先に連通する第2経路と、前記第2経路に連通して液体を吐出する第2吐出部と、を有する吐出デバイスであって、前記第1押し子の押圧方向への移動に前記第2押し子の押圧方向への移動を連動させる連動機構を有し、前記第1押し子の押圧される押圧部は、第1位置から第2位置を介して第3位置まで押圧方向へ移動可能であり、前記連動機構は、前記押圧部が前記第1位置から前記第2位置まで移動する際に前記第1シリンジから液体を吐出させ、前記押圧部が前記第2位置から前記第3位置まで移動する際に前記第2シリンジから、または第1シリンジおよび第2シリンジから液体を吐出させることを特徴とする。
【発明の効果】
【0009】
上記(1)に記載の吐出デバイスは、第1押し子の移動に第2押し子の移動を連動させる連動機構を有するため、第1シリンジの押圧部を押圧するだけで、第1シリンジから液体を吐出させた後に、第2シリンジから、または第1シリンジおよび第2シリンジから液体を吐出させることができる。このため、吐出デバイスは、2種類の液体を連動して段階的に吐出できる。
【0010】
(2) 上記(1)に記載の吐出デバイスにおいて、前記第1押し子は、基端側押し子と、前記基端側押し子よりも先端方向へ移動可能な先端側押し子と、を有し、前記基端側押し子と前記先端側押し子は、摺動可能な密着面を有し、前記密着面の摩擦力により一体的に移動可能であり、前記基端側押し子は、第1係合部を有し、前記第2押し子は、先端方向へ移動する前記第1係合部と接触して係合可能な第2係合部を有し、前記連動機構は、前記第1係合部を有する前記基端側押し子、前記先端側押し子、および前記第2係合部を有する前記第2押し子により形成されてもよい。これにより、吐出デバイスは、密着面の摩擦力により一体的に移動可能な基端側押し子および先端側押し子を有する第1押し子により、第1シリンジから液体を吐出させた後に、基端側押し子および先端側押し子の密着面を摺動させて第1押し子を収縮させつつ、第1係合部を第2係合部に係合させて第2押し子を移動させて、第2シリンジから液体を吐出させることができる。
(【0011】以降は省略されています)
この特許をJ-PlatPat(特許庁公式サイト)で参照する
関連特許
雪国アグリ株式会社
単糖類の製造方法
1か月前
宝酒造株式会社
アルコール飲料
1か月前
島根県
油吸着材とその製造方法
1か月前
月桂冠株式会社
低プリン体清酒
15日前
株式会社豊田中央研究所
細胞励起装置
1か月前
個人
有機フッ素化合物を分解する廃液処理法
29日前
株式会社カクサスバイオ
新規免疫抑制方法
今日
新東工業株式会社
培養システム
1か月前
株式会社村田製作所
濾過装置および濾過方法
1か月前
横河電機株式会社
藻類培養装置
1か月前
株式会社ショウワ
キトサンオリゴマー分画方法
1か月前
東ソー株式会社
免疫グロブリン結合性タンパク質の製造方法
5日前
東ソー株式会社
免疫学的測定法
29日前
フジッコ株式会社
エリナシンAの産生方法
1か月前
株式会社日本触媒
スフェロイドの輸送方法
1か月前
NTN株式会社
細胞配置の制御方法
1か月前
株式会社カネカ
予測方法及び製造方法
1か月前
積水化学工業株式会社
遺伝子導入方法
1か月前
セイコーエプソン株式会社
菌糸複合材料
1か月前
東ソー株式会社
死細胞の分離剤およびそれを用いた細胞の製造方法
5日前
国立大学法人九州大学
核酸増幅方法
1か月前
学校法人近畿大学
副甲状腺細胞の培養方法と培養副甲状腺細胞
1か月前
株式会社KINS
バイオマーカ及び判定補助方法
6日前
株式会社バイオジェノミクス
細菌、遺伝子発現上昇剤及び製剤
1か月前
ZACROS株式会社
サンプリング容器、及び培養装置
1か月前
花王株式会社
体脂肪変化の予測方法
22日前
パナソニックIPマネジメント株式会社
除菌評価システム
1か月前
株式会社リコー
多孔質構造体の製造方法
1か月前
竹鶴油業株式会社
蒸留物製造プラント及び蒸留物の製造方法
7日前
サントリーホールディングス株式会社
発酵飲料
5日前
竹鶴油業株式会社
蒸留物製造プラント及び蒸留物の製造方法
7日前
サントリーホールディングス株式会社
発酵飲料
5日前
サッポロビール株式会社
飲料及びその製造方法
1か月前
セイコーエプソン株式会社
生体物質抽出用磁性ビーズ
1か月前
サントリーホールディングス株式会社
発酵飲料
5日前
雪印メグミルク株式会社
D-セリン生産菌増殖促進用組成物
29日前
続きを見る
他の特許を見る