TOP
|
特許
|
意匠
|
商標
特許ウォッチ
Twitter
他の特許を見る
10個以上の画像は省略されています。
公開番号
2025166215
公報種別
公開特許公報(A)
公開日
2025-11-05
出願番号
2025136510,2023544845
出願日
2025-08-19,2021-08-31
発明の名称
穿刺針及び針組立体
出願人
テルモ株式会社
代理人
個人
,
個人
,
個人
主分類
A61M
5/32 20060101AFI20251028BHJP(医学または獣医学;衛生学)
要約
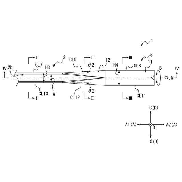
【課題】被測定者の痛み軽減と、ハブへの接合強度の向上と、を簡易な構成により実現する、穿刺針、及び、針組立体を提供する。
【解決手段】穿刺針1は、先端面に刃面2aを備える穿刺部2と、前記穿刺部の基端側に連なり、ハブに保持可能に構成されている被保持部3と、を備え、前記穿刺部は、前記先端面まで延在するスリット2bを備え、前記被保持部は、前記穿刺部の最大外径より大きい、略一定の外径を有する管部11と、前記穿刺部と前記管部との間に位置し、前記管部側から前記穿刺部側に向かって外径が漸減するテーパー部12と、を備え、前記スリットを上側に向けた側面視で、前記穿刺部、前記管部及び前記テーパー部の下側の輪郭線は、一直線状に連なっている。
【選択図】図1
特許請求の範囲
【請求項1】
先端面に刃面を備える穿刺部と、前記穿刺部の基端側に連なる被保持部と、を備える穿刺針と、
前記穿刺針の前記被保持部を保持するハブと、を備え、
前記穿刺部は、前記先端面まで延在するスリットを備え、
前記被保持部は、
前記穿刺部の最大外径より大きい、略一定の外径を有する管部と、
前記穿刺部と前記管部との間に位置し、前記管部側から前記穿刺部側に向かって外径が漸減するテーパー部と、を備え、
前記スリットを上側に向けた前記穿刺針の側面視で、前記穿刺部、前記管部及び前記テーパー部の下側の輪郭線は、一直線状に連なっており、
前記スリットは、前記穿刺部の前記先端面から、前記被保持部の前記テーパー部まで延在しており、
前記穿刺針のうち前記ハブから突出して前記ハブの外部に露出する部分の長手方向の全域に前記スリットが形成されている、針組立体。
続きを表示(約 430 文字)
【請求項2】
前記スリットは、前記テーパー部で終端している、請求項1に記載の針組立体。
【請求項3】
前記スリットの幅は、前記テーパー部において、基端側に向かって漸減している、請求項1又は2に記載の針組立体。
【請求項4】
前記穿刺部の外径は、前記先端面より基端側で略一定である、請求項1から3のいずれか1つに記載の針組立体。
【請求項5】
前記スリット側から見た前記穿刺針の上面視で、前記穿刺部、前記管部及び前記テーパー部の両側それぞれの輪郭線は、一直線状に連なっていない、請求項1から4のいずれか1つに記載の針組立体。
【請求項6】
請求項1から5のいずれか1つに記載の針組立体と、
前記穿刺部の内部に保持されているセンサと、
前記スリットを通じて前記穿刺部の内部から外部に延在し、前記センサとディテクタ又はトランスミッタとを接続可能な接点部と、を備える、穿刺具。
発明の詳細な説明
【技術分野】
【0001】
本開示は穿刺針及び針組立体に関する。
続きを表示(約 1,600 文字)
【背景技術】
【0002】
患者等の被測定者の生体内にセンサ等の医療器具を埋め込む場合がある。例えば、被測定者の生体内にセンサを埋め込み、被測定者の血液中又は体液中のアナライト(例えば、グルコース、pH、コレステロール、たんぱく質等)をモニタリングする。この場合、被測定者の皮膚を貫通してセンサを迅速かつ容易に生体内に埋め込むために穿刺具が使用される。特許文献1及び特許文献2には、この種の穿刺具が開示されている。特許文献1に記載の穿刺具では、穿刺針と共にセンサを生体内に挿入し、センサを皮下に留置して穿刺針のみを生体外に抜去する。
【0003】
特許文献1及び特許文献2に記載の穿刺具では、センサの生体内への留置と、センサに接続されているトランスミッタ等の電子機器の生体表面上への配置と、が穿刺針の挿入及び抜去の動作と連動して実行される。かかる場合に、センサと電子機器との接点部を避けて穿刺針を抜去する構成を有する穿刺具とする必要がある。そのため、特許文献1及び特許文献2に記載の穿刺具では、スリットが形成されているU字状またはV字状の穿刺針が用いられている。また、特許文献1には、このような穿刺針の基端側が、穿刺針を保持するハブを貫く長さとされる例が開示されている。更に、特許文献2には、穿刺針に一対の翼状部を設ける構成が開示されている。
【先行技術文献】
【特許文献】
【0004】
米国特許出願公開第2017/265791号明細書
国際公開第2013/035455号
【発明の概要】
【発明が解決しようとする課題】
【0005】
特許文献1及び特許文献2に記載される穿刺針は、被測定者の痛みを軽減するため細径とされることが好ましい。また、特許文献1及び特許文献2に記載されるスリットが形成された穿刺針は、管状針と比較して、ハブへの取付面積、及び、ハブへ接着するための接着剤の塗布量、が小さくなる場合がある。そのため、穿刺針のハブへの接合強度が問題になる場合がある。特許文献1では、穿刺針としてのスリット針の基端側を、ハブを貫くように長くすることで、穿刺針のハブへの取付面積を大きくし、ハブへの接合強度を確保している。また、特許文献2では、穿刺針としてのスリット針に設けられている一対の翼状部がハブとしてのヘッドに取り付けられることで、ヘッドへの接合強度が確保されている。
【0006】
しかしながら、特許文献1及び特許文献2に記載の穿刺針では、ハブへの接続強度を確保するための構成の簡素化という観点では、依然として改善の余地がある。
【0007】
本開示は、被測定者の痛み軽減と、ハブへの接合強度の向上と、を簡易な構成により実現する、穿刺針、及び、針組立体、を提供することを目的とする。
【課題を解決するための手段】
【0008】
本開示の第1の態様としての穿刺針は、先端面に刃面を備える穿刺部と、前記穿刺部の基端側に連なり、ハブに保持可能に構成されている被保持部と、を備え、前記穿刺部は、前記先端面まで延在するスリットを備え、前記被保持部は、前記穿刺部の最大外径より大きい、略一定の外径を有する管部と、前記穿刺部と前記管部との間に位置し、前記管部側から前記穿刺部側に向かって外径が漸減するテーパー部と、を備え、前記スリットを上側に向けた側面視で、前記穿刺部、前記管部及び前記テーパー部の下側の輪郭線は、一直線状に連なっている。
【0009】
本開示の1つの実施形態として、前記スリットは、前記穿刺部の前記先端面から、前記被保持部の前記テーパー部まで延在している。
【0010】
本開示の1つの実施形態として、前記スリットは、前記テーパー部で終端している。
(【0011】以降は省略されています)
この特許をJ-PlatPat(特許庁公式サイト)で参照する
関連特許
テルモ株式会社
カテーテル
26日前
テルモ株式会社
カテーテル
2か月前
テルモ株式会社
カテーテル
2か月前
テルモ株式会社
カテーテル
2か月前
テルモ株式会社
カテーテル
1か月前
テルモ株式会社
カテーテル
1か月前
テルモ株式会社
持ち上げ装置
13日前
テルモ株式会社
体液流通用ポート
2か月前
テルモ株式会社
画像診断用カテーテル
2か月前
テルモ株式会社
ガイドワイヤ操作器具
12日前
テルモ株式会社
医療用長尺体の製造方法
1か月前
テルモ株式会社
医療用具およびその製造方法
1か月前
テルモ株式会社
動脈瘤治療システムおよび方法
1か月前
テルモ株式会社
血管穿刺装置および血管判定装置
1か月前
テルモ株式会社
カシメ装置及びシャフト製造方法
25日前
テルモ株式会社
身体組成計測装置、および制御方法
1か月前
テルモ株式会社
カテーテルおよびカテーテルの製造方法
2か月前
テルモ株式会社
血管穿刺デバイス及び血管穿刺システム
1か月前
テルモ株式会社
カテーテルおよびカテーテルの製造方法
2か月前
テルモ株式会社
カテーテルおよびカテーテルの製造方法
2か月前
テルモ株式会社
情報処理方法、情報処理装置及びプログラム
1か月前
テルモ株式会社
情報処理方法、情報処理装置及びプログラム
1か月前
テルモ株式会社
プログラム、情報処理方法、及び情報処理装置
1か月前
テルモ株式会社
カテーテルデバイス及び回収対象物の回収方法
2か月前
テルモ株式会社
情報処理方法、情報処理装置及びコンピュータプログラム
1か月前
テルモ株式会社
カテーテルおよびカテーテルへのマーカー部材の固定方法
11日前
テルモ株式会社
穿刺針及び針組立体
27日前
個人
貼付剤
1か月前
個人
健康器具
9か月前
個人
簡易担架
18日前
個人
鼾防止用具
9か月前
個人
短下肢装具
4か月前
個人
足踏み器具
25日前
個人
腋臭防止剤
18日前
個人
前腕誘導装置
4か月前
個人
導電香
10か月前
続きを見る
他の特許を見る