TOP
|
特許
|
意匠
|
商標
特許ウォッチ
Twitter
他の特許を見る
10個以上の画像は省略されています。
公開番号
2025171500
公報種別
公開特許公報(A)
公開日
2025-11-20
出願番号
2024076915
出願日
2024-05-10
発明の名称
ガイドワイヤ操作器具
出願人
テルモ株式会社
代理人
個人
,
個人
主分類
A61M
25/09 20060101AFI20251113BHJP(医学または獣医学;衛生学)
要約
【課題】ガイドワイヤの任意の位置で着脱可能とすることにより手技の効率化が可能であるとともに、トルクを効率的に伝達できるガイドワイヤ操作器具を提供する。
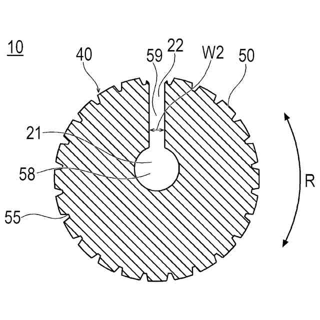
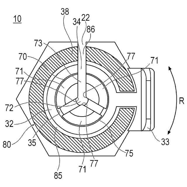
【解決手段】ガイドワイヤを操作するガイドワイヤ操作器具10であって、ガイドワイヤを収容可能な本体内腔と、本体内腔と連通し側面に開口する本体スリットと、を備える本体と、本体内腔に配置され長軸方向Xへ貫通する貫通孔31を備える筒部32および本体の外部に一部が露出する操作部33を有するスライダー30と、を備え、本体は、グリップ部50と、グリップ部50から先端方向に延びてスライダー30の貫通孔31内に配置されるチャック部70と、を備えるシャフト部40と、チャック部70および筒部32を収容するキャップ部80と、を有し、チャック部70は、スライダー30を本体の長軸方向Xに沿って移動させることによりチャック部内腔の直径を増減させる複数の把持片71を備える。
【選択図】図2
特許請求の範囲
【請求項1】
ガイドワイヤを操作するガイドワイヤ操作器具であって、
長軸方向に貫通し前記ガイドワイヤを収容可能な本体内腔と、前記本体内腔と長軸方向の全長に亘って連通し側面に開口する本体スリットと、を備える本体と、
前記本体内腔に配置され長軸方向へ貫通する貫通孔を備える筒部と、前記本体の外部に一部が露出する操作部と、を有し、長軸方向に移動することにより前記ガイドワイヤを前記本体に固定可能なスライダーと、を備え、
前記本体は、
グリップ部と、前記グリップ部から先端方向に延びて前記本体内腔に位置する前記スライダーの前記貫通孔内に配置されるチャック部と、を備えるシャフト部と、
前記グリップ部の先端側において前記チャック部および前記スライダーの前記筒部を収容するキャップ部と、を有し、
前記シャフト部のチャック部は、チャック部内腔を画定し、前記スライダーを前記本体の長軸方向に沿って移動させることにより前記チャック部内腔の直径を増減させることが可能な複数の把持片を備えることを特徴とするガイドワイヤ操作器具。
続きを表示(約 610 文字)
【請求項2】
隣り合う前記把持片の間に形成される隙間の少なくとも1つは、径方向外側から見て前記本体スリットと一致する位置にあることを特徴とする請求項1に記載のガイドワイヤ操作器具。
【請求項3】
前記把持片の数は、奇数個であることを特徴とする請求項2に記載のガイドワイヤ操作器具。
【請求項4】
前記グリップ部の外表面は、当該グリップ部の長軸方向よりも回転方向にピッチが小さいアヤ目模様の凹凸構造を有することを特徴とする請求項1または2に記載のガイドワイヤ操作器具。
【請求項5】
前記グリップ部は、グリップ先端部と、前記グリップ先端部より外径が小さいグリップ中間部と、が滑らかに接続された外形を有することを特徴とする請求項1または2に記載のガイドワイヤ操作器具。
【請求項6】
前記本体は、長軸方向の少なくとも一部に、横断面の外形が多角形である部分を有することを特徴とする請求項1または2に記載のガイドワイヤ操作器具。
【請求項7】
前記シャフト部および前記キャップ部は、別体として形成して結合されていることを特徴とする請求項1または2に記載のガイドワイヤ操作器具。
【請求項8】
前記スライダーの前記貫通孔は、先端から基端方向へ向かって直径が減少することを特徴とする請求項1または2に記載のガイドワイヤ操作器具。
発明の詳細な説明
【技術分野】
【0001】
本発明は、ガイドワイヤを操作するためにガイドワイヤに取り付けられるガイドワイヤ操作器具に関する。
続きを表示(約 1,800 文字)
【背景技術】
【0002】
ガイドワイヤは、血管内治療を行うためのカテーテル等を目的の位置までガイドするために血管内に挿入する長尺なデバイスである。
【0003】
ガイドワイヤは、操作性を向上させるために、基端部にトルクデバイス等の操作器具が取り付けられる場合がある。一般的に、トルクデバイスは、内腔を有する円筒構造を有しており、ガイドワイヤをトルクデバイスの内腔に挿通させた状態で把持する。このため、トルクデバイスをガイドワイヤの端部から取り付けたい位置まで移動させる必要があり、ガイドワイヤへのトルクデバイスの着脱操作が煩雑である。
【0004】
これに対し、例えば特許文献1に記載のトルクデバイスは、ガイドワイヤの任意の位置で着脱できるように、側方へ開いたチャネルを有する本体部と、チャネルに沿って長軸方向へ移動可能なスライダーとを有し、本体部とスライダーとの間でガイドワイヤを挟んで把持している。このトルクデバイスを使用する際には、術者は、チャネルの側方の開口部からチャネルにガイドワイヤを挿入した後に、スライダーを長軸方向に移動させて、チャネルとスライダーとの間にガイドワイヤを把持する。
【先行技術文献】
【特許文献】
【0005】
米国特許出願公開第2010/0191152号明細書
【発明の概要】
【発明が解決しようとする課題】
【0006】
特許文献1に記載のトルクデバイスは、チャネルを有する本体部と、チャネルに沿って長軸方向へ移動可能なスライダーとの間でガイドワイヤを挟んで把持するため、ガイドワイヤを安定して把持できない可能性がある。ガイドワイヤの把持が不安定であると、トルクデバイスに加えられたトルクをガイドワイヤに効率的に伝達することが困難となり、手技の効率が低下する。
【0007】
本発明は、上述した課題を解決するためになされたものであり、ガイドワイヤの任意の位置で着脱可能とすることにより手技の効率化が可能であるとともに、トルクを効率的に伝達できるガイドワイヤ操作器具を提供することを目的とする。
【課題を解決するための手段】
【0008】
上記目的は、下記(1)に記載の発明により達成される。
(1) 本発明に係るガイドワイヤ操作器具は、ガイドワイヤを操作するガイドワイヤ操作器具であって、長軸方向に貫通し前記ガイドワイヤを収容可能な本体内腔と、前記本体内腔と長軸方向の全長に亘って連通し側面に開口する本体スリットと、を備える本体と、前記本体内腔に配置され長軸方向へ貫通する貫通孔を備える筒部と、前記本体の外部に一部が露出する操作部と、を有し、長軸方向に移動することにより前記ガイドワイヤを前記本体に固定可能なスライダーと、を備え、前記本体は、グリップ部と、前記グリップ部から先端方向に延びて前記本体内腔に位置する前記スライダーの前記貫通孔内に配置されるチャック部と、を備えるシャフト部と、前記グリップ部の先端側において前記チャック部および前記スライダーの前記筒部を収容するキャップ部と、を有し、前記シャフト部のチャック部は、チャック部内腔を画定し、前記スライダーを前記本体の長軸方向に沿って移動させることにより前記チャック部内腔の直径を増減させることが可能な複数の把持片を備えることを特徴とする。
【発明の効果】
【0009】
上記(1)に記載のガイドワイヤ操作器具は、本体の全長に亘って設けられた本体スリットを介してガイドワイヤの任意の位置で着脱可能なため、手技の効率化が可能である。また、ガイドワイヤ操作器具は、チャック部の複数の把持片により、ガイドワイヤをガイドワイヤ操作器具の中心軸近傍で安定して把持するため、ガイドワイヤ操作器具に加えられたトルクをガイドワイヤに効率的に伝達できる。
【0010】
(2) 上記(1)に記載のガイドワイヤ操作器具において、隣り合う前記把持片の間に形成される隙間の少なくとも1つは、径方向外側から見て前記本体スリットと一致する位置にあってもよい。これにより、本体スリットから挿入されたガイドワイヤは、隣り合う把持片の間の隙間を通ってチャック部内腔へ円滑に入ることができる。このため、ガイドワイヤ操作器具は、ガイドワイヤへの着脱が容易である。
(【0011】以降は省略されています)
この特許をJ-PlatPat(特許庁公式サイト)で参照する
関連特許
テルモ株式会社
カテーテル
25日前
テルモ株式会社
カテーテル
1か月前
テルモ株式会社
カテーテル
1か月前
テルモ株式会社
カテーテル
1か月前
テルモ株式会社
カテーテル
1か月前
テルモ株式会社
カテーテル
1か月前
テルモ株式会社
持ち上げ装置
12日前
テルモ株式会社
採血管ホルダ
2か月前
テルモ株式会社
医療デバイス
2か月前
テルモ株式会社
液体循環システム
2か月前
テルモ株式会社
体液流通用ポート
1か月前
テルモ株式会社
液体排出システム
2か月前
テルモ株式会社
画像診断用カテーテル
1か月前
テルモ株式会社
ガイドワイヤ操作器具
11日前
テルモ株式会社
医療用長尺体の製造方法
1か月前
テルモ株式会社
医療用具およびその製造方法
1か月前
テルモ株式会社
動脈瘤治療システムおよび方法
1か月前
テルモ株式会社
血管穿刺装置および血管判定装置
1か月前
テルモ株式会社
医療用チューブ閉塞検出システム
2か月前
テルモ株式会社
カシメ装置及びシャフト製造方法
24日前
テルモ株式会社
身体組成計測装置、および制御方法
1か月前
テルモ株式会社
医療用具包装体および医療用具包装袋
2か月前
テルモ株式会社
ステントデリバリーシステムの製造方法
2か月前
テルモ株式会社
ステントデリバリーシステムの製造方法
2か月前
テルモ株式会社
カテーテルおよびカテーテルの製造方法
1か月前
テルモ株式会社
カテーテルおよびカテーテルの製造方法
1か月前
テルモ株式会社
カテーテルおよびカテーテルの製造方法
1か月前
テルモ株式会社
ステントデリバリーシステムの製造方法
2か月前
テルモ株式会社
血管穿刺デバイス及び血管穿刺システム
1か月前
テルモ株式会社
ステントデリバリーシステムの製造方法
2か月前
テルモ株式会社
情報処理方法、情報処理装置及びプログラム
1か月前
テルモ株式会社
情報処理方法、情報処理装置及びプログラム
1か月前
テルモ株式会社
カテーテルデバイス及び回収対象物の回収方法
1か月前
テルモ株式会社
プログラム、情報処理方法、及び情報処理装置
1か月前
テルモ株式会社
輸液ポンプ及びその制御方法、並びに、プログラム
2か月前
テルモ株式会社
コンピュータプログラム、情報処理装置及び情報処理方法
2か月前
続きを見る
他の特許を見る