TOP
|
特許
|
意匠
|
商標
特許ウォッチ
Twitter
他の特許を見る
10個以上の画像は省略されています。
公開番号
2025142563
公報種別
公開特許公報(A)
公開日
2025-10-01
出願番号
2024042003
出願日
2024-03-18
発明の名称
採血管ホルダ
出願人
テルモ株式会社
代理人
弁理士法人桐朋
主分類
A61B
5/154 20060101AFI20250924BHJP(医学または獣医学;衛生学)
要約
【課題】封止体を含む先端部形状が異なる複数種類の採血管がある場合、採血管毎にそれぞれ別の採血管ホルダを準備する必要があり煩雑である。また、複数種類の採血管ホルダを設定することで、コストの増加及び部品管理が煩雑である。
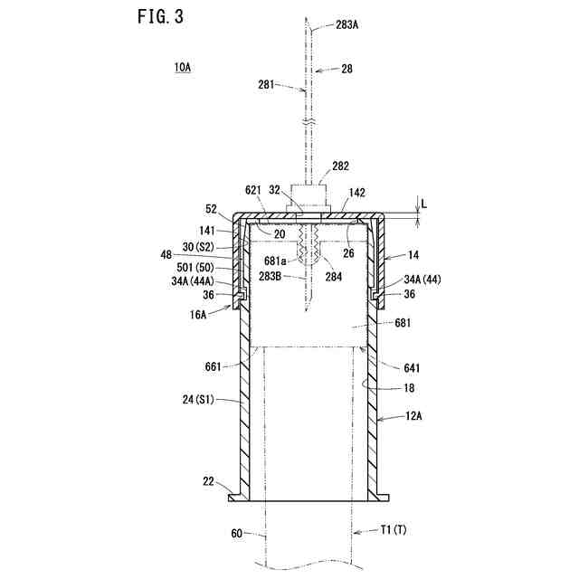
【解決手段】採血管ホルダ10Aは、採血管Tの先端部が収容されるホルダ本体12Aに対して針保持部14を軸方向に相対移動可能な伸縮構造16Aを備える。針保持部14は、針体28が取り付け可能に形成される。伸縮構造16Aは、ホルダ本体12Aに沿って設けられる溝状の凹部34Aと、針保持部14の内周面30に設けられ凹部34Aに係合される凸部36とを有する。ホルダ本体12Aに対して針保持部14が軸方向に移動することで、ホルダ本体12Aの先端壁20と針保持部14の先端との軸方向距離Lが変化する。
【選択図】図3
特許請求の範囲
【請求項1】
封止体によって開口先端が封止された筒状の採血管を保持するための採血管ホルダであって、
内腔と、先端に設けられ開口を備える先端壁とを有し、前記封止体を含む前記採血管の少なくとも先端部が収容される筒状のホルダ本体と、
針体が取り付け可能であり、前記ホルダ本体の先端の外側を覆うように設けられ、前記ホルダ本体に対して前記ホルダ本体の軸方向に相対移動可能な筒状の針保持部と、
前記ホルダ本体に対して前記針保持部を前記軸方向に相対移動可能にする伸縮構造と、
を備え、
前記伸縮構造は、前記ホルダ本体の外周面及び前記針保持部の内周面の一方である第1面に沿って設けられる溝状の凹部と、
前記ホルダ本体の外周面及び前記針保持部の内周面の他方であり前記第1面に向かい合う第2面に設けられ、前記凹部に係合される凸部と、
を有し、
前記ホルダ本体に対して前記針保持部が前記軸方向に移動することで、前記ホルダ本体の前記先端壁と前記針保持部の先端との軸方向距離が変化する、採血管ホルダ。
続きを表示(約 990 文字)
【請求項2】
請求項1記載の採血管ホルダにおいて、
前記凹部は、前記ホルダ本体の前記軸方向、且つ前記第1面の周方向に対して傾斜して形成され、
前記ホルダ本体に対して前記針保持部を回転させることで、前記針保持部が前記ホルダ本体の前記軸方向に移動する、採血管ホルダ。
【請求項3】
請求項1記載の採血管ホルダにおいて、
前記凹部は、前記ホルダ本体の前記軸方向に沿って直線状に形成され、
前記ホルダ本体に対して前記針保持部を前記軸方向に移動させることで、前記針保持部が前記ホルダ本体の前記軸方向に移動する、採血管ホルダ。
【請求項4】
請求項2又は3記載の採血管ホルダにおいて、
前記伸縮構造は、前記凹部に設けられ前記ホルダ本体に対する前記針保持部の軸方向への移動を阻止して保持する保持機構を備え、
前記保持機構は、前記針保持部が先端方向に移動して前記ホルダ本体の前記先端壁から離間した伸張時において前記針保持部を保持する先端側保持部と、
前記針保持部が基端方向に移動して、前記伸張時に対して前記針保持部が前記先端壁に接近した収縮時において前記針保持部を保持する基端側保持部と、
を備える、採血管ホルダ。
【請求項5】
請求項4記載の採血管ホルダにおいて、
前記凹部は、前記先端側保持部と前記基端側保持部との間に設けられる中間部を有し、
前記先端側保持部及び前記基端側保持部は、前記ホルダ本体の前記軸方向と交差し、且つ前記中間部の延在方向と交差する方向に延在する、採血管ホルダ。
【請求項6】
請求項2又は3記載の採血管ホルダにおいて、
前記第1面には、前記凹部から前記第1面の先端まで延在する挿入凹部が設けられ、
前記挿入凹部には、前記凹部に対する前記凸部の脱抜を防止する脱抜防止部を備える、採血管ホルダ。
【請求項7】
請求項6記載の採血管ホルダにおいて、
前記脱抜防止部は、前記凹部に隣接して設けられた段差部を有する、採血管ホルダ。
【請求項8】
請求項1記載の採血管ホルダにおいて、
前記凹部及び前記凸部の各々は、少なくとも2つ以上設けられる、採血管ホルダ。
発明の詳細な説明
【技術分野】
【0001】
本発明は、採血管を保持可能な採血管ホルダに関する。
続きを表示(約 1,500 文字)
【背景技術】
【0002】
特許文献1は、筒状のホルダ本体と、ホルダ本体の先端から突出する採血針と、ホルダ本体の内部に移動可能に設けられる中子とを備える。採血針の基端部は、ホルダ本体の内腔に突出している。採血針を生体の皮膚に穿刺した状態で、ホルダ本体の内部に採血管を押し込むことで、中子が先端方向に移動して採血管の先端に採血針の基端が穿刺され、それに伴って、採血針を通じて血液が採血管内に導入される。
【先行技術文献】
【特許文献】
【0003】
特開平10-262955号公報
【発明の概要】
【発明が解決しようとする課題】
【0004】
一般的に、採血管の開口先端には、採血管の内部を封止するための封止体を備えている。そのため、封止体を含む先端部形状が異なる複数種類の採血管がある場合、採血管毎にそれぞれ別の採血管ホルダを準備する必要があり煩雑である。また、複数種類の採血管ホルダを設定することで、コストの増加及び部品管理が煩雑である。
【0005】
本発明は、上述した課題を解決することを目的とする。
【課題を解決するための手段】
【0006】
(1)本発明の態様は、封止体によって開口先端が封止された筒状の採血管を保持するための採血管ホルダであって、内腔と、先端に設けられ開口を備える先端壁とを有し、前記封止体を含む前記採血管の少なくとも先端部が収容される筒状のホルダ本体と、針体が取り付け可能であり、前記ホルダ本体の先端の外側を覆うように設けられ、前記ホルダ本体に対して前記ホルダ本体の軸方向に相対移動可能な筒状の針保持部と、前記ホルダ本体に対して前記針保持部を前記軸方向に相対移動可能にする伸縮構造と、を備え、前記伸縮構造は、前記ホルダ本体の外周面及び前記針保持部の内周面の一方である第1面に沿って設けられる溝状の凹部と、前記ホルダ本体の外周面及び前記針保持部の内周面の他方であり前記第1面に向かい合う第2面に設けられ、前記凹部に係合される凸部と、を有し、前記ホルダ本体に対して前記針保持部が前記軸方向に移動することで、前記ホルダ本体の前記先端壁と前記針保持部の先端との軸方向距離が変化する、採血管ホルダである。
【0007】
この採血管ホルダによれば、ホルダ本体と針保持部との軸方向距離を変化させることができるため、1つの採血管ホルダで、封止体を含む先端部形状が異なる複数種類の採血管に対応することができる。そのため、先端部形状の異なる採血管毎に採血管ホルダを準備する必要がなく、採血作業を簡素化できると共に、コストの削減及び部品管理を簡素化できる。
【0008】
(2)上記の(1)記載の採血管ホルダにおいて、前記凹部は、前記ホルダ本体の前記軸方向、且つ前記第1面の周方向に対して傾斜して形成され、前記ホルダ本体に対して前記針保持部を回転させることで、前記針保持部が前記ホルダ本体の前記軸方向に移動させてもよい。
【0009】
この構成により、ホルダ本体に対する針保持部の操作方向が回転方向であるため、ユーザが操作しやすい
【0010】
(3)上記の(1)記載の採血管ホルダにおいて、前記凹部は、前記ホルダ本体の前記軸方向に沿って直線状に形成され、前記ホルダ本体に対して前記針保持部を前記軸方向に移動させることで、前記針保持部が前記ホルダ本体の前記軸方向に移動させてもよい。
(【0011】以降は省略されています)
この特許をJ-PlatPat(特許庁公式サイト)で参照する
関連特許
テルモ株式会社
カテーテル
11日前
テルモ株式会社
カテーテル
11日前
テルモ株式会社
カテーテル
1か月前
テルモ株式会社
カテーテル
1か月前
テルモ株式会社
カテーテル
1か月前
テルモ株式会社
医療デバイス
1か月前
テルモ株式会社
採血管ホルダ
1か月前
テルモ株式会社
体液流通用ポート
1か月前
テルモ株式会社
液体排出システム
1か月前
テルモ株式会社
液体循環システム
1か月前
テルモ株式会社
画像診断用カテーテル
1か月前
テルモ株式会社
医療用長尺体の製造方法
25日前
テルモ株式会社
医療用具およびその製造方法
27日前
テルモ株式会社
動脈瘤治療システムおよび方法
25日前
テルモ株式会社
血管穿刺装置および血管判定装置
4日前
テルモ株式会社
身体組成計測装置、および制御方法
26日前
テルモ株式会社
医療用具包装体および医療用具包装袋
1か月前
テルモ株式会社
ステントデリバリーシステムの製造方法
1か月前
テルモ株式会社
ステントデリバリーシステムの製造方法
1か月前
テルモ株式会社
ステントデリバリーシステムの製造方法
1か月前
テルモ株式会社
ステントデリバリーシステムの製造方法
1か月前
テルモ株式会社
血管穿刺デバイス及び血管穿刺システム
4日前
テルモ株式会社
カテーテルおよびカテーテルの製造方法
1か月前
テルモ株式会社
カテーテルおよびカテーテルの製造方法
1か月前
テルモ株式会社
カテーテルおよびカテーテルの製造方法
1か月前
テルモ株式会社
情報処理方法、情報処理装置及びプログラム
25日前
テルモ株式会社
情報処理方法、情報処理装置及びプログラム
25日前
テルモ株式会社
カテーテルデバイス及び回収対象物の回収方法
1か月前
テルモ株式会社
プログラム、情報処理方法、及び情報処理装置
25日前
テルモ株式会社
輸液ポンプ及びその制御方法、並びに、プログラム
1か月前
テルモ株式会社
情報処理方法、情報処理装置及びコンピュータプログラム
25日前
テルモ株式会社
情報処理装置、コンピュータプログラム及び情報処理方法
1か月前
テルモ株式会社
コンピュータプログラム、情報処理装置及び情報処理方法
1か月前
テルモ株式会社
薬液投与装置
1か月前
テルモ株式会社
ステントデリバリーシステムの製造方法及びステントデリバリーシステム
1か月前
テルモ株式会社
留置カテーテル、留置カテーテルシステム、判定装置、判定方法及びコンピュータプログラム
1か月前
続きを見る
他の特許を見る