TOP
|
特許
|
意匠
|
商標
特許ウォッチ
Twitter
他の特許を見る
公開番号
2025145166
公報種別
公開特許公報(A)
公開日
2025-10-03
出願番号
2024045205
出願日
2024-03-21
発明の名称
体液流通用ポート
出願人
テルモ株式会社
代理人
個人
,
個人
,
個人
主分類
A61M
5/14 20060101AFI20250926BHJP(医学または獣医学;衛生学)
要約
【課題】患者にかかる負担を抑えつつ液体の注入および排出を効率的に実行できる体液流通用ポートを提供すること。
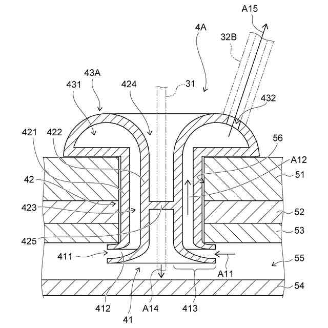
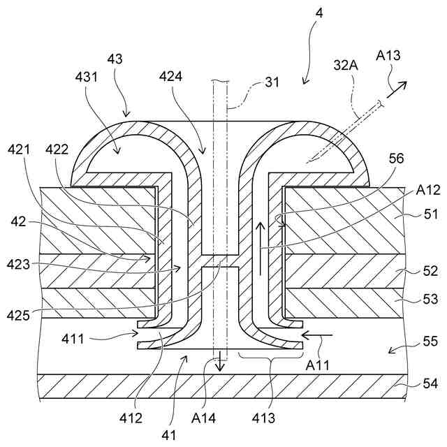
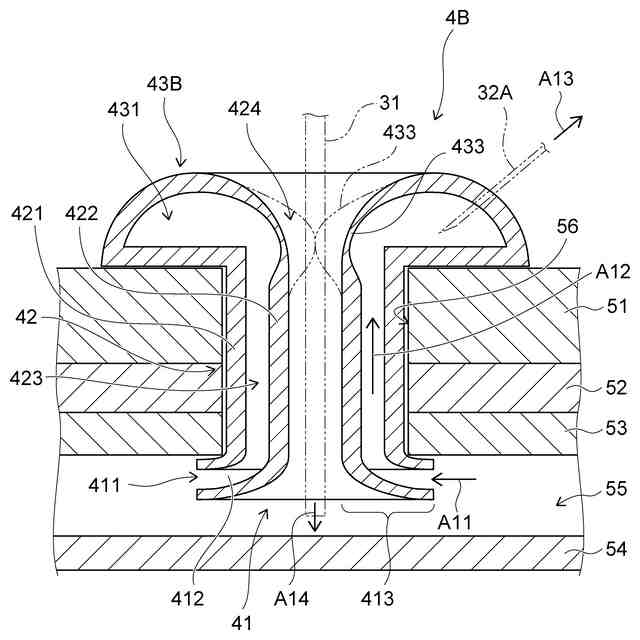
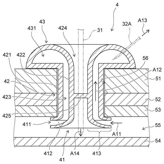
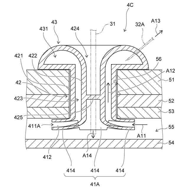
【解決手段】体液流通用ポート4は、孔56を通過して体液が収容されている収容腔55の内部に挿入され、体液が流通する流通口411を有するとともに流通口411と連通し体液を通す流路412を有する先端部41と、孔56と嵌まり合い、筒状の外壁421と筒状の内壁422とで区画され流路412に接続された内部空間423を有するとともに医療機器31を頭蓋内に通すための挿通部424を内壁422の内側に有する嵌合部42と、生体の外部に配置され、内部空間423に接続されて体液を受容するチャンバ431を有する基端部43と、を備える。
【選択図】図4
特許請求の範囲
【請求項1】
生体表面に形成された孔に嵌め込んで使用される体液流通用ポートであって、
前記孔を通過して体液が収容されている収容腔の内部に挿入され、前記体液が流通する流通口を有するとともに前記流通口と連通し前記体液を通す流路を有する先端部と、
前記孔と嵌まり合い、筒状の外壁と筒状の内壁とで区画され前記流路に接続された内部空間を有するとともに医療機器を頭蓋内に通すための挿通部を前記内壁の内側に有する嵌合部と、
生体の外部に配置され、前記内部空間に接続されて前記体液を受容するチャンバを有する基端部と、
を備えたことを特徴とする体液流通用ポート。
続きを表示(約 660 文字)
【請求項2】
前記基端部は、前記チャンバに接続され前記チャンバの外部に連通する連通口をさらに有することを特徴とする請求項1に記載の体液流通用ポート。
【請求項3】
前記流路は、第1流路であり、
前記内部空間は、前記生体の前記外部と連通するための第2流路であることを特徴とする請求項1に記載の体液流通用ポート。
【請求項4】
前記基端部は、可撓性を有する材料により形成され、前記体液によって生じる生体内圧の変動に応じて変形可能であることを特徴とする請求項1に記載の体液流通用ポート。
【請求項5】
前記先端部は、前記嵌合部から径方向の外側に向かって広がったフレア形状のフレア部を有し、
前記フレア部の端部が、前記流通口を有することを特徴とする請求項1に記載の体液流通用ポート。
【請求項6】
前記先端部は、前記嵌合部から径方向の外側に向かって分岐して広がった形状の複数の分岐部を有し、
前記分岐部の端部が、前記流通口を有することを特徴とする請求項1に記載の体液流通用ポート。
【請求項7】
前記嵌合部は、前記挿通部に設けられ前記生体の内部の流体が前記生体の前記外部に漏出することを抑える弁体を有することを特徴とする請求項1に記載の体液流通用ポート。
【請求項8】
前記孔は頭部を穿頭することによって形成された孔であり、前記体液は脳脊髄液であることを特徴とする請求項1に記載の体液流通用ポート。
発明の詳細な説明
【技術分野】
【0001】
本発明は、脳疾患の治療に用いられる体液流通用ポートに関する。
続きを表示(約 2,100 文字)
【背景技術】
【0002】
脳疾患として例えば脳梗塞が発症すると、脳細胞に酸素を供給する血流が遮断され、脳細胞にダメージが発生するおそれがある。したがって、脳梗塞が発症した場合には、血流の早期再灌流が必要である。脳梗塞の治療の1つとして、酸素化した脳脊髄液などの液体を患者の脳脊髄液が存在する体腔内に注入し、体腔外へ液体を排出することにより液体を循環させ、酸素が欠乏している脳細胞に酸素を直接供給することが特許文献1に提案されている。酸素化した脳脊髄液などの液体の必要量は、一般的な治療や麻酔などにおける薬液投与による治療で必要な薬剤の量よりも多い。そのため、頭蓋内の圧力変動を抑制するためにも注入経路と排出経路を設ける必要がある。
【0003】
脳脊髄液が収容されている収容腔に生体の外部からアクセスする一般的な場所としては、腰椎、脳室および脳槽が挙げられる。但し、脳脊髄液が収容されている収容腔に生体の外部からアクセスする場所として腰椎、脳室および脳槽を採用する場合、次のような長所および短所が存在する。
【0004】
すなわち、生体の外部から脳脊髄液の収容腔にアクセスする場所として腰椎を採用する場合には、デバイスの穿刺のみで脳脊髄液の収容腔にアクセスできるため、患者にかかる負担が少ないという長所が存在する。一方で、穿刺部位としての腰椎から治療部位としての脳まで一定の距離があるため、液体の注入の効果が得られるまでに一定の時間がかかるという短所が存在する。また、前述の通り、治療に必要な液体の投与量や流量が多いため、14G(ゲージ)以上の口径を有するカテーテルなどの医療器具を挿入する必要があるが、腰椎経路は狭いため、14G以上の針の穿刺は困難であるという短所が存在する。加えて、治療には注入経路と排出経路とが必要であるが、前述の通り、腰椎経路は狭いため、十分な口径を備えた注入経路と排出経路とを両立させることは困難である。
【0005】
生体の外部から脳脊髄液の収容腔にアクセスする場所として脳室および脳槽を採用する場合には、液体を脳に直接供給するため液体の注入および排出の効果が早期に得られるという長所が存在する。一方で、脳室および脳槽にアクセスするためにデバイスを頭部に穿刺したり頭蓋骨の一部を取り外す開頭をしたりする必要があり、患者にかかる負担が大きいという短所が存在する。例えば、注入経路と排出経路とが必要であるため、2つのデバイスを挿入する必要がある。また、脳室および脳槽から、もしくは腰椎穿刺など、脊髄腔へのアクセス全般において、体腔外へ液体を排出する排出用カテーテルが、穿頭時もしくは穿刺時の出血による血栓、組織片、または組織の張り付きなどによって閉塞するおそれがあるという短所が存在する。
【先行技術文献】
【特許文献】
【0006】
国際公開第2023/181979号
【発明の概要】
【発明が解決しようとする課題】
【0007】
本発明は、前記事情に鑑みてなされたものであり、患者にかかる負担を抑えつつ液体の注入および排出を効率的に実行できる体液流通用ポートを提供することを目的とする。
【課題を解決するための手段】
【0008】
本発明は、(1)生体表面に形成された孔に嵌め込んで使用される体液流通用ポートであって、前記孔を通過して体液が収容されている収容腔の内部に挿入され、前記体液が流通する流通口を有するとともに前記流通口と連通し前記体液を通す流路を有する先端部と、前記孔と嵌まり合い、筒状の外壁と筒状の内壁とで区画され前記流路に接続された内部空間を有するとともに医療機器を頭蓋内に通すための挿通部を前記内壁の内側に有する嵌合部と、生体の外部に配置され、前記内部空間に接続されて前記体液を受容するチャンバを有する基端部と、を備えたことを特徴とする体液流通用ポートである。
【0009】
上記(1)の体液流通用ポートによれば、先端部は、生体表面に形成された孔を通過して体液が収容されている収容腔の内部に挿入される。嵌合部は、生体表面に形成された孔と嵌まり合い、医療機器を頭蓋内に通すための挿通部を内壁の内側に有する。また、嵌合部は、筒状の外壁と筒状の内壁とで区画された内部空間を有する。嵌合部の内部空間は、先端部の流通口を流通する体液や治療薬などの液体を通す流路に接続されている。基端部は、生体の外部に配置され、チャンバを有する。基端部のチャンバは、嵌合部の内部空間に接続されて体液を受容する。
【0010】
そのため、上記(1)の体液流通用ポートによれば、体液の収容腔の内部に液体を注入する医療機器として例えば注入デバイスを嵌合部の挿通部を通して頭蓋内に通し、収容腔に収容されている体液を先端部の流通口から流路および嵌合部の内部空間を通して基端部のチャンバに導き受容することにより、生体表面に形成された1つの孔で液体の注入および排出を実行できる。これにより、上記(1)の体液流通用ポートは、患者にかかる負担を抑えることができる。
(【0011】以降は省略されています)
この特許をJ-PlatPat(特許庁公式サイト)で参照する
関連特許
テルモ株式会社
カテーテル
29日前
テルモ株式会社
カテーテル
29日前
テルモ株式会社
カテーテル
8日前
テルモ株式会社
カテーテル
8日前
テルモ株式会社
カテーテル
29日前
テルモ株式会社
採血管ホルダ
1か月前
テルモ株式会社
医療デバイス
1か月前
テルモ株式会社
液体循環システム
1か月前
テルモ株式会社
液体排出システム
1か月前
テルモ株式会社
体液流通用ポート
29日前
テルモ株式会社
画像診断用カテーテル
29日前
テルモ株式会社
医療用長尺体の製造方法
22日前
テルモ株式会社
医療用具およびその製造方法
24日前
テルモ株式会社
動脈瘤治療システムおよび方法
22日前
テルモ株式会社
血管穿刺装置および血管判定装置
1日前
テルモ株式会社
身体組成計測装置、および制御方法
23日前
テルモ株式会社
医療用具包装体および医療用具包装袋
1か月前
テルモ株式会社
カテーテルおよびカテーテルの製造方法
29日前
テルモ株式会社
カテーテルおよびカテーテルの製造方法
29日前
テルモ株式会社
カテーテルおよびカテーテルの製造方法
29日前
テルモ株式会社
血管穿刺デバイス及び血管穿刺システム
1日前
テルモ株式会社
情報処理方法、情報処理装置及びプログラム
22日前
テルモ株式会社
情報処理方法、情報処理装置及びプログラム
22日前
テルモ株式会社
カテーテルデバイス及び回収対象物の回収方法
29日前
テルモ株式会社
プログラム、情報処理方法、及び情報処理装置
22日前
テルモ株式会社
情報処理方法、情報処理装置及びコンピュータプログラム
22日前
個人
貼付剤
5日前
個人
短下肢装具
3か月前
個人
排尿補助器具
18日前
個人
前腕誘導装置
3か月前
個人
洗井間専家。
7か月前
個人
嚥下鍛錬装置
3か月前
個人
白内障治療法
7か月前
個人
ウォート指圧法
16日前
個人
アイマスク装置
2か月前
個人
ホバーアイロン
6か月前
続きを見る
他の特許を見る