TOP
|
特許
|
意匠
|
商標
特許ウォッチ
Twitter
他の特許を見る
10個以上の画像は省略されています。
公開番号
2025154383
公報種別
公開特許公報(A)
公開日
2025-10-10
出願番号
2024057340
出願日
2024-03-29
発明の名称
情報処理方法、情報処理装置及びコンピュータプログラム
出願人
テルモ株式会社
代理人
個人
,
個人
主分類
A61B
5/022 20060101AFI20251002BHJP(医学または獣医学;衛生学)
要約
【課題】数回測定した身体データから所要の身体データを特定できる情報処理方法、情報処理装置及びコンピュータプログラムを提供する。
【解決手段】情報処理方法は、被検者の所定期間における所定の観察項目に対応する複数時点の身体データを取得し、所定の観察項目に対して設定された判定項目において、取得した身体データに対して、アラート設定値に基づいてアラートレベルを選定し、所定のアラート条件を充足する場合、選定したアラートレベルのうち最も高いアラートレベルに対応する身体データに基づいて、身体データの所定期間における代表値を特定する。
【選択図】図1
特許請求の範囲
【請求項1】
被検者の所定期間における所定の観察項目に対応する複数時点の身体データを取得し、
前記所定の観察項目に対して設定された判定項目において、取得した身体データに対して、アラート設定値に基づいてアラートレベルを選定し、
所定のアラート条件を充足する場合、選定したアラートレベルのうち最も高いアラートレベルに対応する身体データに基づいて、前記身体データの前記所定期間における代表値を特定する、
情報処理方法。
続きを表示(約 1,900 文字)
【請求項2】
前記判定項目において、前記所定のアラート条件を充足し、前記最も高いアラートレベルに対応する身体データが複数ある場合、身体データと前記アラート設定値に基づくアラート判定値との差が最も大きい身体データを前記判定項目における身体データの前記最も高いアラートレベルに対応する代表値候補として特定し、
特定した代表値候補に基づいて、前記所定期間における代表値を特定する、
請求項1に記載の情報処理方法。
【請求項3】
前記所定の観察項目に対して、判定項目が複数設定されており、
2つ以上の前記判定項目のそれぞれにおいて、前記代表値候補がある場合、特定した複数の代表値候補の中で最先又は最新の身体データを、前記所定期間における代表値として特定する、
請求項2に記載の情報処理方法。
【請求項4】
前記所定期間を1日における朝の時間帯として、前記被検者の血圧に関する身体データを取得した場合、特定した複数の代表値候補の中で最先の身体データを、前記所定期間における代表値として特定する、
請求項3に記載の情報処理方法。
【請求項5】
前記所定期間を1日における夜の時間帯として、前記被検者の血圧に関する身体データを取得した場合、特定した複数の代表値候補の中で最新の身体データを、前記所定期間における代表値として特定する、
請求項3に記載の情報処理方法。
【請求項6】
前記所定のアラート条件を充足しない場合、前記所定期間における最先又は最新の身体データを、前記所定期間における代表値として特定する、
請求項1から請求項5のいずれか一項に記載の情報処理方法。
【請求項7】
前記所定期間を1日における朝の時間帯として、前記被検者の血圧に関する身体データを取得し、
前記所定のアラート条件を充足せず、最先の身体データを取得した時点を含む所定時間内で複数の身体データを取得した場合、前記所定時間内の身体データの統計値を前記所定期間における代表値として特定する、
請求項6に記載の情報処理方法。
【請求項8】
前記所定期間を1日における夜の時間帯として、前記被検者の血圧に関する身体データを取得し、
前記所定のアラート条件を充足せず、最新の身体データを取得した時点を含む所定時間内で複数の身体データを取得した場合、前記所定時間内の身体データの統計値を前記所定期間における代表値として特定する、
請求項6に記載の情報処理方法。
【請求項9】
前記所定期間として、第1の所定期間と、前記第1の所定期間を複数含む第2の所定期間とが設定されており、
第2の所定期間の前記被検者の前記所定の観察項目に対応する複数時点の身体データを取得し、
前記第1の所定期間のそれぞれにおいて、前記第1の所定期間における身体データの代表値を特定するとともに、当該代表値の特定に用いたアラートレベルを前記第1の所定期間における観察項目代表レベルとして特定し、
特定した前記第1の所定期間における身体データの代表値の中で、特定した観察項目代表レベルの中で最も高いアラートレベルに対応する代表値であって、前記アラート設定値に基づくアラート判定値との差が最も大きい最新の代表値を、前記第2の所定期間における身体データの代表値として特定する、
請求項1から請求項5のいずれか一項に記載の情報処理方法。
【請求項10】
前記所定の観察項目として複数の観察項目が設定されており、かつ、前記最も高いアラートレベルを検出するアラート検出期間が設定されており、
当該複数の観察項目のそれぞれに対応する、前記被検者の前記所定期間における複数時点の身体データを取得し、
前記複数の観察項目それぞれにおいて、取得した身体データに対して、アラート設定値に基づいてアラートレベルを選定し、
所定のアラート条件を充足する場合、選定したアラートレベルのうち最も高いアラートレベルに対応する身体データに基づいて、前記身体データの前記所定期間における代表値を特定するとともに、当該代表値の特定に用いた最も高いアラートレベルを前記所定期間における観察項目代表レベルとして特定し、
前記アラート検出期間において、特定した観察項目代表レベルのうち最も高いアラートレベルのものを、前記アラート検出期間におけるアラート代表レベルとして特定する、
請求項1から請求項5のいずれか一項に記載の情報処理方法。
(【請求項11】以降は省略されています)
発明の詳細な説明
【技術分野】
【0001】
本発明は、情報処理方法、情報処理装置及びコンピュータプログラムに関する。
続きを表示(約 4,900 文字)
【背景技術】
【0002】
近年の技術進化により、スマートフォンのアプリやウェアラブルデバイスなど用いて、体重、血圧、脈拍などの身体データが手軽に測定できるようになった。一方で、生活習慣病患者の増加や健康志向の高まりを受けて、身体データの活用が重要になっている。
【0003】
特許文献1には、身体データを収集するバイタルセンサの数に応じてデータ表示画面レイアウトを変更する表示装置が開示されている。
【先行技術文献】
【特許文献】
【0004】
特開2000-312666号公報
【発明の概要】
【発明が解決しようとする課題】
【0005】
しかし、身体データを繰り返し複数回測定した場合、測定した身体データが必ずしも同一値とはならず、測定した身体データのうち、どの身体データを用いるかを判断することが困難な場合がある。
【0006】
本発明は、斯かる事情に鑑みてなされたものであり、複数回測定した身体データから所要の身体データを特定できる情報処理方法、情報処理装置及びコンピュータプログラムを提供することを目的とする。
【課題を解決するための手段】
【0007】
(1)本発明に係る情報処理方法は、被検者の所定期間における所定の観察項目に対応する複数時点の身体データを取得し、前記所定の観察項目に対して設定された判定項目において、取得した身体データに対して、アラート設定値に基づいてアラートレベルを選定し、所定のアラート条件を充足する場合、選定したアラートレベルのうち最も高いアラートレベルに対応する身体データに基づいて、前記身体データの前記所定期間における代表値を特定する。
ここで、本発明の実施形態は、
(2)上記(1)の情報処理方法は、前記判定項目において、前記所定のアラート条件を充足し、前記最も高いアラートレベルに対応する身体データが複数ある場合、身体データと前記アラート設定値に基づくアラート判定値との差が最も大きい身体データを前記判定項目における身体データの前記最も高いアラートレベルに対応する代表値候補として特定し、特定した代表値候補に基づいて、前記所定期間における代表値を特定する。
(3)上記(2)の情報処理方法は、前記所定の観察項目に対して、判定項目が複数設定されており、2つ以上の前記判定項目のそれぞれにおいて、前記代表値候補がある場合、特定した複数の代表値候補の中で最先又は最新の身体データを、前記所定期間における代表値として特定する。
(4)上記(3)の情報処理方法は、前記所定期間を1日における朝の時間帯として、前記被検者の血圧に関する身体データを取得した場合、特定した複数の代表値候補の中で最先の身体データを、前記所定期間における代表値として特定する。
(5)上記(3)の情報処理方法は、前記所定期間を1日における夜の時間帯として、前記被検者の血圧に関する身体データを取得した場合、特定した複数の代表値候補の中で最新の身体データを、前記所定期間における代表値として特定する。
(6)上記(1)から(5)のいずれか一つの情報処理方法は、前記所定のアラート条件を充足しない場合、前記所定期間における最先又は最新の身体データを、前記所定期間における代表値として特定する。
(7)上記(6)の情報処理方法は、前記所定期間を1日における朝の時間帯として、前記被検者の血圧に関する身体データを取得し、前記所定のアラート条件を充足せず、最先の身体データを取得した時点を含む所定時間内で複数の身体データを取得した場合、前記所定時間内の身体データの統計値を前記所定期間における代表値として特定する。
(8)上記(6)の情報処理方法は、前記所定期間を1日における夜の時間帯として、前記被検者の血圧に関する身体データを取得し、前記所定のアラート条件を充足せず、最新の身体データを取得した時点を含む所定時間内で複数の身体データを取得した場合、前記所定時間内の身体データの統計値を前記所定期間における代表値として特定する。
(9)上記(1)から(8)のいずれか一つの情報処理方法は、前記所定期間として、第1の所定期間と、前記第1の所定期間を複数含む第2の所定期間とが設定されており、第2の所定期間の前記被検者の前記所定の観察項目に対応する複数時点の身体データを取得し、前記第1の所定期間のそれぞれにおいて、前記第1の所定期間における身体データの代表値を特定するとともに、当該代表値の特定に用いたアラートレベルを前記第1の所定期間における観察項目代表レベルとして特定し、特定した前記第1の所定期間における身体データの代表値の中で、特定した観察項目代表レベルの中で最も高いアラートレベルに対応する代表値であって、前記アラート設定値に基づくアラート判定値との差が最も大きい最新の代表値を、前記第2の所定期間における身体データの代表値として特定する。
(10)上記(1)から(9)のいずれか一つの情報処理方法は、前記所定の観察項目として複数の観察項目が設定されており、かつ、前記最も高いアラートレベルを検出するアラート検出期間が設定されており、当該複数の観察項目のそれぞれに対応する、前記被検者の前記所定期間における複数時点の身体データを取得し、前記複数の観察項目それぞれにおいて、取得した身体データに対して、アラート設定値に基づいてアラートレベルを選定し、所定のアラート条件を充足する場合、選定したアラートレベルのうち最も高いアラートレベルに対応する身体データに基づいて、前記身体データの前記所定期間における代表値を特定するとともに、当該代表値の特定に用いた最も高いアラートレベルを前記所定期間における観察項目代表レベルとして特定し、前記アラート検出期間において、特定した観察項目代表レベルのうち最も高いアラートレベルのものを、前記アラート検出期間におけるアラート代表レベルとして特定する。
(11)上記(1)から(10)のいずれか一つの情報処理方法は、取得した身体データに対して選定されたアラートレベルのうち前記所定期間における最も危険度が高いアラートレベルが正常でない場合、前記所定のアラート条件を充足すると判定する。
(12)上記(1)から(11)のいずれか一つの情報処理方法は、特定した代表値を出力する。
(13)上記(1)から(12)のいずれか一つの情報処理方法は、前記アラート設定値及びアラートレベルの種別を受け付け、受け付けたアラート設定値及びアラートレベルの種別を設定する。
(14)本発明に係る情報処理装置は、制御部を備え、前記制御部は、被検者の所定期間における所定の観察項目に対応する複数時点の身体データを取得し、前記所定の観察項目に対して設定された判定項目において、取得した身体データに対して、アラート設定値に基づいてアラートレベルを選定し、所定のアラート条件を充足する場合、選定したアラートレベルのうち最も高いアラートレベルに対応する身体データに基づいて、前記身体データの前記所定期間における代表値を特定する。
(15)本発明に係るコンピュータプログラムは、被検者の所定期間における所定の観察項目に対応する複数時点の身体データを取得し、前記所定の観察項目に対して設定された判定項目において、取得した身体データに対して、アラート設定値に基づいてアラートレベルを選定し、所定のアラート条件を充足する場合、選定したアラートレベルのうち最も高いアラートレベルに対応する身体データに基づいて、前記身体データの前記所定期間における代表値を特定する、処理をコンピュータに実行させる。
(16)本発明に係る情報処理方法は、被検者の所定期間における所定の観察項目に対応する複数時点の身体データを送信し、前記所定の観察項目に対して設定された判定項目において、送信した身体データに対して、アラート設定値に基づいて選定されたアラートレベルを取得し、所定のアラート条件を充足する場合、取得したアラートレベルのうち最も高いアラートレベルに対応する身体データに基づいて、前記身体データの前記所定期間における代表値を特定する。
(17)本発明に係るコンピュータプログラムは、被検者の所定期間における所定の観察項目に対応する複数時点の身体データを送信し、前記所定の観察項目に対して設定された判定項目において、送信した身体データに対して、アラート設定値に基づいて選定されたアラートレベルを取得し、所定のアラート条件を充足する場合、取得したアラートレベルのうち最も高いアラートレベルに対応する身体データに基づいて、前記身体データの前記所定期間における代表値を特定する、処理をコンピュータに実行させる。
【発明の効果】
【0008】
本発明によれば、複数回測定した身体データから所要の身体データを特定できる。
【図面の簡単な説明】
【0009】
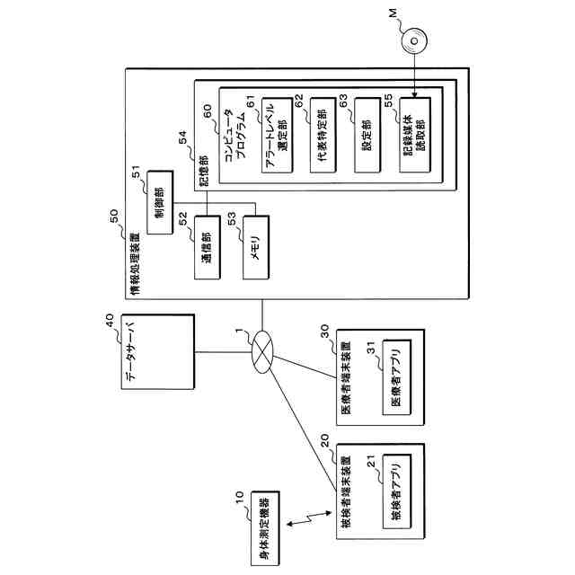
本実施形態の情報処理システムの構成の一例を示す図である。
情報処理システムの処理手順の一例を示す図である。
身体データの一例を示す図である。
体重の場合のアラート設定値の一例を示す図である。
血圧の場合のアラート設定値の一例を示す図である。
アラートレベルの一例を示す図である。
体重の場合の、各判定項目におけるアラートレベルを選定するための基準の一例を示す図である。
「アラートレベル_体重_回_増加」の選定処理の手順の一例を示す図である。
血圧_朝の場合のアラートレベルの一例を示す図である。
血圧_夜の場合のアラートレベルの一例を示す図である。
「アラートレベル_血圧_回_収縮期」の選定処理の手順の一例を示す図である。
1回の測定の中で最も危険なアラートレベルの一例を示す図である。
「アラートレベル_体重_回_代表」の選定処理の手順の一例を示す図である。
所定期間の中で最も危険度が高いアラートレベルの一例を示す図である。
「アラートレベル_体重_日_代表」の選定処理の手順の一例を示す図である。
代表値(「代表値_体重_日」の特定方法の一例を示す図である。
1日における朝の時間帯の代表値(「代表値_血圧_日_朝」)の特定方法の一例を示す図である。
体重の代表値の具体例を示す図である。
血圧の代表値の具体例を示す図である。
アラート機能設定画面の一例を示す図である。
被検者端末装置に表示される代表値の一例を示す図である。
医療者端末装置に表示される代表値の一例を示す図である。
【発明を実施するための形態】
【0010】
以下、本発明の実施の形態について説明する。図1は本実施形態の情報処理システムの構成の一例を示す図である。情報処理システムは、情報処理装置50を備える。情報処理装置50には、通信ネットワーク1を介して、身体測定機器10、被検者端末装置20、医療者端末装置30、及びデータサーバ40が接続されている。情報処理システムは、被検者端末装置20を備えてもよい。この場合、情報処理装置50は、例えば、クラウド上に設けることができ、被検者端末装置20との間で情報の授受を行うことができる。被検者端末装置20は、NFC(Near Field Communication)又はBluetooth(商標)などの近距離無線通信を介して身体測定機器10が接続される。
(【0011】以降は省略されています)
この特許をJ-PlatPat(特許庁公式サイト)で参照する
関連特許
テルモ株式会社
カテーテル
1か月前
テルモ株式会社
カテーテル
25日前
テルモ株式会社
カテーテル
1か月前
テルモ株式会社
持ち上げ装置
12日前
テルモ株式会社
ガイドワイヤ操作器具
11日前
テルモ株式会社
カシメ装置及びシャフト製造方法
24日前
テルモ株式会社
血管穿刺装置および血管判定装置
1か月前
テルモ株式会社
血管穿刺デバイス及び血管穿刺システム
1か月前
テルモ株式会社
プログラム、情報処理方法、及び情報処理装置
1か月前
テルモ株式会社
カテーテルおよびカテーテルへのマーカー部材の固定方法
10日前
テルモ株式会社
情報処理方法、情報処理装置及びコンピュータプログラム
1か月前
テルモ株式会社
穿刺針及び針組立体
26日前
個人
貼付剤
1か月前
個人
簡易担架
17日前
個人
短下肢装具
4か月前
個人
足踏み器具
24日前
個人
腋臭防止剤
17日前
個人
排尿補助器具
1か月前
個人
嚥下鍛錬装置
4か月前
個人
前腕誘導装置
4か月前
個人
アイマスク装置
3か月前
個人
ウォート指圧法
1か月前
個人
腰ベルト
1か月前
個人
バッグ式オムツ
5か月前
個人
汚れ防止シート
2か月前
個人
矯正椅子
6か月前
個人
歯の修復用材料
5か月前
個人
胸骨圧迫補助具
2か月前
個人
湿布連続貼り機。
3か月前
個人
陣痛緩和具
4か月前
個人
歯の保護用シール
6か月前
個人
排尿排便補助器具
19日前
個人
哺乳瓶冷まし容器
4か月前
個人
美容セット
26日前
個人
エア誘導コルセット
3か月前
個人
性行為補助具
4か月前
続きを見る
他の特許を見る