TOP
|
特許
|
意匠
|
商標
特許ウォッチ
Twitter
他の特許を見る
10個以上の画像は省略されています。
公開番号
2025170667
公報種別
公開特許公報(A)
公開日
2025-11-19
出願番号
2024075442
出願日
2024-05-07
発明の名称
持ち上げ装置
出願人
テルモ株式会社
代理人
個人
,
個人
,
個人
主分類
A61M
25/09 20060101AFI20251112BHJP(医学または獣医学;衛生学)
要約
【課題】複数の線状部材の中から一部の線状部材を容易に取り出し可能な持ち上げ装置を提供する。
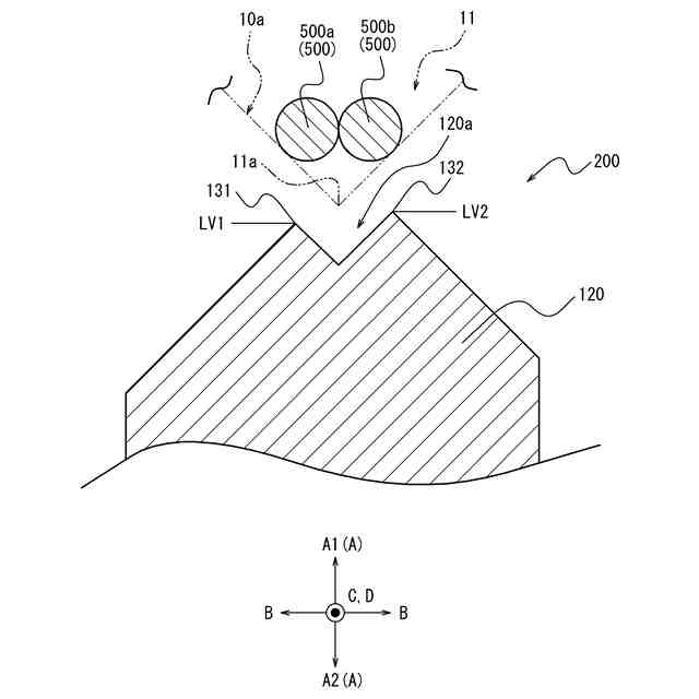
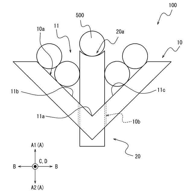
【解決手段】本開示に係る持ち上げ装置は、複数の線状部材を鉛直方向の下方から支持可能な支持面と、前記支持面に対して相対的に前記鉛直方向に移動可能であり、前記鉛直方向の上方に向かって移動する際に、前記支持面に支持されている前記複数の線状部材のうち一部の線状部材を持ち上げ可能な移動体と、を備え、前記移動体は、前記鉛直方向の上方に向かって移動する際に、前記一部の線状部材を収容する収容溝を備える。
【選択図】図1
特許請求の範囲
【請求項1】
複数の線状部材を鉛直方向の下方から支持可能な支持面と、
前記支持面に対して相対的に前記鉛直方向に移動可能であり、前記鉛直方向の上方に向かって移動する際に、前記支持面に支持されている前記複数の線状部材のうち一部の線状部材を持ち上げ可能な移動体と、を備え、
前記移動体は、前記鉛直方向の上方に向かって移動する際に、前記一部の線状部材を収容する収容溝を備える、持ち上げ装置。
続きを表示(約 1,000 文字)
【請求項2】
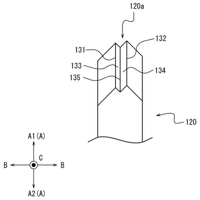
前記収容溝は、第1縁部及び第2縁部を備え、
前記収容溝の延在方向に直交する断面視で、前記第2縁部は、前記第1縁部より前記鉛直方向の上方に位置する、請求項1に記載の持ち上げ装置。
【請求項3】
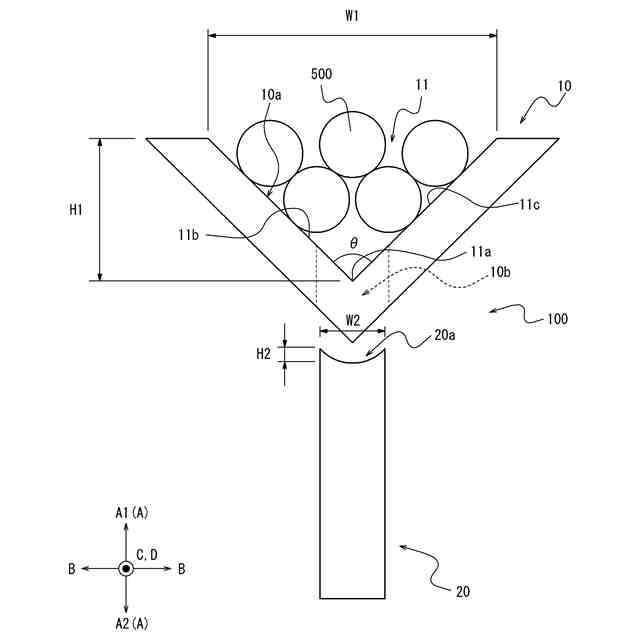
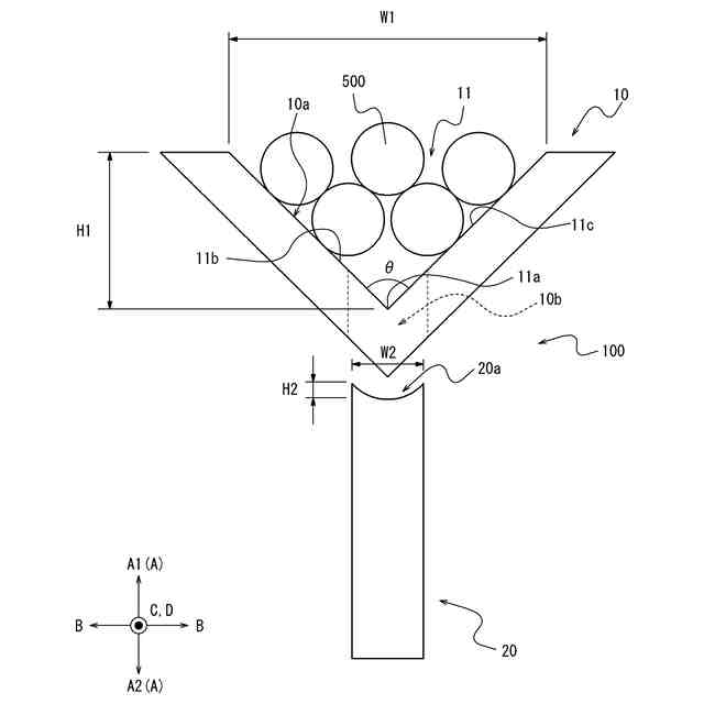
前記収容溝は、
前記第1縁部に連なる第1溝壁部と、
前記第2縁部に連なる第2溝壁部と、
溝底部と、を備え、
前記断面視で、前記第1溝壁部及び前記第2溝壁部は、前記溝底部側に向かって相互に近づくように、前記鉛直方向に対して傾斜している、請求項2に記載の持ち上げ装置。
【請求項4】
前記断面視で、前記第2溝壁部の水平方向の長さは、前記第1溝壁部の前記水平方向の長さより長い、請求項3に記載の持ち上げ装置。
【請求項5】
前記収容溝の前記溝底部は、前記第1溝壁部及び前記第2溝壁部が交差することで形成されている、請求項3又は4に記載の持ち上げ装置。
【請求項6】
前記収容溝は、前記移動体の上面に設けられており、
前記収容溝の前記第1縁部及び前記第2縁部それぞれは、前記収容溝の前記延在方向における両端部の位置より、前記収容溝の前記延在方向における前記両端部の間の中央部の位置で、前記鉛直方向の上方に突出している、請求項2から4のいずれか1つに記載の持ち上げ装置。
【請求項7】
前記支持面を備える支持部材を備え、
前記支持部材は、前記支持面に開口し、前記移動体が挿通可能な挿通孔を区画しており、
前記移動体は、前記挿通孔を通じて、前記鉛直方向に移動可能である、請求項1から4のいずれか1つに記載の持ち上げ装置。
【請求項8】
前記支持面は、前記複数の線状部材を収容可能な支持溝の内面である、請求項1から4のいずれか1つに記載の持ち上げ装置。
【請求項9】
前記支持面は、前記複数の線状部材を収容可能な支持溝の内面であり、
前記支持部材は、前記支持溝の延在方向の一端を閉鎖する閉鎖壁面を備え、
前記挿通孔は、前記支持溝の前記延在方向において、前記支持溝の中間位置より前記閉鎖壁面に近い位置に配置されている、請求項7に記載の持ち上げ装置。
【請求項10】
前記支持溝の溝幅は、溝底に向かうにつれて漸減している、請求項8に記載の持ち上げ装置。
(【請求項11】以降は省略されています)
発明の詳細な説明
【技術分野】
【0001】
本開示は持ち上げ装置に関する。
続きを表示(約 1,300 文字)
【背景技術】
【0002】
血管内に生じた病変の診断や治療において、カテーテルを用いる手技が行われる。この手技では、術者は、血管内にガイドワイヤを挿入し、ガイドワイヤの先端を病変の近傍に到達させた後、ガイドワイヤに沿ってカテーテルを挿入する。特許文献1には、ガイドワイヤが開示されている。
【先行技術文献】
【特許文献】
【0003】
特開2000-014792号公報
【発明の概要】
【発明が解決しようとする課題】
【0004】
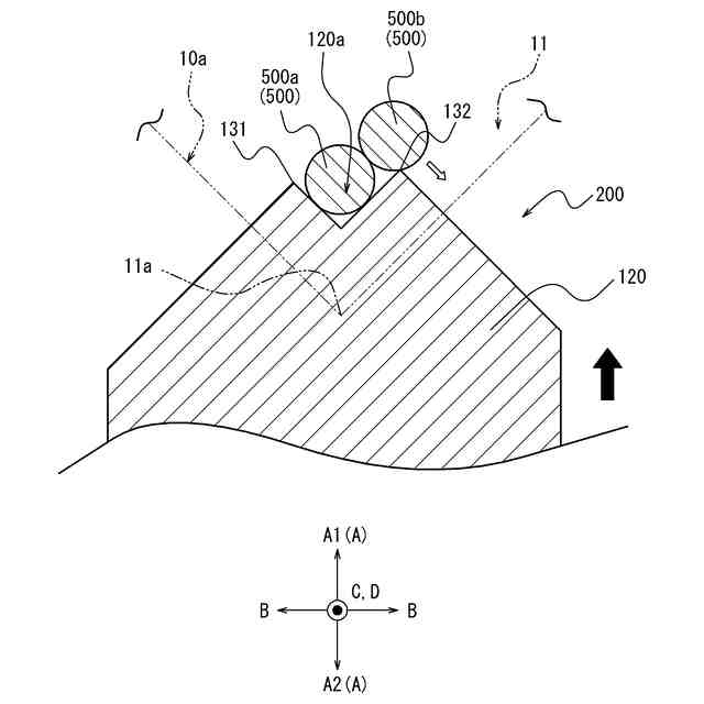
ガイドワイヤは、例えば、材料となる線状部材を加工することで形成される。この際、複数の線状部材の中から、例えば1本の線状部材など、一部の線状部材を取り出して加工を行う場合がある。また、ガイドワイヤの製造時に限らず、複数の線状部材の中から一部の線状部材を取り出す作業を要する場合がある。このような線状部材の取り出し作業を手作業で行うことは手間である。
【0005】
本開示は、複数の線状部材の中から一部の線状部材を容易に取り出し可能な持ち上げ装置を提供することを目的とする。
【課題を解決するための手段】
【0006】
本開示の第1の態様としての持ち上げ装置は、
(1)
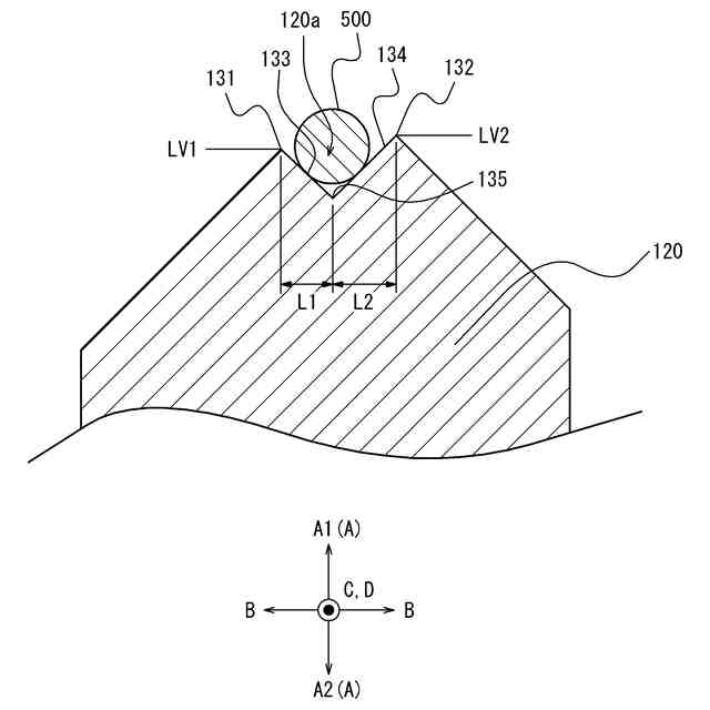
複数の線状部材を鉛直方向の下方から支持可能な支持面と、
前記支持面に対して相対的に前記鉛直方向に移動可能であり、前記鉛直方向の上方に向かって移動する際に、前記支持面に支持されている前記複数の線状部材のうち一部の線状部材を持ち上げ可能な移動体と、を備え、
前記移動体は、前記鉛直方向の上方に向かって移動する際に、前記一部の線状部材を収容する収容溝を備える、持ち上げ装置、である。
【0007】
本開示の1つの実施形態としての持ち上げ装置は、
(2)
前記収容溝は、第1縁部及び第2縁部を備え、
前記収容溝の延在方向に直交する断面視で、前記第2縁部は、前記第1縁部より前記鉛直方向の上方に位置する、上記(1)に記載の持ち上げ装置、である。
【0008】
本開示の1つの実施形態としての持ち上げ装置は、
(3)
前記収容溝は、
前記第1縁部に連なる第1溝壁部と、
前記第2縁部に連なる第2溝壁部と、
溝底部と、を備え、
前記断面視で、前記第1溝壁部及び前記第2溝壁部は、前記溝底部側に向かって相互に近づくように、前記鉛直方向に対して傾斜している、上記(2)に記載の持ち上げ装置、である。
【0009】
本開示の1つの実施形態としての持ち上げ装置は、
(4)
前記断面視で、前記第2溝壁部の水平方向の長さは、前記第1溝壁部の前記水平方向の長さより長い、上記(3)に記載の持ち上げ装置、である。
【0010】
本開示の1つの実施形態としての持ち上げ装置は、
(5)
前記収容溝の前記溝底部は、前記第1溝壁部及び前記第2溝壁部が交差することで形成されている、上記(3)又は(4)に記載の持ち上げ装置、である。
(【0011】以降は省略されています)
この特許をJ-PlatPat(特許庁公式サイト)で参照する
関連特許
テルモ株式会社
カテーテル
1か月前
テルモ株式会社
カテーテル
25日前
テルモ株式会社
カテーテル
1か月前
テルモ株式会社
カテーテル
1か月前
テルモ株式会社
カテーテル
1か月前
テルモ株式会社
カテーテル
1か月前
テルモ株式会社
持ち上げ装置
12日前
テルモ株式会社
採血管ホルダ
2か月前
テルモ株式会社
液体循環システム
2か月前
テルモ株式会社
体液流通用ポート
1か月前
テルモ株式会社
液体排出システム
2か月前
テルモ株式会社
ガイドワイヤ操作器具
11日前
テルモ株式会社
画像診断用カテーテル
1か月前
テルモ株式会社
医療用長尺体の製造方法
1か月前
テルモ株式会社
医療用具およびその製造方法
1か月前
テルモ株式会社
動脈瘤治療システムおよび方法
1か月前
テルモ株式会社
血管穿刺装置および血管判定装置
1か月前
テルモ株式会社
カシメ装置及びシャフト製造方法
24日前
テルモ株式会社
身体組成計測装置、および制御方法
1か月前
テルモ株式会社
医療用具包装体および医療用具包装袋
2か月前
テルモ株式会社
カテーテルおよびカテーテルの製造方法
1か月前
テルモ株式会社
血管穿刺デバイス及び血管穿刺システム
1か月前
テルモ株式会社
カテーテルおよびカテーテルの製造方法
1か月前
テルモ株式会社
カテーテルおよびカテーテルの製造方法
1か月前
テルモ株式会社
情報処理方法、情報処理装置及びプログラム
1か月前
テルモ株式会社
情報処理方法、情報処理装置及びプログラム
1か月前
テルモ株式会社
カテーテルデバイス及び回収対象物の回収方法
1か月前
テルモ株式会社
プログラム、情報処理方法、及び情報処理装置
1か月前
テルモ株式会社
情報処理方法、情報処理装置及びコンピュータプログラム
1か月前
テルモ株式会社
カテーテルおよびカテーテルへのマーカー部材の固定方法
10日前
テルモ株式会社
穿刺針及び針組立体
26日前
個人
貼付剤
1か月前
個人
簡易担架
17日前
個人
短下肢装具
4か月前
個人
足踏み器具
24日前
個人
腋臭防止剤
17日前
続きを見る
他の特許を見る