TOP
|
特許
|
意匠
|
商標
特許ウォッチ
Twitter
他の特許を見る
10個以上の画像は省略されています。
公開番号
2025145702
公報種別
公開特許公報(A)
公開日
2025-10-03
出願番号
2024046023
出願日
2024-03-22
発明の名称
画像診断用カテーテル
出願人
テルモ株式会社
代理人
個人
,
個人
,
個人
主分類
A61B
8/12 20060101AFI20250926BHJP(医学または獣医学;衛生学)
要約
【課題】導電リング部及び導電ブラシ部を備える画像診断用カテーテルを提供する。
【解決手段】本開示に係る画像診断用カテーテルは、超音波送受信部と、前記超音波送受信部を支持しているハウジングと、前記超音波送受信部と電気的に接続されている電気信号線と、前記ハウジングの近位側に接続されているシャフト体と、前記シャフト体の近位端部を覆い、前記シャフト体を相対的に回動可能に支持するハブ部材と、を備え、前記シャフト体の前記近位端部は、前記電気信号線と電気的に接続されている導電リング部を備え、前記ハブ部材は前記導電リング部と接触する導電ブラシ部を備える。
【選択図】図4
特許請求の範囲
【請求項1】
超音波送受信部と、
前記超音波送受信部を支持しているハウジングと、
前記超音波送受信部と電気的に接続されている電気信号線と、
前記ハウジングの近位側に接続されているシャフト体と、
前記シャフト体の近位端部を覆い、前記シャフト体を相対的に回動可能に支持するハブ部材と、を備え、
前記シャフト体の前記近位端部は、前記電気信号線と電気的に接続されている導電リング部を備え、
前記ハブ部材は前記導電リング部と接触する導電ブラシ部を備える、画像診断用カテーテル。
続きを表示(約 1,000 文字)
【請求項2】
前記シャフト体は、
コイルシャフト部と、
前記ハブ部材に覆われており、前記コイルシャフト部に取り付けられている導電性の接続パイプ部と、を備え、
前記導電リング部は、前記接続パイプ部である、請求項1に記載の画像診断用カテーテル。
【請求項3】
前記シャフト体は、
コイルシャフト部と、
前記ハブ部材に覆われており、前記コイルシャフト部に取り付けられている接続パイプ部と、
前記接続パイプ部の外面に支持され、前記接続パイプ部の前記外面を構成する層より電気抵抗が小さいリング体と、を備え、
前記導電リング部は、前記リング体である、請求項1に記載の画像診断用カテーテル。
【請求項4】
前記接続パイプ部の前記外面を構成する前記層は絶縁材料により形成されている、請求項3に記載の画像診断用カテーテル。
【請求項5】
前記電気信号線は、前記シャフト体の内部に区画される中空部を通じて、前記シャフト体の長手方向に延在している、請求項1から4のいずれか1つに記載の画像診断用カテーテル。
【請求項6】
前記ハブ部材は、
前記シャフト体が挿通されている挿通路と、
前記挿通路の遠位端及び近位端の間の連通部で前記挿通路に連通し、外部から前記挿通路に液体を注入可能な注入路と、を内部に区画しており、
前記ハブ部材は、前記挿通路のうち前記連通部より前記近位側の位置において、前記シャフト体の周囲で前記挿通路を閉塞するシール部を備え、
前記シャフト体の前記導電リング部、及び、前記ハブ部材の前記導電ブラシ部は、前記シール部に対して近位側に配置されている、請求項1から4のいずれか1つに記載の画像診断用カテーテル。
【請求項7】
前記ハブ部材は、前記シャフト体を前記ハブ部材に対して相対的に回動するように前記シャフト体を駆動可能な駆動装置に対して接続可能なコネクタ部を備え、
前記シャフト体の前記導電リング部、及び、前記ハブ部材の前記導電ブラシ部は、前記コネクタ部に対して遠位側に配置されている、請求項1から4のいずれか1つに記載の画像診断用カテーテル。
【請求項8】
前記ハブ部材に対して遠位側で、前記超音波送受信部、前記ハウジング、前記電気信号線、及び、前記シャフト体を内部に収容するシースを備える、請求項1から4のいずれか1つに記載の画像診断用カテーテル。
発明の詳細な説明
【技術分野】
【0001】
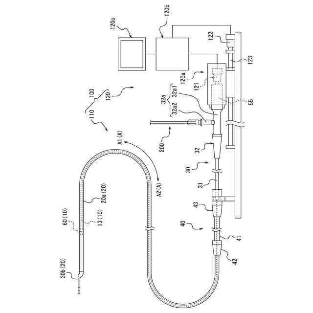
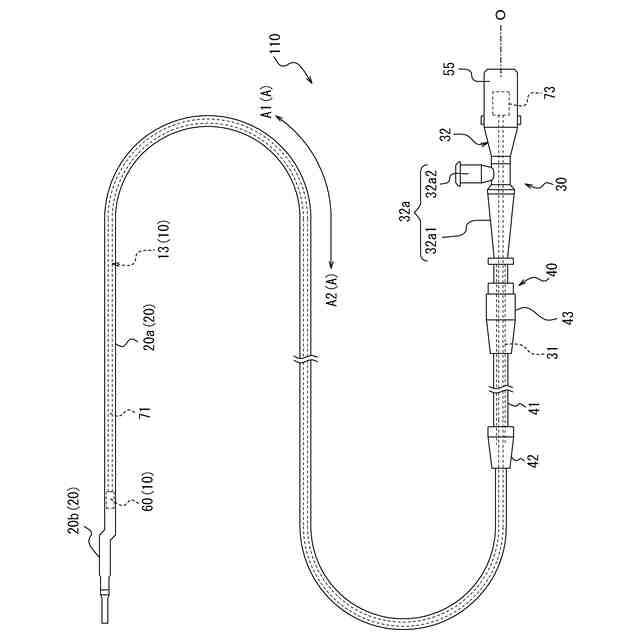
本開示は画像診断用カテーテルに関する。
続きを表示(約 1,900 文字)
【背景技術】
【0002】
従来から、生体内の疾患部位等の診断を行うための画像を取得するために、血管内超音波診断法(IVUS:Intravascular Ultrasound)を利用する画像診断用カテーテルが知られている。特許文献1には、この種の画像診断用カテーテルが開示されている。特許文献1に記載の画像診断用カテーテルは駆動シャフトを備えている。また、特許文献1には、画像診断用カテーテルが接続される外部装置が開示されている。特許文献1に記載の外部装置は、画像診断用カテーテルの駆動シャフトを回転させるためのモータを備えている。
【先行技術文献】
【特許文献】
【0003】
特開2017-51500号公報
【発明の概要】
【発明が解決しようとする課題】
【0004】
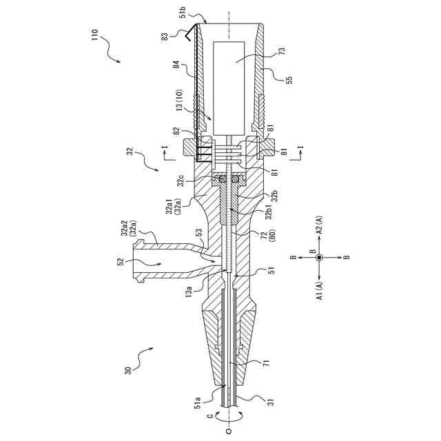
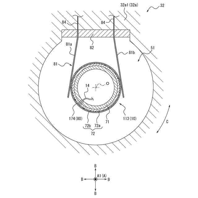
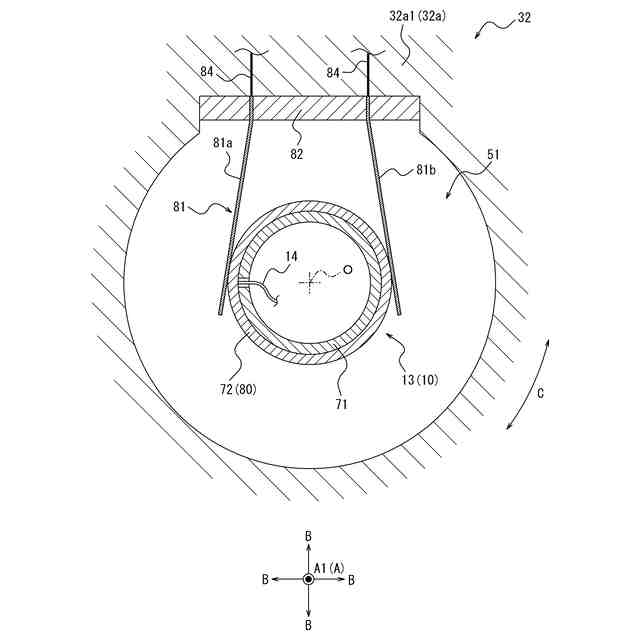
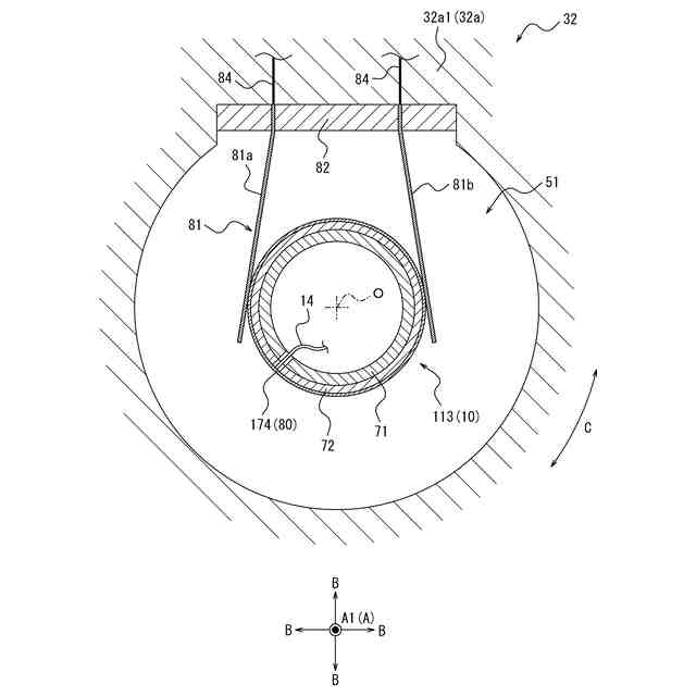
特許文献1に記載の外部装置は、通常、スリップリング・ブラシを構成する導電リング部及び導電ブラシ部を備えている。外部装置が導電リング部及び導電ブラシ部を備えることで、外部装置が、IVUSを利用する画像診断用カテーテルから取得される超音波信号に基づき腔内画像を生成する場合に、回転体としての超音波送受信部と、静止体としての外部装置と、を接続する部位の物理的なねじれを抑制しつつ、両者間の電気的な接続を維持できる。
【0005】
しかしながら、導電リング部及び導電ブラシ部は摺動により摩耗する。導電リング部及び導電ブラシ部が摺動により摩耗すると摩耗粉が発生する。摩耗粉は、超音波信号に基づく腔内画像に画像ノイズを発生させるおそれがある。そのため、繰り返し使用される駆動装置としての外部装置において、導電リング部及び導電ブラシ部を搭載する場合には、長時間の使用に耐え得る耐久性が求められ、耐久性の高い導電リング部及び導電ブラシ部を用いる必要がある。その一方で、導電リング部及び導電ブラシ部を交換可能に、外部装置を構成することも考えられる。この場合、外部装置は、導電リング部及び導電ブラシ部を交換可能な構成とされる必要がある。そのため、外部装置の構成が複雑化し得る。したがって、外部装置が導電リング部及び導電ブラシ部を備えるか否かにかかわらず、外部装置と共に使用可能な画像診断用カテーテルとすることが好ましい。
【0006】
本開示は、導電リング部及び導電ブラシ部を備える画像診断用カテーテルを提供することを目的とする。
【課題を解決するための手段】
【0007】
本開示の第1の態様としての画像診断用カテーテルは、
(1)
超音波送受信部と、
前記超音波送受信部を支持しているハウジングと、
前記超音波送受信部と電気的に接続されている電気信号線と、
前記ハウジングの近位側に接続されているシャフト体と、
前記シャフト体の近位端部を覆い、前記シャフト体を相対的に回動可能に支持するハブ部材と、を備え、
前記シャフト体の前記近位端部は、前記電気信号線と電気的に接続されている導電リング部を備え、
前記ハブ部材は前記導電リング部と接触する導電ブラシ部を備える、画像診断用カテーテル、である。
【0008】
本開示の1つの実施形態としての画像診断用カテーテルは、
(2)
前記シャフト体は、
コイルシャフト部と、
前記ハブ部材に覆われており、前記コイルシャフト部に取り付けられている導電性の接続パイプ部と、を備え、
前記導電リング部は、前記接続パイプ部である、上記(1)に記載の画像診断用カテーテル、である。
【0009】
本開示の1つの実施形態としての画像診断用カテーテルは、
(3)
前記シャフト体は、
コイルシャフト部と、
前記ハブ部材に覆われており、前記コイルシャフト部に取り付けられている接続パイプ部と、
前記接続パイプ部の外面に支持され、前記接続パイプ部の前記外面を構成する層より電気抵抗が小さいリング体と、を備え、
前記導電リング部は、前記リング体である、上記(1)に記載の画像診断用カテーテル、である。
【0010】
本開示の1つの実施形態としての画像診断用カテーテルは、
(4)
前記接続パイプ部の前記外面を構成する前記層は絶縁材料により形成されている、上記(3)に記載の画像診断用カテーテル、である。
(【0011】以降は省略されています)
この特許をJ-PlatPat(特許庁公式サイト)で参照する
関連特許
テルモ株式会社
カテーテル
1か月前
テルモ株式会社
カテーテル
1か月前
テルモ株式会社
カテーテル
1か月前
テルモ株式会社
カテーテル
1か月前
テルモ株式会社
カテーテル
25日前
テルモ株式会社
カテーテル
1か月前
テルモ株式会社
採血管ホルダ
2か月前
テルモ株式会社
持ち上げ装置
12日前
テルモ株式会社
体液流通用ポート
1か月前
テルモ株式会社
ガイドワイヤ操作器具
11日前
テルモ株式会社
画像診断用カテーテル
1か月前
テルモ株式会社
医療用長尺体の製造方法
1か月前
テルモ株式会社
医療用具およびその製造方法
1か月前
テルモ株式会社
動脈瘤治療システムおよび方法
1か月前
テルモ株式会社
血管穿刺装置および血管判定装置
1か月前
テルモ株式会社
カシメ装置及びシャフト製造方法
24日前
テルモ株式会社
身体組成計測装置、および制御方法
1か月前
テルモ株式会社
医療用具包装体および医療用具包装袋
2か月前
テルモ株式会社
血管穿刺デバイス及び血管穿刺システム
1か月前
テルモ株式会社
カテーテルおよびカテーテルの製造方法
1か月前
テルモ株式会社
カテーテルおよびカテーテルの製造方法
1か月前
テルモ株式会社
カテーテルおよびカテーテルの製造方法
1か月前
テルモ株式会社
情報処理方法、情報処理装置及びプログラム
1か月前
テルモ株式会社
情報処理方法、情報処理装置及びプログラム
1か月前
テルモ株式会社
カテーテルデバイス及び回収対象物の回収方法
1か月前
テルモ株式会社
プログラム、情報処理方法、及び情報処理装置
1か月前
テルモ株式会社
情報処理方法、情報処理装置及びコンピュータプログラム
1か月前
テルモ株式会社
カテーテルおよびカテーテルへのマーカー部材の固定方法
10日前
テルモ株式会社
穿刺針及び針組立体
26日前
個人
貼付剤
1か月前
個人
簡易担架
17日前
個人
腋臭防止剤
17日前
個人
短下肢装具
4か月前
個人
足踏み器具
24日前
個人
前腕誘導装置
4か月前
個人
嚥下鍛錬装置
4か月前
続きを見る
他の特許を見る