TOP
|
特許
|
意匠
|
商標
特許ウォッチ
Twitter
他の特許を見る
10個以上の画像は省略されています。
公開番号
2025172241
公報種別
公開特許公報(A)
公開日
2025-11-21
出願番号
2022159116
出願日
2022-09-30
発明の名称
カテーテルおよびカテーテルへのマーカー部材の固定方法
出願人
テルモ株式会社
代理人
個人
,
個人
主分類
A61M
25/098 20060101AFI20251114BHJP(医学または獣医学;衛生学)
要約
【課題】マーカー部材を脱落しないように固定しつつ管体の外径を抑えることのできるカテーテルおよびカテーテルへのマーカー部材の固定方法を提供する。
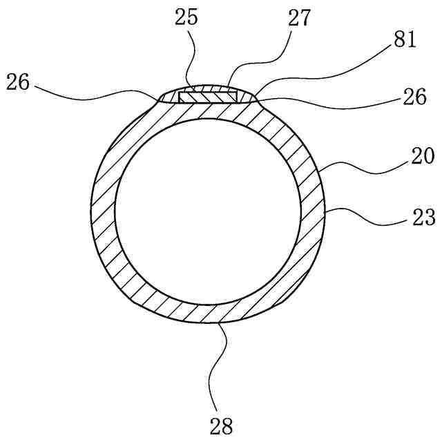
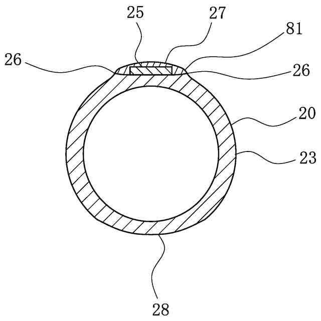
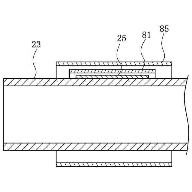
【解決手段】長尺な管体20を有するカテーテル10であって、管体20は、内腔を含む長尺な管状本体23と、管状本体23の先端部に配置され、管状本体23の中心を向く内面25aと該内面25aと反対を向く外面25bとを含むマーカー部材25と、マーカー部材25の外面25bとともに管状本体23の周方向一部のみを覆うように管状本体23の先端部に溶着された被覆部81と、を有し、管状本体23と被覆部81との溶着界面26が、マーカー部材25の周縁を取り囲むように配置されているカテーテル10である。
【選択図】図3
特許請求の範囲
【請求項1】
長尺な管体を有するカテーテルであって、
前記管体は、内腔を含む長尺な管状本体と、前記管状本体の先端部に配置され、前記管状本体の中心を向く内面と前記内面と反対を向く外面とを含むマーカー部材と、前記マーカー部材の前記外面とともに前記管状本体の周方向一部のみを覆うように前記管状本体の前記先端部に溶着された被覆部と、を有し、
前記管状本体と前記被覆部との溶着界面が、前記マーカー部材の周縁を取り囲むように配置されているカテーテル。
続きを表示(約 980 文字)
【請求項2】
前記管状本体の前記先端部は、長軸方向と直交する平面で切断した断面形状が円形状であり、
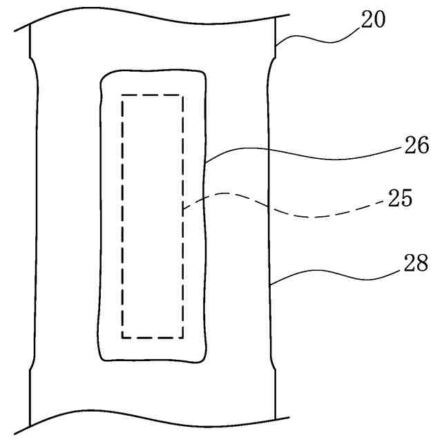
前記管体の外表面は、前記管体の周方向一部に、前記被覆部によって形成され、前記円形状から隆起した隆起部を有し、
前記溶着界面は、前記隆起部の周縁に沿って閉じた線となるように形成されている請求項1に記載のカテーテル。
【請求項3】
前記管体の前記外表面は、前記隆起部の前記周縁のうち、少なくとも前記隆起部の基端側および前記管体の周方向における両側を取り囲むとともに、前記隆起部と前記管状本体の前記中心を挟んで反対側まで延びる括れ部を有し、
前記括れ部は、前記括れ部の基端近傍における前記管体の前記外表面よりも、前記管状本体の前記中心に向かって凹んでいる請求項2に記載のカテーテル。
【請求項4】
前記管状本体は、前記内腔と連通した先端開口を有し、
前記管体は、前記管状本体の前記先端開口を封止する先端キャップを有し、
前記先端キャップは、前記管状本体の内表面と溶着される外周溶着面を有し、
前記マーカー部材の先端は、前記外周溶着面の基端より基端側に位置している請求項1~3のいずれか1項に記載のカテーテル。
【請求項5】
前記管状本体は、前記先端部に他の部分より外径が小さい小径部を有し、
前記マーカー部材と前記溶着界面は前記小径部に配置される請求項1~3のいずれか1項に記載のカテーテル。
【請求項6】
前記管状本体は、前記先端部に他の部分より外径が小さい小径部を有し、
前記マーカー部材は前記小径部に配置され、
前記溶着界面は、少なくとも一部が前記小径部の外部に位置している請求項1~3のいずれか1項に記載のカテーテル。
【請求項7】
内腔を含む長尺な管状本体を有するカテーテルへのマーカー部材の固定方法であって、
前記管状本体の先端部の外表面に前記マーカー部材を配置し、
前記マーカー部材を覆うように前記管状本体の周方向一部のみに被覆部を配置し、
前記被覆部を前記管状本体の外表面に溶着して、前記マーカー部材の周囲を取り囲む溶着界面を形成するカテーテルへのマーカー部材の固定方法。
発明の詳細な説明
【技術分野】
【0001】
本発明は、心臓や血管などの生体の内腔に挿入するカテーテルおよびカテーテルへのマーカー部材の固定方法に関する。
続きを表示(約 1,600 文字)
【背景技術】
【0002】
各種疾患の治療や診察などのために、長尺な管体を有するカテーテルが用いられる。カテーテルは、心臓や血管などの生体の内腔に挿入されて使用される。生体内に挿入されたカテーテルの位置を確認するため、管体の先端部にマーカー部材を設けておき、X線造影下でマーカー部材を視認することが行われている。
【0003】
マーカー部材は、管体から脱落することがないようにする必要がある。マーカー部材を接着剤で管体に接合するだけでは、使用時などに脱落する可能性がある。このため、内層管の外表面に配置された円筒状のマーカー部材の外側に外層管を被せ、内層管と外層管とを熱溶着したカテーテルが知られている(特許文献1参照)。
【先行技術文献】
【特許文献】
【0004】
特許第6308343号公報
【発明の概要】
【発明が解決しようとする課題】
【0005】
マーカー部材を管体に固定するため、成形された管体の外表面にマーカー部材を配置し、さらにそのマーカー部材の外側にチューブ状の部材を配置すると、管体の外径が大きくなる。管体の外径が大きいと、生体の内腔にカテーテルを挿入するために用いられるシースの内表面に管体が引っ掛かりやすくなり、管体を挿入しにくい、あるいは管体を破損するといったリスクを生じる。
【0006】
本発明は、上述した課題を解決するためになされたものであり、マーカー部材を脱落しないように固定しつつ管体の外径を抑えることのできるカテーテルおよびカテーテルへのマーカー部材の固定方法を提供することを目的とする。
【課題を解決するための手段】
【0007】
上記目的を達成する(1)カテーテルは、長尺な管体を有するカテーテルであって、前記管体は、内腔を含む長尺な管状本体と、前記管状本体の先端部に配置され、前記管状本体の中心を向く内面と前記内面と反対を向く外面とを含むマーカー部材と、前記マーカー部材の前記外面とともに前記管状本体の周方向一部のみを覆うように前記管状本体の前記先端部に溶着された被覆部と、を有し、前記管状本体と前記被覆部との溶着界面が、前記マーカー部材の周縁を取り囲むように配置されている。
【0008】
上記目的を達成する(7)カテーテルへのマーカー部材の固定方法は、内腔を含む長尺な管状本体を有するカテーテルへのマーカー部材の固定方法であって、前記管状本体の先端部の外表面に前記マーカー部材を配置し、前記マーカー部材を覆うように前記管状本体の周方向一部のみに被覆部を配置し、前記被覆部を前記管状本体の外表面に溶着して、前記マーカー部材の周囲を取り囲む溶着界面を形成する。
【発明の効果】
【0009】
上記のように構成した(1)カテーテルは、被覆部が管状本体の周方向一部のみを覆っているので、マーカー部材を被覆部で覆いながら、管体の外径の大きさを抑えることができる。カテーテルは、管体の外径が抑えられることで、生体の内腔にカテーテルを挿入するために用いられるシースの内表面に管体が引っ掛かることを抑制でき、管体を円滑に挿入することができる。
【0010】
(2)上記(1)のカテーテルにおいて、前記管状本体の前記先端部は、長軸方向と直交する平面で切断した断面形状が円形状であり、前記管体の外表面は、前記管体の周方向一部に、前記被覆部によって形成され、前記円形状から隆起した隆起部を有し、前記溶着界面は、前記隆起部の周縁に沿って閉じた線となるように形成されていてもよい。これにより、カテーテルは、隆起部が管体の周方向一部にのみ形成されているので、管体の外径の大きさを抑えることができる。また、カテーテルは、溶着界面がマーカー部材の全周を取り囲むので、マーカー部材の管体からの脱落を確実に防止できる。
(【0011】以降は省略されています)
特許ウォッチbot のツイートを見る
この特許をJ-PlatPat(特許庁公式サイト)で参照する
関連特許
テルモ株式会社
カテーテル
1か月前
テルモ株式会社
カテーテル
1か月前
テルモ株式会社
カテーテル
25日前
テルモ株式会社
カテーテル
1か月前
テルモ株式会社
カテーテル
1か月前
テルモ株式会社
カテーテル
1か月前
テルモ株式会社
持ち上げ装置
12日前
テルモ株式会社
医療デバイス
2か月前
テルモ株式会社
採血管ホルダ
2か月前
テルモ株式会社
液体循環システム
2か月前
テルモ株式会社
液体排出システム
2か月前
テルモ株式会社
体液流通用ポート
1か月前
テルモ株式会社
画像診断用カテーテル
1か月前
テルモ株式会社
ガイドワイヤ操作器具
11日前
テルモ株式会社
医療用長尺体の製造方法
1か月前
テルモ株式会社
医療用具およびその製造方法
1か月前
テルモ株式会社
動脈瘤治療システムおよび方法
1か月前
テルモ株式会社
カシメ装置及びシャフト製造方法
24日前
テルモ株式会社
血管穿刺装置および血管判定装置
1か月前
テルモ株式会社
身体組成計測装置、および制御方法
1か月前
テルモ株式会社
医療用具包装体および医療用具包装袋
2か月前
テルモ株式会社
ステントデリバリーシステムの製造方法
2か月前
テルモ株式会社
ステントデリバリーシステムの製造方法
2か月前
テルモ株式会社
血管穿刺デバイス及び血管穿刺システム
1か月前
テルモ株式会社
ステントデリバリーシステムの製造方法
2か月前
テルモ株式会社
ステントデリバリーシステムの製造方法
2か月前
テルモ株式会社
カテーテルおよびカテーテルの製造方法
1か月前
テルモ株式会社
カテーテルおよびカテーテルの製造方法
1か月前
テルモ株式会社
カテーテルおよびカテーテルの製造方法
1か月前
テルモ株式会社
情報処理方法、情報処理装置及びプログラム
1か月前
テルモ株式会社
情報処理方法、情報処理装置及びプログラム
1か月前
テルモ株式会社
プログラム、情報処理方法、及び情報処理装置
1か月前
テルモ株式会社
カテーテルデバイス及び回収対象物の回収方法
1か月前
テルモ株式会社
情報処理装置、コンピュータプログラム及び情報処理方法
2か月前
テルモ株式会社
カテーテルおよびカテーテルへのマーカー部材の固定方法
10日前
テルモ株式会社
情報処理方法、情報処理装置及びコンピュータプログラム
1か月前
続きを見る
他の特許を見る