TOP
|
特許
|
意匠
|
商標
特許ウォッチ
Twitter
他の特許を見る
10個以上の画像は省略されています。
公開番号
2025138387
公報種別
公開特許公報(A)
公開日
2025-09-25
出願番号
2024037442
出願日
2024-03-11
発明の名称
情報処理装置、コンピュータプログラム及び情報処理方法
出願人
テルモ株式会社
代理人
個人
,
個人
主分類
G16H
20/30 20180101AFI20250917BHJP(特定の用途分野に特に適合した情報通信技術)
要約
【課題】対象者の疾患検知のモニタリングの実施とリハビリとを同時に行うことができる情報処理装置、コンピュータプログラム及び情報処理方法を提供する。
【解決手段】情報処理装置は、制御部を備え、制御部は、対象者の疾患検知のモニタリングを実施するセンサ部からセンサデータを取得し、取得したセンサデータに基づいて、対象者の第1時点でのリハビリ動作の状態及び第1時点より後の第2時点でのリハビリ動作の状態を特定する。
【選択図】図1
特許請求の範囲
【請求項1】
制御部を備え、
前記制御部は、
対象者の疾患検知のモニタリングを実施するセンサ部からセンサデータを取得し、
取得したセンサデータに基づいて、前記対象者の第1時点でのリハビリ動作の状態及び前記第1時点より後の第2時点でのリハビリ動作の状態を特定する、
情報処理装置。
続きを表示(約 1,000 文字)
【請求項2】
前記制御部は、
理学療法、作業療法及び言語療法の少なくとも一つに基づくリハビリ動作の状態を特定し、
特定したリハビリ動作の状態を出力する、
請求項1に記載の情報処理装置。
【請求項3】
前記センサデータは、対象者のバイタルデータを含み、
前記制御部は、
取得したバイタルデータの異常を検出した場合、前記対象者のリハビリ動作の中止を通知する、
請求項1に記載の情報処理装置。
【請求項4】
前記制御部は、
対象者によるリハビリ動作に相当する動作を検知した場合又はリハビリの開始の表明を検知した場合、リハビリモードに移行する、
請求項1に記載の情報処理装置。
【請求項5】
前記制御部は、
対象者がリハビリを始めた時間情報、リハビリ用のアプリを起動した時間情報、及びリハビリ用のセンサを立ち上げた時間情報の少なくとも一つを含むリハビリ履歴情報に基づいて、前記対象者にリハビリの開始を促す、
請求項1に記載の情報処理装置。
【請求項6】
前記制御部は、
対象者のリハビリ継続状態をレポート情報として出力する、
請求項1に記載の情報処理装置。
【請求項7】
対象者の前記第1時点でのリハビリ動作の状態は、前記対象者の骨格筋の可動域を含み、
前記制御部は、
前記対象者の前記第1時点での骨格筋の可動域と、前記第2時点でのセンサデータとを重畳表示する、
請求項1に記載の情報処理装置。
【請求項8】
前記制御部は、
前記対象者の前記第1時点での骨格筋の可動域と、前記第2時点での骨格筋の可動域とを重畳表示する、
請求項7に記載の情報処理装置。
【請求項9】
前記制御部は、
対象者の前記第1時点でのリハビリ動作の状態及び前記第2時点でのリハビリ動作の状態に基づいて、前記対象者のリハビリ動作の推移又は前記対象者の神経症状の変化をレポート情報として出力する、
請求項1に記載の情報処理装置。
【請求項10】
前記神経症状の変化は、
前記疾患検知のモニタリングによって検知された対象者の顔麻痺、手足麻痺又は言語麻痺を含む、
請求項1から請求項9のいずれか一項に記載の情報処理装置。
(【請求項11】以降は省略されています)
発明の詳細な説明
【技術分野】
【0001】
本発明は、情報処理装置、コンピュータプログラム及び情報処理方法に関する。
続きを表示(約 4,100 文字)
【背景技術】
【0002】
特許文献1には、見守り対象の対象者宅に設置され、カメラやマイク等を具備するローカル端末機器と、ローカル端末機器と接続可能な見守りシステムとを備え、医師又は看護師が対象者を選択すると、音声と画像の通信が行われ、対象者の画像や音声を確認して異常(疾患)を検知する見守りシステムが開示されている。
【0003】
一方で、脳卒中(脳梗塞や脳出血など)、心疾患(心筋梗塞や心不全など)等の治療後には、身体・心肺機能の維持向上を目的として、リハビリを行う場合がある。リハビリは、治療直後は病院内で実施され、維持期は通所又は在宅で実施される。近年は在宅でリハビリを行う場合の遠隔指導・支援するシステムも登場している。
【先行技術文献】
【特許文献】
【0004】
特開2017-58900号公報
【発明の概要】
【発明が解決しようとする課題】
【0005】
見守りシステムで対象者の異常をモニタリングするためには、カメラ等のセンサが動作し、日常的に適切な生体モニタリングがされている必要があるが、カメラ等によるモニタリングは対象者のプライバシーを守ることができず、対象者がカメラ等をオフにし、日常のモニタリングが機能しない懸念がある。また、在宅で定期的にリハビリを行うよう医療従事者から指導されている対象者が、モチベーションを維持できず、面倒に感じて十分なリハビリを行わない懸念がある。
【0006】
本発明は、斯かる事情に鑑みてなされたものであり、対象者の疾患検知のモニタリングの実施とリハビリとを同時に行うことができる情報処理装置、コンピュータプログラム及び情報処理方法を提供することを目的とする。
【課題を解決するための手段】
【0007】
(1)本発明に係る情報処理装置は、制御部を備え、前記制御部は、対象者の疾患検知のモニタリングを実施するセンサ部からセンサデータを取得し、取得したセンサデータに基づいて、前記対象者の第1時点でのリハビリ動作の状態及び前記第1時点より後の第2時点でのリハビリ動作の状態を特定する。
ここで、本発明の実施形態は、
(2)上記(1)の情報処理装置は、前記制御部は、理学療法、作業療法及び言語療法の少なくとも一つに基づくリハビリ動作の状態を特定し、特定したリハビリ動作の状態を出力する。
(3)上記(1)又は(2)の情報処理装置は、前記センサデータは、対象者のバイタルデータを含み、前記制御部は、取得したバイタルデータの異常を検出した場合、前記対象者のリハビリ動作の中止を通知する。
(4)上記(1)から(3)のいずれか一つの情報処理装置は、前記制御部は、対象者によるリハビリ動作に相当する動作を検知した場合又はリハビリの開始の表明を検知した場合、リハビリモードに移行する。
(5)上記(1)から(4)のいずれか一つの情報処理装置は、前記制御部は、対象者がリハビリを始めた時間情報、リハビリ用のアプリを起動した時間情報、及びリハビリ用のセンサを立ち上げた時間情報の少なくとも一つを含むリハビリ履歴情報に基づいて、前記対象者にリハビリの開始を促す。
(6)上記(1)から(5)のいずれか一つの情報処理装置は、前記制御部は、対象者のリハビリ継続状態をレポート情報として出力する。
(7)上記(1)から(6)のいずれか一つの情報処理装置は、対象者の前記第1時点でのリハビリ動作の状態は、前記対象者の骨格筋の可動域を含み、前記制御部は、前記対象者の前記第1時点での骨格筋の可動域と、前記第2時点でのセンサデータとを重畳表示する。
(8)上記(7)の情報処理装置は、前記制御部は、前記対象者の前記第1時点での骨格筋の可動域と、前記第2時点での骨格筋の可動域とを重畳表示する。
(9)上記(1)から(8)のいずれか一つの情報処理装置は、前記制御部は、対象者の前記第1時点でのリハビリ動作の状態及び前記第2時点でのリハビリ動作の状態に基づいて、前記対象者のリハビリ動作の推移又は前記対象者の神経症状の変化をレポート情報として出力する。
(10)上記(1)から(9)のいずれか一つの情報処理装置は、前記神経症状の変化は、前記疾患検知のモニタリングによって検知された対象者の顔麻痺、手足麻痺又は言語麻痺を含む。
(11)上記(1)から(10)のいずれか一つの情報処理装置は、前記制御部は、対象者の疾患検知のモニタリング稼働状態をレポート情報として出力する。
(12)上記(11)の情報処理装置は、前記モニタリング稼働状態は、前記センサ部の稼動時間帯、稼動オン・オフ回数、及び稼動場所の少なくとも一つを含む。
(13)上記(11)又は(12)の情報処理装置は、前記モニタリング稼働状態は、対象者の疾患検知が可能な時間帯、及び日数の少なくとも一つを含む。
(14)上記(11)から(13)のいずれか一つの情報処理装置は、前記モニタリング稼働状態は、プライバシー開示度を含む。
(15)上記(14)の情報処理装置は、前記プライバシー開示度は、前記センサ部のオン・オフ及び前記センサ部の種類の設定の少なくとも一つを含む。
(16)上記(1)から(15)のいずれか一つの情報処理装置は、前記制御部は、対象者の疾患検知のモニタリング稼働状態に応じて通知する。
(17)上記(1)から(16)のいずれか一つの情報処理装置は、前記制御部は、対象者のリハビリ継続状態、疾患検知のモニタリング結果及びモニタリング稼働状態の少なくとも一方を含むレポート情報を保険会社へ提供し、前記保険会社からの前記レポート情報に基づく前記対象者への報酬の増減を前記対象者へ通知する。
(18)上記(1)から(17)のいずれか一つの情報処理装置は、前記制御部は、対象者のバイタルデータを取得し、体調に関する質問に対する前記対象者の回答を受け付け、取得したバイタルデータ及び受け付けた回答に基づいて、前記対象者のリハビリ結果を生成する。
(19)上記(1)から(18)のいずれか一つの情報処理装置は、前記制御部は、対象者のリハビリ継続状態及び疾患検知のモニタリング結果の少なくとも一方を含むレポート情報を食品関連会社へ提供し、前記食品関連会社が提供する食品広告を表示する。
(20)上記(1)から(19)のいずれか一つの情報処理装置は、前記制御部は、前記センサデータに含まれる対象者の音声データを取得し、取得した音声データに基づいて流暢性評定尺度を推定し、推定した流暢性評定尺度を出力する。
(21)上記(1)から(20)のいずれか一つの情報処理装置は、前記制御部は、前記センサデータに含まれる対象者の音声データを取得し、取得した音声データに基づいて流暢性評定尺度を推定し、推定した流暢性評定尺度に応じた運動機能又は言語機能に関するリハビリプランを表示する。
(22)本発明に係るコンピュータプログラムは、対象者の疾患検知のモニタリングを実施するセンサ部からセンサデータを取得し、取得したセンサデータに基づいて、前記対象者の第1時点でのリハビリ動作の状態及び前記第1時点より後の第2時点でのリハビリ動作の状態を特定する、処理をコンピュータに実行させる。
(23)本発明に係る情報処理方法は、対象者の疾患検知のモニタリングを実施するセンサ部からセンサデータを取得し、取得したセンサデータに基づいて、前記対象者の第1時点でのリハビリ動作の状態及び前記第1時点より後の第2時点でのリハビリ動作の状態を特定する。
【発明の効果】
【0008】
本発明によれば、対象者の疾患検知のモニタリングの実施とリハビリとを単一の情報処理システムで同時に行うことができる。
【図面の簡単な説明】
【0009】
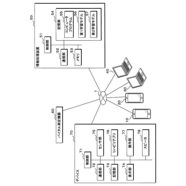
本実施形態の情報処理システムの構成の一例を示す図である。
リハビリ動作の状態の一例を示す図である。
リハビリ動作の状態の比較結果の一例を示す図である。
リハビリ結果の一例を示す図である。
リハビリ継続状態の一例を示す図である。
リハビリ動作の状態の表示例の第1例を示す図である。
リハビリ動作の状態の表示例の第2例を示す図である。
リハビリ履歴情報の第1例を示す図である。
リハビリ履歴情報の第2例を示す図である。
第1学習モデルによる処理の一例を示す図である。
第1学習モデルによって生成されたリハビリ結果の一例を示す図である。
情報処理装置によるモニタリング稼働状態の一例を示す図である。
情報処理装置によるモニタリング結果(神経症状の変化)の一例を示す図である。
第2学習モデルによる流暢性評定尺度の推定処理の一例を示す図である。
流暢性評定尺度の一例を示す図である。
対象者に対する食事内容の是正の提案の一例を示す図である。
対象者に対するリハビリプランの提案の一例を示す図である。
情報処理装置による処理手順の一例を示す図である。
【発明を実施するための形態】
【0010】
以下、本発明の実施の形態について説明する。図1は本実施形態の情報処理システムの構成の一例を示す図である。本実施形態の情報処理システムは、情報処理装置50、バイタル測定機器60、デバイス70などを備える。情報処理装置50、バイタル測定機器60、及びデバイス70は、通信ネットワーク1を介して接続される。通信ネットワーク1には、第1端末装置10、第2端末装置20、第3端末装置30、及び第4端末装置40が接続される。
(【0011】以降は省略されています)
この特許をJ-PlatPat(特許庁公式サイト)で参照する
関連特許
テルモ株式会社
カテーテル
17日前
テルモ株式会社
カテーテル
17日前
テルモ株式会社
カテーテル
17日前
テルモ株式会社
採血管ホルダ
19日前
テルモ株式会社
体液流通用ポート
17日前
テルモ株式会社
液体排出システム
21日前
テルモ株式会社
画像診断用カテーテル
17日前
テルモ株式会社
医療用長尺体の製造方法
10日前
テルモ株式会社
医療用具およびその製造方法
12日前
テルモ株式会社
動脈瘤治療システムおよび方法
10日前
テルモ株式会社
身体組成計測装置、および制御方法
11日前
テルモ株式会社
医療用具包装体および医療用具包装袋
18日前
テルモ株式会社
カテーテルおよびカテーテルの製造方法
17日前
テルモ株式会社
カテーテルおよびカテーテルの製造方法
17日前
テルモ株式会社
カテーテルおよびカテーテルの製造方法
17日前
テルモ株式会社
情報処理方法、情報処理装置及びプログラム
10日前
テルモ株式会社
情報処理方法、情報処理装置及びプログラム
10日前
テルモ株式会社
カテーテルデバイス及び回収対象物の回収方法
17日前
テルモ株式会社
プログラム、情報処理方法、及び情報処理装置
10日前
テルモ株式会社
情報処理方法、情報処理装置及びコンピュータプログラム
10日前
個人
医療のAI化
1か月前
個人
支援システム
5か月前
個人
管理装置
4か月前
個人
対話システム
4か月前
個人
通知ぬいぐるみAIシステム
1か月前
個人
情報システムおよび方法
6か月前
株式会社タカゾノ
薬剤秤量装置
2か月前
株式会社タカゾノ
薬剤秤量装置
2か月前
株式会社タカゾノ
薬剤秤量装置
2か月前
株式会社タカゾノ
薬剤秤量装置
2か月前
株式会社タカゾノ
薬剤秤量装置
4か月前
株式会社タカゾノ
薬剤秤量装置
2か月前
株式会社リコー
投薬管理システム
1か月前
TOTO株式会社
健康管理システム
11日前
個人
診療の管理装置及び診療システム
2か月前
ゾーン株式会社
コンピュータシステム
5か月前
続きを見る
他の特許を見る