TOP
|
特許
|
意匠
|
商標
特許ウォッチ
Twitter
他の特許を見る
公開番号
2025167824
公報種別
公開特許公報(A)
公開日
2025-11-07
出願番号
2024072765
出願日
2024-04-26
発明の名称
カシメ装置及びシャフト製造方法
出願人
テルモ株式会社
代理人
個人
,
個人
,
個人
,
個人
主分類
A61M
25/00 20060101AFI20251030BHJP(医学または獣医学;衛生学)
要約
【課題】カテーテルのシャフト部材に筒体を固定する時の固定位置の精度に優れるカシメ装置及びシャフト製造方法を提供する。
【解決手段】カテーテルのシャフト部材に筒体をカシメ止めするカシメ装置であって、前記筒体を第1カシメ状態にする第1カシメ止めを行うように構成される第1カシメ部材と、位置決め動作を行うように構成される位置決め部材であって、前記位置決め動作は径方向動作と維持動作とを含み、前記径方向動作は前記筒体の後端面が前記位置決め部材に当接する当接状態となるように行われ、前記維持動作は前記当接状態の前記筒体に対して前記シャフト部材が後退することで前記筒体を前記シャフト部材に対して位置決めされる位置決め状態にするように行われる位置決め部材と、前記筒体を前記第1カシメ状態よりも強くカシメ止めされた第2カシメ状態にする第2カシメ止めを行う第2カシメ部材とを有する、カシメ装置。
【選択図】図1
特許請求の範囲
【請求項1】
カテーテルのシャフト部材に筒体をカシメ止めするカシメ装置であって、
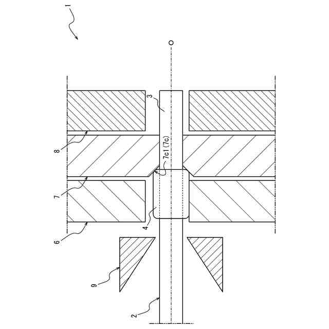
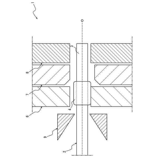
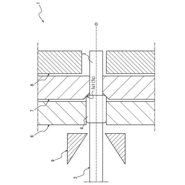
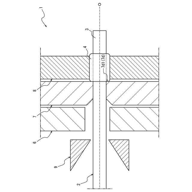
第1カシメ部材であって、前記シャフト部材を通された前記筒体を径方向に挟み込むことで前記筒体を前記シャフト部材にカシメ止めされた第1カシメ状態にする第1カシメ止めを行うように構成される第1カシメ部材と、
位置決め動作を行うように構成される位置決め部材であって、前記位置決め部材は、前記シャフト部材が軸方向に進退する移動経路を確保しながら前記第1カシメ部材の前方に設けられ、前記位置決め動作は、前記位置決め部材が径方向内側に動作する径方向動作と、前記径方向動作後の前記位置決め部材の位置を維持する維持動作とを含み、前記径方向動作は、前記第1カシメ状態の前記筒体の後端面が前記位置決め部材よりも前記前方に通過してから後退する時に前記筒体の前記後端面が前記位置決め部材に当接する当接状態となるように行われ、前記維持動作は、前記当接状態の前記筒体に対して前記シャフト部材が後退することで前記筒体を前記シャフト部材に対して位置決めされる位置決め状態にするように行われる位置決め部材と、
第2カシメ部材であって、前記第2カシメ部材は、前記移動経路を確保しながら前記位置決め部材の前記前方に設けられ、前記位置決め状態及び前記当接状態の前記筒体を前記径方向に挟み込むことで前記筒体を前記第1カシメ状態よりも強くカシメ止めされた第2カシメ状態にする第2カシメ止めを行うように構成される第2カシメ部材とを有する、カシメ装置。
続きを表示(約 930 文字)
【請求項2】
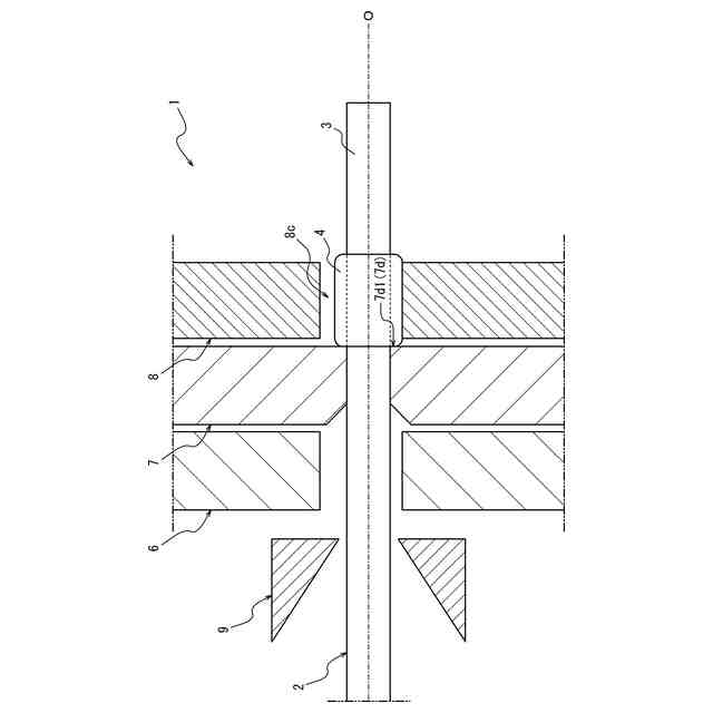
前記位置決め部材は、前記筒体に前記シャフト部材が前進して挿入される時に前記筒体の前端面に前記シャフト部材に対する前記筒体の傾きを規制するように当接する規制部を有する、請求項1に記載のカシメ装置。
【請求項3】
前記規制部は、前記前方に向けて縮径する面取り部によって構成される、請求項2に記載のカシメ装置。
【請求項4】
前記位置決め部材は、前記規制部を前記筒体の全周に接するように設けられる、請求項3に記載のカシメ装置。
【請求項5】
前記位置決め部材は、前記規制部を前記筒体の周方向の少なくとも2箇所に接するように設けられる、請求項3に記載のカシメ装置。
【請求項6】
前記少なくとも2箇所の規制部は、前記筒体の前記周方向に等間隔に接するように設けられる、請求項5に記載のカシメ装置。
【請求項7】
前記第1カシメ部材よりも後方に配置された案内部材であって、前記シャフト部材が前進する際に前記シャフト部材の前端を前記筒体内に向けて案内する案内面を有する案内部材を有する、請求項1に記載のカシメ装置。
【請求項8】
前記案内面は、前記前方に向けて縮径する円錐台状をなす、請求項7に記載のカシメ装置。
【請求項9】
請求項1に記載のカシメ装置を用いて前記カテーテルの前記シャフト部材と前記シャフト部材にカシメ止めされた前記筒体とを有するシャフトを製造するシャフト製造方法であって、
前記第1カシメ部材が前記第1カシメ止めを行う第1カシメ工程と、
前記位置決め部材が前記位置決め動作を行う位置決め工程と、
前記第2カシメ部材が前記第2カシメ止めを行う第2カシメ工程とを有するシャフト製造方法。
【請求項10】
前記第1カシメ工程よりも前に前記シャフト部材が前進して前記筒体に挿入される挿入工程を有し、
前記位置決め部材は、前記挿入工程において前記筒体の前端面に前記シャフト部材に対する前記筒体の傾きを規制するように当接する規制部を有する、請求項9に記載のシャフト製造方法。
発明の詳細な説明
【技術分野】
【0001】
本開示はカシメ装置及びシャフト製造方法に関する。
続きを表示(約 1,300 文字)
【背景技術】
【0002】
カテーテルのシャフト部材に筒体をカシメ止めするカシメ装置が知られている(例えば特許文献1参照)。
【先行技術文献】
【特許文献】
【0003】
米国特許第11027931号明細書
【発明の概要】
【発明が解決しようとする課題】
【0004】
本開示の目的は、カテーテルのシャフト部材に筒体を固定する時の固定位置の精度に優れるカシメ装置及びシャフト製造方法を提供することにある。
【課題を解決するための手段】
【0005】
本開示の一態様は以下のとおりである。
【0006】
[1]
カテーテルのシャフト部材に筒体をカシメ止めするカシメ装置であって、
第1カシメ部材であって、前記シャフト部材を通された前記筒体を径方向に挟み込むことで前記筒体を前記シャフト部材にカシメ止めされた第1カシメ状態にする第1カシメ止めを行うように構成される第1カシメ部材と、
位置決め動作を行うように構成される位置決め部材であって、前記位置決め部材は、前記シャフト部材が軸方向に進退する移動経路を確保しながら前記第1カシメ部材の前方に設けられ、前記位置決め動作は、前記位置決め部材が径方向内側に動作する径方向動作と、前記径方向動作後の前記位置決め部材の位置を維持する維持動作とを含み、前記径方向動作は、前記第1カシメ状態の前記筒体の後端面が前記位置決め部材よりも前記前方に通過してから後退する時に前記筒体の前記後端面が前記位置決め部材に当接する当接状態となるように行われ、前記維持動作は、前記当接状態の前記筒体に対して前記シャフト部材が後退することで前記筒体を前記シャフト部材に対して位置決めされる位置決め状態にするように行われる位置決め部材と、
第2カシメ部材であって、前記第2カシメ部材は、前記移動経路を確保しながら前記位置決め部材の前記前方に設けられ、前記位置決め状態及び前記当接状態の前記筒体を前記径方向に挟み込むことで前記筒体を前記第1カシメ状態よりも強くカシメ止めされた第2カシメ状態にする第2カシメ止めを行うように構成される第2カシメ部材とを有する、カシメ装置。
【0007】
[2]
前記位置決め部材は、前記筒体に前記シャフト部材が前進して挿入される時に前記筒体の前端面に前記シャフト部材に対する前記筒体の傾きを規制するように当接する規制部を有する、[1]に記載のカシメ装置。
【0008】
[3]
前記規制部は、前記前方に向けて縮径する面取り部によって構成される、[2]に記載のカシメ装置。
【0009】
[4]
前記位置決め部材は、前記規制部を前記筒体の全周に接するように設けられる、[3]
に記載のカシメ装置。
【0010】
[5]
前記位置決め部材は、前記規制部を前記筒体の周方向の少なくとも2箇所に接するように設けられる、[3]又は[4]に記載のカシメ装置。
(【0011】以降は省略されています)
この特許をJ-PlatPat(特許庁公式サイト)で参照する
関連特許
テルモ株式会社
カテーテル
2日前
テルモ株式会社
カテーテル
15日前
テルモ株式会社
カテーテル
15日前
テルモ株式会社
カテーテル
1か月前
テルモ株式会社
カテーテル
1か月前
テルモ株式会社
カテーテル
1か月前
テルモ株式会社
医療デバイス
1か月前
テルモ株式会社
採血管ホルダ
1か月前
テルモ株式会社
液体排出システム
1か月前
テルモ株式会社
体液流通用ポート
1か月前
テルモ株式会社
液体循環システム
1か月前
テルモ株式会社
画像診断用カテーテル
1か月前
テルモ株式会社
医療用長尺体の製造方法
29日前
テルモ株式会社
医療用具およびその製造方法
1か月前
テルモ株式会社
動脈瘤治療システムおよび方法
29日前
テルモ株式会社
カシメ装置及びシャフト製造方法
1日前
テルモ株式会社
血管穿刺装置および血管判定装置
8日前
テルモ株式会社
身体組成計測装置、および制御方法
1か月前
テルモ株式会社
医療用具包装体および医療用具包装袋
1か月前
テルモ株式会社
ステントデリバリーシステムの製造方法
1か月前
テルモ株式会社
ステントデリバリーシステムの製造方法
1か月前
テルモ株式会社
ステントデリバリーシステムの製造方法
1か月前
テルモ株式会社
ステントデリバリーシステムの製造方法
1か月前
テルモ株式会社
カテーテルおよびカテーテルの製造方法
1か月前
テルモ株式会社
カテーテルおよびカテーテルの製造方法
1か月前
テルモ株式会社
カテーテルおよびカテーテルの製造方法
1か月前
テルモ株式会社
血管穿刺デバイス及び血管穿刺システム
8日前
テルモ株式会社
情報処理方法、情報処理装置及びプログラム
29日前
テルモ株式会社
情報処理方法、情報処理装置及びプログラム
29日前
テルモ株式会社
カテーテルデバイス及び回収対象物の回収方法
1か月前
テルモ株式会社
プログラム、情報処理方法、及び情報処理装置
29日前
テルモ株式会社
輸液ポンプ及びその制御方法、並びに、プログラム
1か月前
テルモ株式会社
情報処理方法、情報処理装置及びコンピュータプログラム
29日前
テルモ株式会社
情報処理装置、コンピュータプログラム及び情報処理方法
1か月前
テルモ株式会社
コンピュータプログラム、情報処理装置及び情報処理方法
1か月前
テルモ株式会社
薬液投与装置
1か月前
続きを見る
他の特許を見る