TOP
|
特許
|
意匠
|
商標
特許ウォッチ
Twitter
他の特許を見る
10個以上の画像は省略されています。
公開番号
2025164955
公報種別
公開特許公報(A)
公開日
2025-10-31
出願番号
2022153529
出願日
2022-09-27
発明の名称
血管穿刺デバイス及び血管穿刺システム
出願人
テルモ株式会社
代理人
個人
,
個人
,
個人
,
個人
,
個人
,
個人
主分類
A61M
25/06 20060101AFI20251024BHJP(医学または獣医学;衛生学)
要約
【課題】血液流通阻止部の装着部に着脱可能である光源ユニットを備えた血管穿刺デバイスを提供する。
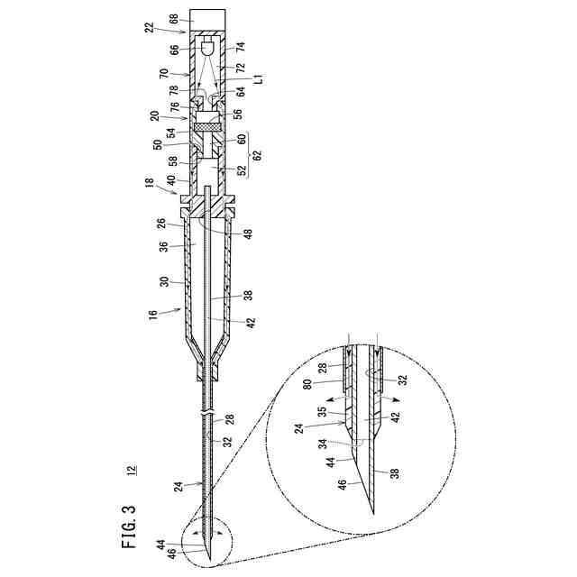
【解決手段】血管穿刺システムの血管穿刺デバイス12は、血液流通阻止部20、光源ユニット22及び光路26を備える。光源部66が発した光L1は、線状部24の先端部から外部に導出される。針ハブ40及び血液流通阻止部の少なくともいずれかには、針体38の先端開口46から流入した血液が導かれるフラッシュバック確認用の血液流入部62が設けられている。血液流通阻止部は、血液流入部内の血液の装着部64への流通が阻止されるように形成されている。
【選択図】図3
特許請求の範囲
【請求項1】
生体部位の血管に穿刺可能な線状部を備え、当該線状部は管状の針体を含み、前記針体の基端部には針ハブが設けられた血管穿刺デバイスであって、
前記針ハブの基端部に設けられた血液流通阻止部と、
光を発する光源部を有し、且つ前記血液流通阻止部の装着部に着脱可能である光源ユニットと、
前記光源部が発した前記光を前記線状部の先端部に導く光路と、を備え、
前記光源部が発した前記光は、前記線状部の前記先端部から外部に導出され、
前記針ハブ及び前記血液流通阻止部の少なくともいずれかには、前記針体の先端開口から流入した血液が導かれるフラッシュバック確認用の血液流入部が設けられ、
前記血液流通阻止部は、前記血液流入部内の前記血液の前記装着部への流通が阻止されるように形成されている、血管穿刺デバイス。
続きを表示(約 840 文字)
【請求項2】
請求項1記載の血管穿刺デバイスであって、
前記光源ユニットが前記装着部に装着された状態で、前記光源部は、前記線状部の先端方向に向かって前記光を発する、血管穿刺デバイス。
【請求項3】
請求項1記載の血管穿刺デバイスであって、
前記光源ユニットは、前記光源部を収容するハウジングを有し、
前記ハウジングは、前記装着部に着脱可能な接続部を有する、血管穿刺デバイス。
【請求項4】
請求項1記載の血管穿刺デバイスであって、
前記血液流通阻止部は、前記針ハブの前記基端部に固定されている、血管穿刺デバイス。
【請求項5】
請求項1記載の血管穿刺デバイスであって、
前記血液流通阻止部は、前記針ハブの前記基端部に着脱可能である、血管穿刺デバイス。
【請求項6】
請求項1記載の血管穿刺デバイスであって、
前記光源部が発した前記光は、前記針体の内腔を介して当該針体の前記先端開口から導出される、血管穿刺デバイス。
【請求項7】
請求項6記載の血管穿刺デバイスであって、
前記針体の内面には、前記光源部が発した前記光が反射する反射部が設けられている、血管穿刺デバイス。
【請求項8】
請求項6記載の血管穿刺デバイスであって、
前記光路は、前記光源部が発した前記光を前記針体の先端部に導くための導光部材を含む、血管穿刺デバイス。
【請求項9】
請求項8記載の血管穿刺デバイスであって、
前記導光部材の先端部は、前記針体の前記内腔に挿入された状態で当該針体の先端部に位置する、血管穿刺デバイス。
【請求項10】
請求項8記載の血管穿刺デバイスであって、
前記導光部材の基端部は、前記血液流通阻止部に支持されている、血管穿刺デバイス。
(【請求項11】以降は省略されています)
発明の詳細な説明
【技術分野】
【0001】
本発明は、血管穿刺デバイス及び血管穿刺システムに関する。
続きを表示(約 1,500 文字)
【背景技術】
【0002】
例えば、特許文献1には、生体部位の血管に穿刺可能な線状部(針体及びカテーテルシャフト)を備えた血管穿刺デバイスが開示されている。血管穿刺デバイスは、針体の基端部に設けられた針ハブと、針ハブの基端部に着脱可能に設けられた光源ユニットとを備える。光源ユニットが針ハブの基端部に装着された状態で、針体の基端部は光源ユニットに接続される。針体の内腔には、血液の光源ユニットへの流入を阻止する閉塞部材が設けられている。光源ユニットの光源部が発した光は、閉塞部材を透過して針体の先端開口から導出する。
【0003】
このような血管穿刺デバイスにおいて、針体の先端開口から導出した光は、血液によって吸収されたり減衰したりするため、針体の血管確保の前後で、生体部位の外側で受光又は視認できる光の強度が変化する。そのため、光源部が発した光に基づいて針体の血管確保を簡単且つ速やかに知ることができる。
【先行技術文献】
【特許文献】
【0004】
国際公開第2022/176880号
【発明の概要】
【発明が解決しようとする課題】
【0005】
ところで、太い血管や皮膚からの距離が近い血管に線状部を穿刺する場合には、光源ユニットが発した光によらなくても、線状部の血管確保を簡単に判断できることもある。上述した特許文献1のように光源ユニットを針ハブに対して着脱可能であれば、状況に応じて光源ユニットを使用するか否かを選択でき便利である。また、比較的高価である光源ユニットを再利用でき、血管穿刺手技を実施するためのデバイスの費用を抑えることができる。
【0006】
一方、上述した特許文献1では、針体の内腔が閉塞部材によって閉塞されている。すなわち、針ハブは、針体の血管確保を確認するための血液流入部(フラッシュバック確認用の血液流入部)を有していない。フラッシュバック確認用の血液流入部を有する針ハブを用いる場合、血液流入部に流入した血液が光源ユニットに触れる可能性があり、血液に触れた光源ユニットは再利用できないという問題がある。
【0007】
本発明は、上述した課題を解決することを目的とする。
【課題を解決するための手段】
【0008】
(1)本発明の一態様は、生体部位の血管に穿刺可能な線状部を備え、当該線状部は管状の針体を含み、前記針体の基端部には針ハブが設けられた血管穿刺デバイスであって、
前記針ハブの基端部に設けられた血液流通阻止部と、光を発する光源部を有し、且つ前記血液流通阻止部の装着部に着脱可能である光源ユニットと、前記光源部が発した前記光を前記線状部の先端部に導く光路と、を備え、前記光源部が発した前記光は、前記線状部の前記先端部から外部に導出され、前記針ハブ及び前記血液流通阻止部の少なくともいずれかには、前記針体の先端開口から流入した血液が導かれるフラッシュバック確認用の血液流入部が設けられ、前記血液流通阻止部は、前記血液流入部内の前記血液の前記装着部への流通が阻止されるように形成されている、血管穿刺デバイスである。
【0009】
(2)項目(1)記載の血管穿刺デバイスであって、前記光源ユニットが前記装着部に装着された状態で、前記光源部は、前記線状部の先端方向に向かって前記光を発する。
【0010】
(3)項目(1)又は(2)に記載の血管穿刺デバイスであって、前記光源ユニットは、前記光源部を収容するハウジングを有し、前記ハウジングは、前記装着部に着脱可能な接続部を有する。
(【0011】以降は省略されています)
特許ウォッチbot のツイートを見る
この特許をJ-PlatPat(特許庁公式サイト)で参照する
関連特許
テルモ株式会社
カテーテル
1か月前
テルモ株式会社
カテーテル
26日前
テルモ株式会社
カテーテル
1か月前
テルモ株式会社
持ち上げ装置
13日前
テルモ株式会社
ガイドワイヤ操作器具
12日前
テルモ株式会社
医療用長尺体の製造方法
1か月前
テルモ株式会社
医療用具およびその製造方法
1か月前
テルモ株式会社
動脈瘤治療システムおよび方法
1か月前
テルモ株式会社
カシメ装置及びシャフト製造方法
25日前
テルモ株式会社
血管穿刺装置および血管判定装置
1か月前
テルモ株式会社
身体組成計測装置、および制御方法
1か月前
テルモ株式会社
カテーテルおよびカテーテルの製造方法
2か月前
テルモ株式会社
血管穿刺デバイス及び血管穿刺システム
1か月前
テルモ株式会社
情報処理方法、情報処理装置及びプログラム
1か月前
テルモ株式会社
情報処理方法、情報処理装置及びプログラム
1か月前
テルモ株式会社
プログラム、情報処理方法、及び情報処理装置
1か月前
テルモ株式会社
情報処理方法、情報処理装置及びコンピュータプログラム
1か月前
テルモ株式会社
カテーテルおよびカテーテルへのマーカー部材の固定方法
11日前
テルモ株式会社
穿刺針及び針組立体
27日前
個人
貼付剤
1か月前
個人
簡易担架
18日前
個人
短下肢装具
4か月前
個人
足踏み器具
25日前
個人
腋臭防止剤
18日前
個人
前腕誘導装置
4か月前
個人
白内障治療法
8か月前
個人
排尿補助器具
1か月前
個人
嚥下鍛錬装置
4か月前
個人
洗井間専家。
8か月前
個人
腰ベルト
1か月前
個人
ホバーアイロン
7か月前
個人
胸骨圧迫補助具
2か月前
個人
ウォート指圧法
1か月前
個人
矯正椅子
6か月前
個人
汚れ防止シート
2か月前
個人
アイマスク装置
3か月前
続きを見る
他の特許を見る