TOP
|
特許
|
意匠
|
商標
特許ウォッチ
Twitter
他の特許を見る
公開番号
2025159452
公報種別
公開特許公報(A)
公開日
2025-10-21
出願番号
2024062006
出願日
2024-04-08
発明の名称
腰椎牽引装置
出願人
ミナト医科学株式会社
代理人
主分類
A61F
5/042 20060101AFI20251014BHJP(医学または獣医学;衛生学)
要約
【課題】利用者の腰椎を牽引する際に、利用者の背中と背凭部の位置関係の変化を抑制し、利用者の脇の痛みを軽減する。
【解決手段】腰椎牽引治療器は、利用者の上半身を支持する背凭れ部と、利用者の脇を支持する脇当部と、利用者の下半身を支持する座部と、利用者の下半身を座部に保持する腰保持手段と、背凭れ部と脇当部と座部を有する臥台と、脇当部を座部と離間する方向に移動させる離間駆動手段と、臥台をチルティングさせる傾動機構部を備え、背凭れ部は、利用者との接触面に高摩擦部を有する。
【選択図】図1
特許請求の範囲
【請求項1】
利用者の上半身を支持する背凭れ部と、前記利用者の脇を支持する脇当部と、前記利用者の下半身を支持する座部と、前記利用者の下半身を前記座部に保持する腰保持手段と、前記背凭れ部と前記脇当部と前記座部を有する臥台と、前記脇当部を前記座部と離間する方向に移動させる離間駆動手段と、前記臥台をチルティングさせる傾動機構部を備え、前記背凭れ部は、前記利用者との接触面に高摩擦部を有する腰椎牽引装置。
続きを表示(約 180 文字)
【請求項2】
前記背凭れ部は、前記高摩擦部を前記背凭れ部の幅方向中央部に有する請求項1に記載の腰椎牽引装置。
【請求項3】
前記高摩擦部は、前記背凭れ部から取り外し可能とする請求項1に記載の腰椎牽引装置。
【請求項4】
前記脇当部は、前記背凭れ部と前記脇当部を連結する連結部を有する請求項1に記載の腰椎牽引装置。
発明の詳細な説明
【技術分野】
【0001】
本発明は、腰椎牽引装置に関するものである。
続きを表示(約 1,300 文字)
【背景技術】
【0002】
腰椎牽引装置に関して、従来いくつかの提案がなされている。例えば、特許文献1には、着座部に座った利用者が、背凭部に背中を当てた状態で、腰保持手段を締めて着座部に臀部を保持し、腰椎を牽引する腰椎牽引装置が記載されている。治療が始まると、脇固定部が利用者の脇下に移動する。その状態で、背凭部と座部を載置する臥台が傾動(リクライニング)し、座席部と背凭部を離間させ牽引力を発生させる牽引機構部が作動することで、利用者の腰椎を牽引している。
【先行技術文献】
【特許文献】
【0003】
特開2010-12249号公報
【発明の概要】
【発明が解決しようとする課題】
【0004】
しかし、特許文献1に記載された腰椎牽引装置は、利用者の脇を支持して腰椎を牽引するものである。そのため、利用者の腰椎を牽引する際に、利用者の背中と背凭部の位置関係が変化すると、牽引力が利用者の脇に加わり、痛みが生じる恐れがある。
【課題を解決するための手段】
【0005】
そこで、本発明の腰椎牽引装置は、利用者の上半身を支持する背凭れ部と、利用者の脇を支持する脇当部と、利用者の下半身を支持する座部と、利用者の下半身を座部に保持する腰保持手段と、背凭れ部と脇当部と座部を有する臥台と、脇当部を座部と離間する方向に移動させる離間駆動手段と、臥台をチルティングさせる傾動機構部を備え、背凭れ部は、利用者との接触面に高摩擦部を有するものである。
【発明の効果】
【0006】
本発明の腰椎牽引装置によれば、利用者の腰椎を牽引する際に、利用者の背中と背凭部の位置関係が変化することを抑制し、利用者の脇の痛みを軽減することができる。
【図面の簡単な説明】
【0007】
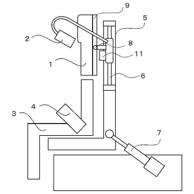
本発明の腰椎牽引装置の斜視図
本発明の腰椎牽引装置の側面図の概略図
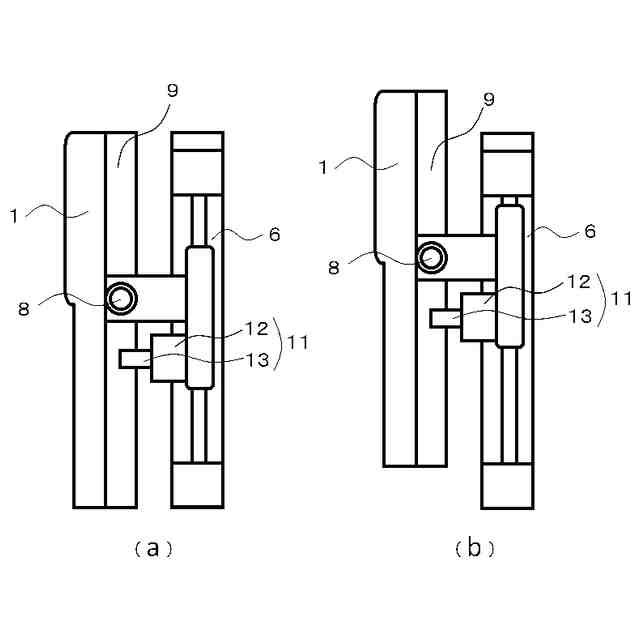
本発明の背凭れ部のスライド構造を示す図
本発明の高摩擦部の変形例を示す図
本発明の連結部を示す図
本発明の連結部の変形例を示す図
【発明を実施するための形態】
【0008】
以下、図面を用いて本発明の実施形態について説明する。以下に示す実施形態中で示した各種特徴事項は、互いに組み合わせることができる。
【0009】
本発明の腰椎牽引装置は、背凭れ部1と、脇当部2と、座部3と、腰保持手段4と、臥台5と、離間駆動手段6と、傾動機構部7を備えている。
【0010】
背凭れ部1は、利用者の上半身、主に頭部と背中部を支持する。背凭れ部1は、臥台5上をスライド可能に設けられている。例えば、図2、図3に示すように、背凭れ部1にレール9が設けられ、臥台5上のローラー8がレール9内を回転することで、背凭れ部1は臥台5上をスライド可能となる。また、背凭れ部1に、ローラー8を複数配置し、臥台5上のコの字状のレール9をスライド可能に設けても良い。
(【0011】以降は省略されています)
この特許をJ-PlatPat(特許庁公式サイト)で参照する
関連特許
個人
貼付剤
1か月前
個人
簡易担架
14日前
個人
足踏み器具
21日前
個人
腋臭防止剤
14日前
個人
排尿補助器具
1か月前
個人
アイマスク装置
3か月前
個人
腰ベルト
1か月前
個人
胸骨圧迫補助具
2か月前
個人
ウォート指圧法
1か月前
個人
汚れ防止シート
2か月前
個人
湿布連続貼り機。
3か月前
個人
美容セット
23日前
個人
排尿排便補助器具
16日前
個人
エア誘導コルセット
2か月前
個人
性行為補助具
3か月前
個人
治療用酸化防御装置
2か月前
株式会社コーセー
化粧料
1か月前
個人
精力増強キット
2か月前
個人
こむら返り応急治し具
21日前
個人
手指運動ツール
3か月前
株式会社ニデック
眼科装置
1か月前
株式会社ダリヤ
毛髪化粧料
2か月前
株式会社ニデック
眼科装置
2か月前
株式会社ニデック
眼科装置
2か月前
オンキヨー株式会社
電子機器
29日前
株式会社ノエビア
皮膚外用剤
2か月前
オンキヨー株式会社
電子機器
29日前
株式会社東洋新薬
皮膚外用剤
1か月前
株式会社東洋新薬
皮膚外用剤
1か月前
花王株式会社
放散装置
2か月前
株式会社ノエビア
毛髪化粧料
1か月前
大正製薬株式会社
外用組成物
3か月前
個人
おりもの吸収通気シート
3か月前
株式会社コーセー
油性化粧料
3か月前
株式会社メルコ
毛髪質改善剤
2か月前
株式会社いうら
入浴用車椅子
21日前
続きを見る
他の特許を見る