TOP
|
特許
|
意匠
|
商標
特許ウォッチ
Twitter
他の特許を見る
10個以上の画像は省略されています。
公開番号
2025132641
公報種別
公開特許公報(A)
公開日
2025-09-10
出願番号
2024030334
出願日
2024-02-29
発明の名称
放散装置
出願人
花王株式会社
代理人
個人
主分類
A61L
9/12 20060101AFI20250903BHJP(医学または獣医学;衛生学)
要約
【課題】放散装置の使用環境に応じて、効率的に揮発性成分を放散することが可能な位置に容易に設置できる放散装置を提供する。
【解決手段】放散装置400は、揮発性成分を放散する放散装置400であって、揮発性成分を含有する内容物150を収容する収容具100と、収容具100を保持する筐体200と、筐体200に設けられていて、当該放散装置400を対象面510(例えば、浴室600の壁面620や天井面630)に吸着させる磁石300と、を備えている。
【選択図】図7
特許請求の範囲
【請求項1】
揮発性成分を放散する放散装置であって、
前記揮発性成分を含有する内容物を収容する収容具と、
前記収容具を保持する筐体と、
前記筐体に設けられていて、当該放散装置を対象面に吸着させる磁石と、
を備える放散装置。
続きを表示(約 1,100 文字)
【請求項2】
前記筐体は、前記対象面と対向する対向面を有し、
前記対向面において、最も前記対象面側に迫り出している部位が、前記磁石の磁力で前記対象面に対して吸着する吸着部を構成しており、
前記対向面において、前記吸着部が前記対象面に吸着した状態で前記対象面から離間する部位に、前記揮発性成分を放散させる放散孔が形成されている請求項1に記載の放散装置。
【請求項3】
前記収容具を前記筐体に対して着脱可能である請求項1又は2に記載の放散装置。
【請求項4】
前記収容具は、開口を有し内部に前記内容物を収容する本体ケースと、前記本体ケースの前記開口を閉塞しているとともに前記揮発性成分を外部に透過可能なフィルムと、を有し、
前記筐体は、前記フィルムを前記本体ケース側に向けて押圧する突起部を有する請求項1又は2に記載の放散装置。
【請求項5】
前記内容物は液体であり、
前記筐体は、外部から前記収容具を視認させる覗き窓を有し、
前記収容具において前記覗き窓を介して外部から視認可能な部位は、当該収容具内の前記液体を透視可能に構成されているとともに、当該収容具における前記覗き窓の脇に位置する部位と比べて、単位面積あたりの液容量が大きい請求項1又は2に記載の放散装置。
【請求項6】
前記筐体は、相互に組み付けられて前記収容具を収容及び保持する第1部材及び第2部材を有し、
当該放散装置は、前記第1部材の底部である第1底部と前記第2部材の底部である第2底部とが接地する状態で、前記磁石の磁力を要さずに自立可能であり、
前記第1底部と前記第2底部とが相互に離間しており、前記第1底部と前記第2底部との隙間が、前記筐体内に入り込んだ水を下方に排出させる水抜き孔を構成している請求項1又は2に記載の放散装置。
【請求項7】
揮発性成分を放散する放散装置であって、
前記揮発性成分を含有する内容物を収容する収容具を保持する筐体と、
前記筐体に設けられていて、当該放散装置を対象面に吸着させる磁石と、
を備える放散装置。
【請求項8】
揮発性成分を放散する放散装置の筐体に保持される収容具であって、
当該収容具は、前記揮発性成分を含有する液体である内容物を、前記揮発性成分を放散可能に収容しており、
当該収容具の幅方向における一部分は、当該収容具内の前記液体を透視可能に構成されているとともに、当該収容具の前記幅方向における他の部位と比べて、単位面積あたりの液容量が大きい収容具。
発明の詳細な説明
【技術分野】
【0001】
本発明は、放散装置及び収容具に関する。
続きを表示(約 2,200 文字)
【背景技術】
【0002】
揮発性成分を放散する放散装置としては、例えば、特許文献1に記載された放散装置(同文献には、装置と記載)が挙げられる。
特許文献1に記載の放散装置は、揮発性成分を含有する内容物を収容する収容具(同文献には、容器と記載)と、収容具を保持する筐体(同文献には、ハウジングと記載)と、を備え、当該放散装置は水平な載置面上に自立可能に設置される。
【先行技術文献】
【特許文献】
【0003】
特開2022―188115号公報
【発明の概要】
【発明が解決しようとする課題】
【0004】
しかしながら、特許文献1の放散装置では、水平な載置面以外の対象面に対して放散装置を設置することが困難であり、放散装置の使用環境に応じて、効率的に揮発性成分を放散することが可能な位置に設置する観点で、改善の余地がある。
【0005】
本発明は、上記課題に鑑みてなされたものであり、放散装置の使用環境に応じて、効率的に揮発性成分を放散することが可能な位置に容易に設置できる放散装置に関する。
【課題を解決するための手段】
【0006】
本発明は、揮発性成分を放散する放散装置であって、前記揮発性成分を含有する内容物を収容する収容具と、前記収容具を保持する筐体と、前記筐体に設けられていて、当該放散装置を対象面に吸着させる磁石と、を備える放散装置に関する。
【0007】
また、本発明は、揮発性成分を放散する放散装置であって、前記揮発性成分を含有する内容物を収容する収容具を保持する筐体と、前記筐体に設けられていて、当該放散装置を対象面に吸着させる磁石と、を備える放散装置に関する。
【0008】
また、本発明は、揮発性成分を放散する放散装置の筐体に保持される収容具であって、当該収容具は、前記揮発性成分を含有する液体である内容物を、前記揮発性成分を放散可能に収容しており、当該収容具の幅方向における一部分は、当該収容具内の前記液体を透視可能に構成されているとともに、当該収容具の前記幅方向における他の部位と比べて、単位面積あたりの液容量が大きい収容具に関する。
【発明の効果】
【0009】
本発明によれば、放散装置の使用環境に応じて、効率的に揮発性成分を放散することが可能な位置に放散装置を容易に設置できる。
【図面の簡単な説明】
【0010】
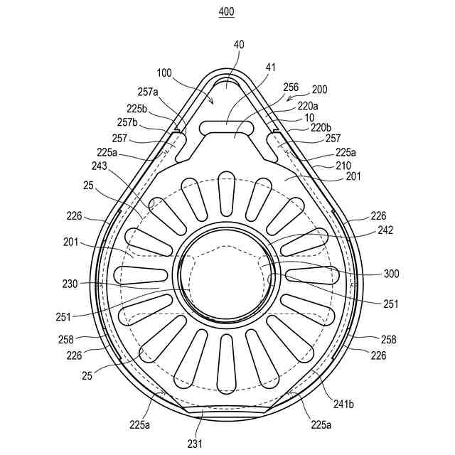
第1実施形態に係る放散装置の斜視図であり、筐体の正面側から視た図である。
第1実施形態に係る放散装置の斜視図であり、筐体の背面側から視た図である。
第1実施形態に係る放散装置の分解斜視図である。
第1実施形態に係る放散装置の正面図である。
第1実施形態に係る放散装置の背面図である。
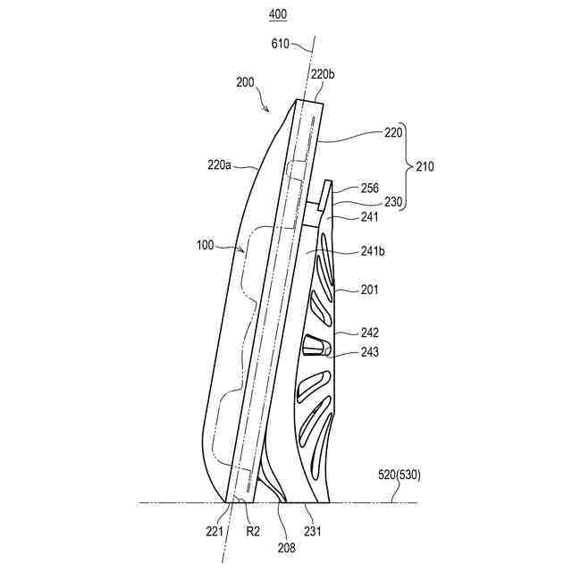
第1実施形態に係る放散装置の側面図であり、筐体が磁石の磁力で対象面に対して吸着している状態を示す。
図4に示すA-A線に沿った断面図であり、筐体が磁石の磁力で対象面に対して吸着している状態を示す。
第1実施形態に係る放散装置の側面図であり、筐体が載置面上に自立している状態を示す。
第1実施形態に係る収容具の正面図である。
図10(a)及び図10(b)は第1実施形態に係る収容具を示す図であり、このうち図10(a)は側面図であり、図10(b)は図9に示すA-A線に沿った断面図である。
図11(a)及び図11(b)は第1実施形態における筐体の第1部材を示す図であり、このうち図11(a)は正面図であり、図11(b)は第1部材に対して収容具が収容されている状態を示す。
図12(a)及び図12(b)は第1実施形態における筐体の第2部材を示す図であり、このうち図12(a)は背面図であり、図12(b)は背面図である。
第1実施形態に係る放散装置の使用方法の一例を示す模式図である。
図14(a)及び14(b)は第1実施形態に係る放散装置の正面図であり、このうち図14(a)は収容具に収容された内容物の液量が十分である状態を示し、図14(b)は図14(a)に示す状態から内容物の液量が減少した状態を示す。
第2実施形態に係る放散装置の斜視図であり、筐体の背面側から視た図である。
第2実施形態に係る放散装置の分解斜視図である。
第2実施形態に係る放散装置の背面図である。
第2実施形態に係る放散装置の側面図であり、筐体が磁石の磁力で対象面に対して吸着している状態を示す。
図17に示すA-A線に沿った断面図であり、筐体が磁石の磁力で対象面に対して吸着している状態を示す。
図20(a)及び図20(b)は、第2実施形態に係る放散装置がスタンド部材に支持されて自立している状態を示す図であり、このうち図20(a)は側面図、図20(b)は正面図である。
図21(a)及び図21(b)は第2実施形態における筐体の第2部材を示す図であり、このうち図21(a)は正面図であり、図21(b)は背面図である。
第2実施形態の変形例に係る放散装置の背面図である。
第2実施形態の変形例に係る放散装置の側面図である。
【発明を実施するための形態】
(【0011】以降は省略されています)
この特許をJ-PlatPat(特許庁公式サイト)で参照する
関連特許
花王株式会社
容器
2か月前
花王株式会社
組立体
17日前
花王株式会社
固形食品
19日前
花王株式会社
消臭方法
2か月前
花王株式会社
固形食品
3日前
花王株式会社
放散装置
26日前
花王株式会社
製函装置
7日前
花王株式会社
注出部材
2か月前
花王株式会社
注出部材
2か月前
花王株式会社
樹脂組成物
2か月前
花王株式会社
吸収性物品
19日前
花王株式会社
皮膚化粧料
2か月前
花王株式会社
皮膚外用剤
2か月前
花王株式会社
吸収性物品
1か月前
花王株式会社
油性化粧料
7日前
花王株式会社
化粧料容器
2か月前
花王株式会社
吸収性物品
1か月前
花王株式会社
吸収性物品
1か月前
花王株式会社
パウチ容器
1か月前
花王株式会社
固形入浴剤
1か月前
花王株式会社
容器組立体
1か月前
花王株式会社
シート材容器
1か月前
花王株式会社
口腔用組成物
19日前
花王株式会社
口腔用組成物
19日前
花王株式会社
吸収性パッド
1か月前
花王株式会社
剥離剤組成物
25日前
花王株式会社
吸収性パッド
26日前
花王株式会社
鋳型用組成物
1か月前
花王株式会社
消臭剤組成物
2か月前
花王株式会社
水解性シート
2か月前
花王株式会社
エッチング液
2か月前
花王株式会社
防錆剤組成物
26日前
花王株式会社
防錆剤組成物
26日前
花王株式会社
酵素センサー
1か月前
花王株式会社
抗菌剤組成物
2か月前
花王株式会社
口腔用組成物
3日前
続きを見る
他の特許を見る