TOP
|
特許
|
意匠
|
商標
特許ウォッチ
Twitter
他の特許を見る
10個以上の画像は省略されています。
公開番号
2025167313
公報種別
公開特許公報(A)
公開日
2025-11-07
出願番号
2024071807
出願日
2024-04-25
発明の名称
入浴用車椅子
出願人
株式会社いうら
代理人
主分類
A61H
33/00 20060101AFI20251030BHJP(医学または獣医学;衛生学)
要約
【課題】キャリー部とシート部からなる分離式入浴キャリーにおいて、シート部をチルト及びリクライニング可能に構成するとともにチルト、リクライニングした際の重心の変化の影響を受けずに安定してキャリー部から吊り上げ可能とすることである。
【解決手段】前輪と後輪を備えて床面を走行可能なキャリー部と、該キャリー部と適宜分離と結合可能なシート部からなる分離式入浴キャリーにおいて、井桁状に形成したシートベース部の上部に利用者が着座可能な座部及びバックサポート部がチルト機構及びリクライニング機構を介して枢着されることで該座部と該バックサポート部をチルト姿勢とリクライニング姿勢に適宜姿勢変更可能にしつつ、該シートベース部の後端及び該座部の前端に該シート部をリフト等で吊り上げて分離させるための吊りベルトを取着したことで、該シート部の姿勢変更に合わせて該吊りベルトの長さ調整不要とした。
【選択図】図12
特許請求の範囲
【請求項1】
前輪と後輪を備えて床面を走行可能なキャリー部と、該キャリー部と適宜分離と結合可能なシート部からなる分離式入浴キャリーにおいて、井桁状に形成したシートベース部の上部に利用者が着座可能な座部及びバックサポート部がチルト機構及びリクライニング機構を介して枢着されることで該座部と該バックサポート部をチルト姿勢とリクライニング姿勢に適宜姿勢変更可能にしつつ、該シートベース部の後端及び該座部の前端に該シート部をリフト等で吊り上げて分離させるための吊りベルトを取着したことで、該シート部の姿勢変更に合わせて該吊りベルトの長さ調整不要としたことを特徴とする分離式入浴キャリー。
続きを表示(約 1,000 文字)
【請求項2】
前記シートベース部のサイドパイプの後端を床面に対して後方上部に向けて傾斜するように屈曲形成することで、前記吊りベルトの後ベルトを前記シート部に着座した利用者の腰より高い位置に取着した状態で該シート部を吊り上げるように構成したことを特徴とする請求項1に記載の分離式入浴キャリー。
【請求項3】
前記サイドパイプの下方に停止バーを取着したことを特徴とする請求項2に記載の分離式入浴キャリー。
【請求項4】
前記シートベース部の後方に固着されるベース支点プレートに前記座部の後端及び前記バックサポート部の前端を回動自在に軸着するとともに、該座部の下方に回動自在に軸着したチルトカムプレートの切欠部内を転動自在にチルトローラーが転動可能に該シートベース部の前方に軸着し、且つ、該チルトカムプレートに取着したチルトケーブルを作動させて該チルトカムプレートが側面視において後方回動することで該切欠部の任意の係合溝に該チルトローラーが係脱することでチルト姿勢に姿勢変更可能な前記チルト部と、該座部の下方に回動自在に軸着したリクライニングカムプレートの切欠部及び解除プレートの開口孔を転動可能に該バックサポート部の先方に固着したバック支点プレートの先端にリクライニングピンを取着し、且つ、該解除プレートに取着したリクライニングケーブルを作動させて該解除プレートを側面視において後方回動させようとした際、該リクライニングカムプレートの該切欠部の輪郭に比べて該解除プレートの該開口孔の輪郭を大きく構成することで、該解除プレートは回動するが該バックサポート部から受ける負荷により該切欠部と該リクライニングピンは摩擦抵抗が発生して回動不可能な状態を一時的に作り出し、該バックサポート部を前方に回動させることで該バックサポート部から受ける負荷を取り除き該切欠部と該リクライニングピンの摩擦抵抗を排除することで該リクライニングカムプレートと該解除プレートの間に張設した弾性体の付勢力によって該リクライニングカムプレートが該解除プレートの回動方向に追従し該係合溝から該リクライニングピンが脱出可能とすることで任意の該係合溝に該リクライニングピンが係脱してリクライニング姿勢に姿勢変更可能な前記リクライニング部を構成したことを特徴とする請求項1から請求項3のいずれかに記載の分離式入浴キャリー。
発明の詳細な説明
【技術分野】
【0001】
本発明は、主に自力歩行が困難な利用者(以下、利用者)の入浴介助に使用する入浴用車椅子に関するものである。
続きを表示(約 3,900 文字)
【背景技術】
【0002】
病気や加齢による体力の衰えなどで入浴介助が必要な利用者のためにストレッチャーや車椅子などの入浴機器が種々提案されている。
例えば、ストレッチャーはボトムの上に仰臥位姿勢あるいはギャッジアップして長座位姿勢を取ることで浴室に搬送し、シャワー浴などの入浴介助ができる。
しかしながら、ストレッチャーは仰臥位あるいは長座位姿勢の利用者を支えるために一定以上ボトム長を大きくする必要があり、広い浴室などでしか使用できないデメリットがある。
【0003】
そこで、狭い浴室でも使用できるように入浴用車椅子が提案される。
一般的に、入浴用車椅子は利用者が座位姿勢で使用するため居室から浴室への往来や、浴室内での取り回しがし易く浴室環境の影響を受けにくく使い勝手の良いものとされる。
また、本出願人はキャリー部とシート部が分離してシート部に着座した利用者をリフトで吊り上げてキャリー部と浴槽とを往来できるようにした分離式入浴キャリーを提案している。(特開2008-253426)
この分離式入浴キャリーを使用することで、搬送時の取り回しがし易いだけでなく、シャワー浴や浴槽への入浴ができ介助の幅を広げることができる。
また、キャリー部とシート部との連結が容易で介助作業が煩雑にならないため、介助者の心身の負担が少ないものである。
【0004】
ところが、座位がとれない利用者は着座姿勢が安定しないため分離式キャリーを使用できない点が懸念される。
この問題を解決するために、背受が後傾してリクライニング姿勢になるものや、座面自体が後傾するチルト姿勢になるものなどが種々提案されている。
しかしながら、非特許文献1で示すようにリクライニング姿勢やチルト姿勢への姿勢変更に手間がかかったり、ベルトの掛け直しが必要である。
【先行技術文献】
【特許文献】
【0005】
特開2008-253426号
株式会社モリトー安楽キャリーBタイプ取扱説明書(https://www.moritoh.co.jp/download/)
【発明の概要】
【発明が解決しようとする課題】
【0006】
本発明が解決しようとする課題は、キャリー部とシート部からなる分離式入浴キャリーにおいて、シート部をチルト及びリクライニング可能に構成するとともにチルト、リクライニングした際の重心の変化の影響を受けずに安定してキャリー部から吊り上げ可能とすることである。
【課題を解決するための手段】
【0007】
本実施例の分離式入浴車椅子は、前輪と後輪を備えて床面を走行可能なキャリー部と、該キャリー部と適宜分離と結合可能なシート部からなる分離式入浴キャリーにおいて、井桁状に形成したシートベース部の上部に利用者が着座可能な座部及びバックサポート部がチルト機構及びリクライニング機構を介して枢着されることで該座部と該バックサポート部をチルト姿勢とリクライニング姿勢に適宜姿勢変更可能にしつつ、該シートベース部の後端及び該座部の前端に該シート部をリフト等で吊り上げて分離させるための吊りベルトを取着したことで、該シート部の姿勢変更に合わせて該吊りベルトの長さ調整不要としたことを特徴とした。
そして、前記シートベース部のサイドパイプの後端が床面に対して上方に傾斜するように屈曲形成することで、前記吊りベルトの後ベルトが前記シート部に着座した利用者の腰より高い位置に取着した状態で該シート部を吊り上げるように構成したことを特徴とした。
また、前記サイドパイプの下方に停止バーを取着したことを特徴とした。
さらに、前記シートベース部の後方に固着されるベース支点プレートに前記座部の後端及び前記バックサポート部の前端を回動自在に軸着するとともに、該座部の下方に回動自在に軸着したチルトカムプレートの切欠部内を転動自在にチルトローラーが転動可能に該シートベース部の前方に軸着し、且つ、該チルトカムプレートに取着したチルトケーブルを作動させて該チルトカムプレートが側面視において後方回動することで該切欠部の任意の係合溝に該チルトローラーが係脱することでチルト姿勢に姿勢変更可能な前記チルト部と、該座部の下方に回動自在に軸着したリクライニングカムプレートの切欠部及び解除プレートの開口孔を転動可能に該バックサポート部の先方に固着したバック支点プレートの先端にリクライニングピンを取着し、且つ、該解除プレートに取着したリクライニングケーブルを作動させて該解除プレートを側面視において後方回動させようとした際、該リクライニングカムプレートの該切欠部の輪郭に比べて該解除プレートの該開口孔の輪郭を大きく構成することで、該解除プレートは回動するが該バックサポート部から受ける負荷により該切欠部と該リクライニングピンは摩擦抵抗が発生して回動不可能な状態を一時的に作り出し、該バックサポート部を前方に回動させることで該バックサポート部から受ける負荷を取り除き該切欠部と該リクライニングピンの摩擦抵抗を排除することで該リクライニングカムプレートと該解除プレートの間に張設した弾性体の付勢力によって該リクライニングカムプレートが該解除プレートの回動方向に追従し該係合溝から該リクライニングピンが脱出可能とすることで任意の該係合溝に該リクライニングピンが係脱してリクライニング姿勢に姿勢変更可能な前記リクライニング部を構成したことを特徴とした。
【発明の効果】
【0008】
本発明の分離式入浴車椅子は、吊りベルトをシートベース部に取着することで、リフトで吊り上げて使用する際に、座部とバックサポート部の座角が変わらずに後傾するチルト姿勢及び座部に対してバックサポート部が後傾して座角が変わるリクライニング姿勢、チルトとリクライニングを組み合わせたチルトリクライニング姿勢に姿勢変更してシート部の重心位置が変更されても、吊り姿勢が安定するためそれぞれの姿勢ごとに吊りベルトの長さを調整する必要が無く、介助の作業性を向上できる。
そして、吊りベルトの後ベルトをシート部に着座した利用者の腰より高い位置でシートベース部に取着することで、バックサポート部のチルトあるいはリクライニングに合わせて利用者の重心が後方に傾いても、シート部全体の重心バランスが取れた状態となりシート部が後転する心配がなく安全に使用することができる。換言すると、吊り上げ姿勢が端座位に限定されないため利用者の身体状況に合わせてシート部の姿勢を変更しても従来の分離式入浴キャリーのように使用できる。
また、シート部を浴槽内あるいは浴室の床面に直接降ろして使用する際、浮力や利用者の体動によってシート部が後方に倒れようとしても、停止バーによって後方転倒を防ぐことができ安全に使用することができる。
さらに、チルト姿勢に姿勢変更する場合はチルトレバーを把持した状態でそのままバックサポート部を後傾させることでチルト姿勢に姿勢変更し、リクライニング姿勢に姿勢変更する場合はリクライニングレバーを把持しつつ、一度バックサポート部を前傾させてからバックサポート部を後傾させないとリクライニング姿勢に姿勢変更できないように姿勢変更手段を構成したことで、一度バックサポート部を前傾させて介助者がしっかりとバックサポート部を把持した状態にすることで勢いよくバックサポート部が倒れないように支える姿勢を取ることができ安全に操作できる。
【図面の簡単な説明】
【0009】
分離式入浴キャリー1の全体斜視図
分離式入浴キャリー1の全体側面図
キャリー部2の斜視説明図
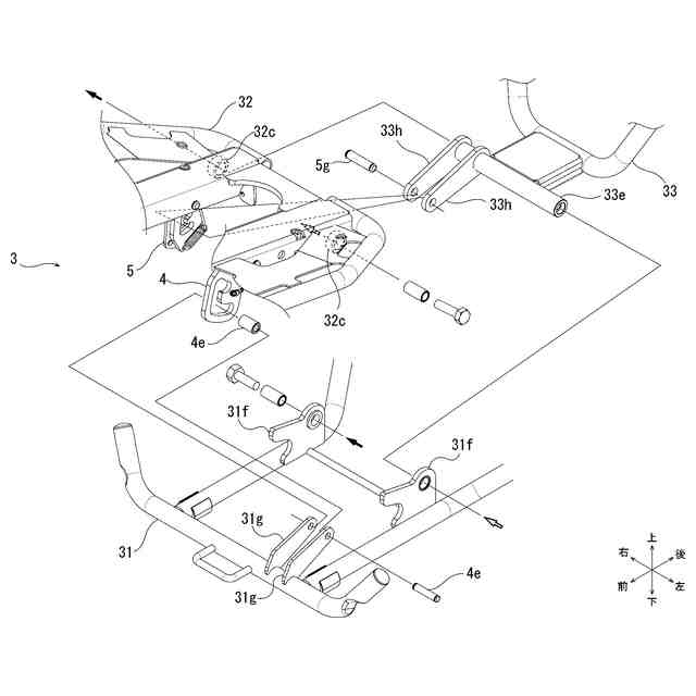
シート部3のシートベース部31の斜視説明図
シート部3の座部32のチルト機構4とリクライニング機構5の組立説明図
シート部3のバックサポート部33の斜視説明図
シート部3のシートベース部31と座部32とバックサポート部33の組立説明図
シート部3が通常姿勢からチルト姿勢に姿勢変更時のチルト機構4の作用説明図
シート部3が通常姿勢からリクライニング姿勢に姿勢変更時のリクライニング機構5の作用説明図
吊りベルト7の取付説明図
リフトLでシート部3が吊られた状態を示す説明図
シート部3が通常姿勢及びチルト姿勢、リクライニング姿勢時のリフトLでの吊り姿勢を示す説明図
シート部3を浴槽内に降ろした状態を示す説明図
【発明を実施するための形態】
【実施例】
【0010】
本発明の分離式入浴キャリー1について図面を基に説明する。
本発明にかかる分離式入浴キャリー1は、主にキャリー部2と、シート部3と、チルト機構4と、リクライニング機構5と、ロック部6、吊りベルト7で構成される。
なお、利用者が分離式入浴キャリー1に着座した姿勢を基に、前後左右、上下を設定して図中に図示する。
また、各構成部材を説明するために後述するレッグネット21cやシートマット32d、バックネット33gなど利用者の身体を支える部材と、ボルト、ナットなどの締結部材に関して図示や説明を一部省略している。
(【0011】以降は省略されています)
この特許をJ-PlatPat(特許庁公式サイト)で参照する
関連特許
株式会社いうら
入浴用車椅子
21日前
個人
貼付剤
1か月前
個人
簡易担架
14日前
個人
短下肢装具
4か月前
個人
足踏み器具
21日前
個人
腋臭防止剤
14日前
個人
洗井間専家。
8か月前
個人
嚥下鍛錬装置
4か月前
個人
排尿補助器具
1か月前
個人
前腕誘導装置
4か月前
個人
アイマスク装置
3か月前
個人
歯の修復用材料
5か月前
個人
ウォート指圧法
1か月前
個人
汚れ防止シート
2か月前
個人
矯正椅子
6か月前
個人
バッグ式オムツ
5か月前
個人
腰ベルト
1か月前
個人
胸骨圧迫補助具
2か月前
個人
ホバーアイロン
7か月前
個人
歯の保護用シール
6か月前
個人
哺乳瓶冷まし容器
4か月前
個人
排尿排便補助器具
16日前
個人
シャンプー
7か月前
三生医薬株式会社
錠剤
8か月前
個人
美容セット
23日前
個人
湿布連続貼り機。
3か月前
個人
陣痛緩和具
4か月前
個人
エア誘導コルセット
2か月前
個人
服薬支援装置
8か月前
株式会社八光
剥離吸引管
5か月前
個人
治療用酸化防御装置
2か月前
株式会社大野
骨壷
4か月前
個人
性行為補助具
3か月前
株式会社コーセー
化粧料
1か月前
株式会社ニデック
眼科装置
1か月前
株式会社ニデック
眼科装置
2か月前
続きを見る
他の特許を見る