TOP
|
特許
|
意匠
|
商標
特許ウォッチ
Twitter
他の特許を見る
公開番号
2025158548
公報種別
公開特許公報(A)
公開日
2025-10-17
出願番号
2024061199
出願日
2024-04-05
発明の名称
血流脈波検出器
出願人
株式会社アドバンス
代理人
主分類
A61B
5/02 20060101AFI20251009BHJP(医学または獣医学;衛生学)
要約
【課題】指先等の生体で、血流脈波を、調整可能な押圧力で計測可能とする。
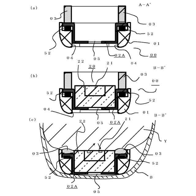
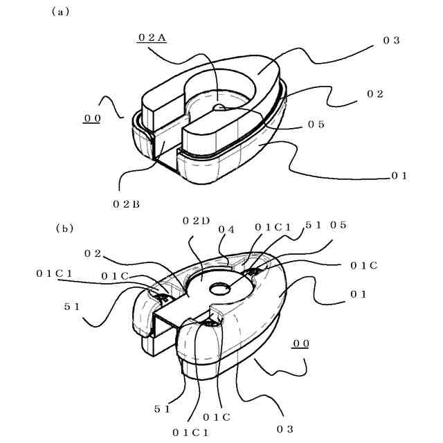
【解決手段】発光体及び受光体を有する脈波検出用センサーを備えたセンサープローブと、下部を生体当接部方向として開放され、少なくとも中心部に、上下に貫通した貫通孔を有すると共に、貫通孔側面は、上下に比較的幅のある指示用面04が形成されたカバー部材01、前記カバー部材の下部開放面にセンサープローブのセンサー形成面以外の面が収容可能で、センサープローブの厚みよりも小さい高さを有する凹部であって、前記貫通孔内を上下に移動可能な形状を有するセンサープローブ収容部材02、前記カバー部材と、前記センサープローブ収容部材は、弾力性部材を介して前記カバー部材の貫通孔と、前記センサープローブ収容部材の凹部とが上下に移動可能な状態で結合させたセンサーアダプター00を備える。
【選択図】図1
特許請求の範囲
【請求項1】
発光体及び受光体を有する脈波検出用センサーを備えたセンサープローブと、下部を生体当接部方向として開放され、少なくとも中心部に、上下に貫通した貫通孔を有すると共に、貫通孔側面は、上下に比較的幅のある指示用面が形成されたカバー部材、前記カバー部材の下部開放面にセンサープローブのセンサー形成面以外の面が収容可能で、前記貫通孔内を上下に移動可能な形状を有するセンサープローブ収容部材、
前記カバー部材と、前記センサープローブ収容部材は、弾力性部材を介して前記カバー部材の貫通孔に対し、前記センサープローブ収容部材の凹部底面が上下に移動可能な状態で結合させたセンサーアダプターを備えた脈波検出器。
続きを表示(約 590 文字)
【請求項2】
前記センサープローブは、一面に発光部と受光部が一体的に配置されており、且つ厚みを有する形状であって、当該構成物は、前記センサープローブ収容部の凹部に嵌合可能な形状と大きさを有する請求項1に記載の脈波検出器。
【請求項3】
前記センサープローブ収容部における生体との接触面には、弾力性と変形性を備えた緩衝性部材を有する脈波検出器。
【請求項4】
前記センサープローブの発光部と受光部の組み合わせは、LED及びLED用受光半導体の組み合わせ、又はレーザー光半導体、レーザー光受光半導体の組み合わせ、又はレーザー光照射面及びレーザー光受光面の組み合わせで形成される請求項2に記載の脈波検出器。
【請求項5】
前記凹部には、貫通孔が形成されている請求項1に記載の脈波検出器。
【請求項6】
前記センサープローブ収容部における生体との接触面には、指を挿入し、前記センサープローブのセンサー面に指先が接触可能な挿入用筒状体が形成されている請求項1に記載の脈波検出器。
【請求項7】
前記センサユニット収容部材の凹部の外側底面の縁部が、カバー部材の指示用面上を指示する請求項1に記載の脈波検出器。
【請求項8】
前記カバー部材が、指先形状を有する請求項1に記載の脈波検出器。
発明の詳細な説明
【技術分野】
【0001】
本発明は、脈波検出器に関するものである。
続きを表示(約 2,000 文字)
【背景技術】
【0002】
指先、耳朶などの末梢血流を計測する際、一般的に使用される脈波検出用センサーは、その装着部分が、洗濯ばさみのような加圧タイプで、外れない程度の挟持力をもって装着されるものがあり、特開2007-244600号では、指先を押し当てるセンサ表面を含む部位を指先方向へ押圧する押圧部材と、指先の接触状態を安定化させるための安定化手段を備えた脈波検出器が示されている。
【0003】
特開2009-66042号公報には、内部にLEDと脈波センサをそなえた指挿入部を備え、指挿入部は、本体部とシャフトで回動可能に形成されており、
指先を本体部のセンサ部分に押しつける際、指の姿勢に応じて、指挿入部が回動することで押しつけやすい構成が記載されている。
【0004】
特開2009-201895号公報は、指を押しつけるセンサ部に荷重センサを形成し、荷重センサの出力値に応じて、指先の押圧力を調整可能としている。
指先に対する脈波センサは、押しつけるタイプと、指先に装着するタイプがあり、使用目的により、使い分けされるが、血液透析等、長時間血流脈波を測定する場合などは、指先に装着されるタイプが患者に負担がない点で好ましい。
【0005】
特開2013-31534号公報には、手首に巻き付けて使用する脈波センサであって、巻き付ける力により着色範囲が変動するインジケータがセンサ端部に形成されており、インジケータの着色面積により手首に当接されるセンサが手首表面に対し、均一に接触しているか判断できる構成が記載されている。
【0006】
特開2013-31534号公報には、うで時計型の脈波計測器であって、手首を平面状に押圧して脈波検出を行う為に腕に装着する際、バンドと本体を取り付ける部分に介在するかん部材が復元可能に移動することで、本体に隠れていたかん部材が見え、かん部材が見える量で、本体の中央下部のセンサが垂直に押圧状態で装着されているかが、判定されるが、本体の両側の部位でインジケータを表示しているため、その両側での着色面積のバランスを取るために均一な締め付けが必要になるなどの煩雑さが伴う。
【先行技術文献】
【特許文献】
【0007】
特開2007-244600号公報
特開2009-66042号公報
特開2009-201895号公報
特開2013-31534号公報
【非特許文献】
【0008】
日夏俊ら,基節部における脈波計測を利用した指先接触力推定,生体医工学,55(3):115-124,2017
【発明の概要】
【発明が解決しようとする課題】
【0009】
血流脈波の検出は、上記の様に脈波の検出により心拍数を計測することが主な目的であるが、血流脈波には、末梢血管抵抗等、血圧を知る上で有用な脈波立ち上がり時間(アップストロークタイム)や、脈波伝播時間(PTT)の終点部(脈波立ち上がる時点)の情報を持ち、血圧情報を知る為に有益な部位を有するが、これらの情報を知る為の脈波検出器には、正確に脈波を検出するための装着仕様が必要である。
特に指先は、日夏俊ら,基節部における脈波計測を利用した指先接触力推定,生体医工学,55(3):115-124,2017 にも記載されているように、動脈に弾性があり、収縮性もあることから、押圧により、血液の即刻の流出が妨げられる状態となるほど外圧に敏感な部位である。
従って、アップストロークタイム等の血流情報は、血管を押す力により、動脈硬化をおこした状態と誤認するほどの影響を受ける場合もあることから、センサ装着時の圧力を容易に調整可能な構成が希求される。
【課題を解決するための手段】
【0010】
上記に鑑み本発明は、発光体及び受光体を有する脈波検出用センサーを備えたセンサープローブと、下部を生体当接部方向として開放され、少なくとも中心部に、上下に貫通した貫通孔を有すると共に、貫通孔側面は、上下に比較的幅のある指示用面が形成されたカバー部材、前記カバー部材の下部開放面にセンサープローブのセンサー形成面以外の面が収容可能で、前記貫通孔内を上下に移動可能な形状を有するセンサープローブ収容部材、
前記カバー部材と、前記センサープローブ収容部材は、弾力性部材を介して前記カバー部材の貫通孔に対し、前記センサープローブ収容部材の凹部底面が上下に移動可能な状態で結合させたセンサーアダプターの組み合わせ構成により、センサーアダプターにセンサープローブを収容した状態で、皮膚に当接し固定する際、当接する際の押圧力が調整できることから血管の状態を変形させることなく血流脈波の検出が可能となる。
(【0011】以降は省略されています)
この特許をJ-PlatPat(特許庁公式サイト)で参照する
関連特許
株式会社アドバンス
血流脈波検出器
5日前
個人
短下肢装具
3か月前
個人
嚥下鍛錬装置
3か月前
個人
排尿補助器具
8日前
個人
洗井間専家。
6か月前
個人
前腕誘導装置
3か月前
個人
ウォート指圧法
6日前
個人
アイマスク装置
1か月前
個人
バッグ式オムツ
4か月前
個人
歯の修復用材料
4か月前
個人
胸骨圧迫補助具
1か月前
個人
矯正椅子
4か月前
個人
汚れ防止シート
23日前
個人
ホバーアイロン
6か月前
個人
湿布連続貼り機。
2か月前
個人
陣痛緩和具
3か月前
三生医薬株式会社
錠剤
7か月前
個人
シャンプー
6か月前
個人
哺乳瓶冷まし容器
3か月前
個人
歯の保護用シール
4か月前
株式会社八光
剥離吸引管
4か月前
個人
性行為補助具
2か月前
個人
治療用酸化防御装置
1か月前
個人
服薬支援装置
7か月前
株式会社大野
骨壷
3か月前
株式会社コーセー
化粧料
5日前
個人
エア誘導コルセット
1か月前
株式会社松風
口腔用組成物
3か月前
株式会社ニデック
眼科装置
12日前
株式会社ニデック
眼科装置
1か月前
株式会社ニデック
眼科装置
1か月前
個人
形見の製造方法
4か月前
株式会社ダリヤ
毛髪化粧料
1か月前
株式会社ニデック
眼科装置
4か月前
株式会社GSユアサ
歩行器
5か月前
株式会社ニデック
検眼装置
3か月前
続きを見る
他の特許を見る