TOP
|
特許
|
意匠
|
商標
特許ウォッチ
Twitter
他の特許を見る
10個以上の画像は省略されています。
公開番号
2025153818
公報種別
公開特許公報(A)
公開日
2025-10-10
出願番号
2024056471
出願日
2024-03-29
発明の名称
蒸気滅菌器
出願人
株式会社タカゾノ
代理人
個人
主分類
A61L
2/07 20060101AFI20251002BHJP(医学または獣医学;衛生学)
要約
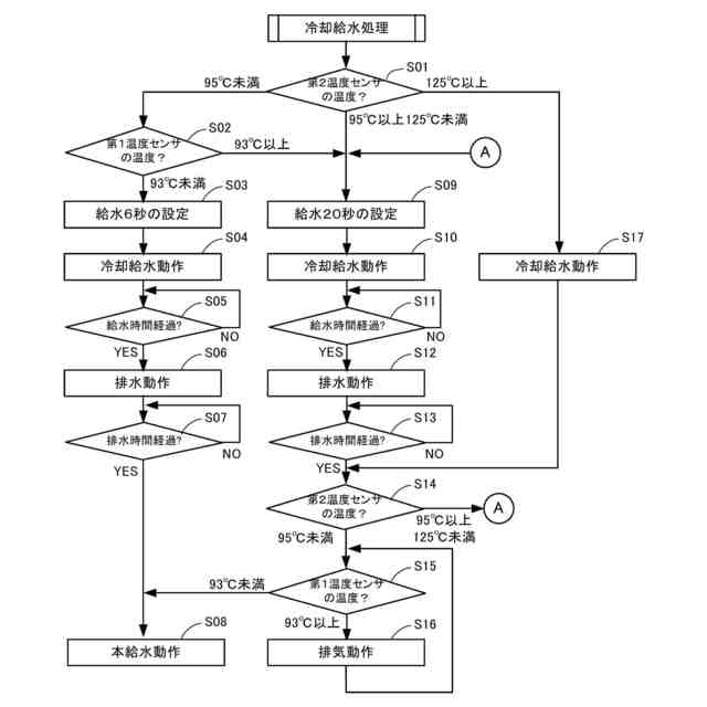
【課題】滅菌処理完了後、効率的にチャンバ内を冷却することができる蒸気滅菌器及びその制御方法を提供する。
【解決手段】本発明に係る蒸気滅菌器は、被滅菌物を収容するチャンバと、前記チャンバ内に液体を供給する給液機構と、前記チャンバ内に供給された液体を加熱するヒータと、前記ヒータ又は前記チャンバ内の温度を検出する温度センサと、前記給液機構及び前記ヒータの動作を制御する制御部と、を備え、前記制御部は、前記給液機構を作動させて前記チャンバ内に滅菌に必要な量の前記液体を供給させる本給液工程を実行する前において、前記温度センサにより検出された検出温度が第1の閾値未満である場合に、第1の時間だけ前記給液機構に前記液体を供給させる第1給液工程を実行し、前記検出温度が前記第1の閾値以上である場合に、前記第1の時間よりも長い第2の時間だけ前記給液機構に前記液体を供給させる第2給液工程を実行する。
【選択図】図14
特許請求の範囲
【請求項1】
被滅菌物を収容するチャンバと、
前記チャンバ内に液体を供給する給液機構と、
前記チャンバ内に供給された液体を加熱するヒータと、
前記ヒータ又は前記チャンバ内の温度を検出する温度センサと、
前記給液機構及び前記ヒータの動作を制御する制御部と
を備え、
前記制御部は、
前記給液機構を作動させて前記チャンバ内に滅菌に必要な量の前記液体を供給させる本給液工程を実行する前において、
前記温度センサにより検出された検出温度が第1の閾値未満である場合に、第1の時間だけ前記給液機構に前記液体を供給させる第1給液工程を実行し、
前記検出温度が前記第1の閾値以上である場合に、前記第1の時間よりも長い第2の時間だけ前記給液機構に前記液体を供給させる第2給液工程を実行する、
蒸気滅菌器。
続きを表示(約 1,300 文字)
【請求項2】
前記第1の閾値は、前記液体の沸点よりも低い、
請求項1に記載の蒸気滅菌器。
【請求項3】
前記チャンバは、前記液体を外部に排出するための排出経路に接続されており、
前記制御部は、前記排出経路の開閉動作を制御し、
前記制御部は、前記排出経路を開放した状態で前記第1給液工程又は前記第2給液工程を実行する、
請求項1または2に記載の蒸気滅菌器。
【請求項4】
前記制御部は、前記排出経路を閉鎖した状態で前記本給液工程を実行する、
請求項3に記載の蒸気滅菌器。
【請求項5】
前記制御部は、
前記給液機構を作動させて前記本給液工程を実行する前において、
前記検出温度が前記第1の閾値よりも高い第2の閾値以上である場合に、前記検出温度が第2の閾値未満になるまで前記給液機構に前記液体を供給させる第3給液工程を実行し、
前記検出温度が前記第2の閾値未満となった場合に、前記第2給液工程を実行する、
請求項1または2に記載の蒸気滅菌器。
【請求項6】
前記チャンバは、前記液体を外部に排出するための排出経路に接続されており、
前記制御部は、前記排出経路の開閉動作を制御し、
前記制御部は、前記排出経路を開放した状態で前記第3給液工程を実行する、
請求項5に記載の蒸気滅菌器。
【請求項7】
前記第2の閾値は、前記給液機構が前記チャンバ内に供給する前記液体が逆流することなく、前記給液機構が前記液体を前記チャンバ内に供給可能な温度である、
請求項5または6に記載の蒸気滅菌器。
【請求項8】
前記制御部は、前記第1給液工程又は前記第2給液工程の実行後、前記排出経路を介して前記チャンバ内から前記液体を排出させる排液工程を実行し、前記排液工程の後、前記本給液工程を実行する、
請求項1又は2に記載の蒸気滅菌器。
【請求項9】
前記温度センサは、前記チャンバ内の温度を検出し、
前記制御部は、前記温度センサにより検出された検出温度が所定の温度未満である場合に前記本給液工程を実行する、
請求項8に記載の蒸気滅菌器。
【請求項10】
被滅菌物を収容するチャンバと、
前記チャンバ内に液体を供給する給液機構と、
前記チャンバ内に供給された液体を加熱するヒータと、
前記ヒータ又は前記チャンバ内の温度を検出する温度センサと、
前記給液機構及び前記ヒータの動作を制御する制御部と
を備え、
前記制御部は、
前記給液機構を作動させて前記チャンバ内に滅菌に必要な量の前記液体を供給させる本給液工程を実行する前において、
前記温度センサにより検出された検出温度が所定の閾値未満である場合に、前記給液機構に前記液体を供給させる給液工程を実行せず、前記検出温度が前記所定の閾値以上である場合に、前記給液機構に前記液体を供給させる給液工程を実行する、
蒸気滅菌器。
(【請求項11】以降は省略されています)
発明の詳細な説明
【技術分野】
【0001】
本発明は、蒸気滅菌器、及び蒸気滅菌器の制御方法に関する。
続きを表示(約 1,600 文字)
【背景技術】
【0002】
特許文献1には、医療用機材等の被滅菌物を収納可能なチャンバと、チャンバ内に供給された液体を加熱するヒータとを備える蒸気滅菌器が開示されている。この蒸気滅菌器は、ヒータの加熱により発生した液体の過熱蒸気でチャンバ内を充満させ、チャンバ内を100℃以上の滅菌温度とすることで被滅菌物を滅菌する。
【先行技術文献】
【特許文献】
【0003】
特開2012-040183号公報
【発明の概要】
【発明が解決しようとする課題】
【0004】
上述したような蒸気滅菌器では、滅菌処理を行った後、しばらくはヒータが高温状態となる。このため、1回の滅菌処理が完了した後、続けて滅菌処理を行うべくチャンバ内に液体を供給すると、供給された液体が急激に蒸気化し、チャンバ内の圧力が急上昇する。結果、滅菌処理に必要な液体をチャンバ内に供給することが困難となってしまう。その一方で、ヒータの温度が十分に下がるのを待つようにすると、1回当たりの滅菌処理に要する時間が長くなり、滅菌処理の効率が低下してしまう。特許文献1に開示される蒸気滅菌器は、このような問題に対処すべく、チャンバ内に液体を供給するとき、チャンバ内から液体及び蒸気を排出可能な状態とするように制御される。この制御により、チャンバ内で蒸気が発生してもチャンバ内の圧力が上昇せず、チャンバ内に新たな液体を供給することが可能となり、ヒータをより速やかに冷却することができる。
【0005】
しかしながら、特許文献1の蒸気滅菌器では、ヒータを含むチャンバ内が十分に冷却されるまで、チャンバ内への液体の供給とチャンバへの液体の供給を停止した状態でのチャンバからの液体の排出が繰り返し行われる。このため、チャンバ内が十分に冷却されるまでチャンバ内への液体の供給とチャンバからの液体の排出を繰り返し行うことを要することになり、連続滅菌処理の効率が低下する場合もあると考えられる。
【0006】
本発明は、上記課題を解決するためになされたものであり、滅菌処理完了後、効率的にチャンバ内を冷却することができる蒸気滅菌器及びその制御方法を提供することを目的とする。
【課題を解決するための手段】
【0007】
項1.被滅菌物を収容するチャンバと、
前記チャンバ内に液体を供給する給液機構と、
前記チャンバ内に供給された液体を加熱するヒータと、
前記ヒータ又は前記チャンバ内の温度を検出する温度センサと、
前記給液機構及び前記ヒータの動作を制御する制御部と
を備え、
前記制御部は、
前記給液機構を作動させて前記チャンバ内に滅菌に必要な量の前記液体を供給させる本給液工程を実行する前において、
前記温度センサにより検出された検出温度が第1の閾値未満である場合に、第1の時間だけ前記給液機構に前記液体を供給させる第1給液工程を実行し、
前記検出温度が前記第1の閾値以上である場合に、前記第1の時間よりも長い第2の時間だけ前記給液機構に前記液体を供給させる第2給液工程を実行する、
蒸気滅菌器。
【0008】
項2.前記第1の閾値は、前記液体の沸点よりも低い、
項1に記載の蒸気滅菌器。
【0009】
項3.前記チャンバは、前記液体を外部に排出するための排出経路に接続されており、
前記制御部は、前記排出経路の開閉動作を制御し、
前記制御部は、前記排出経路を開放した状態で前記第1給液工程又は前記第2給液工程を実行する、
項1または2に記載の蒸気滅菌器。
【0010】
項4.前記制御部は、前記排出経路を閉鎖した状態で前記本給液工程を実行する、
項3に記載の蒸気滅菌器。
(【0011】以降は省略されています)
この特許をJ-PlatPat(特許庁公式サイト)で参照する
関連特許
株式会社タカゾノ
蒸気滅菌器
27日前
株式会社タカゾノ
蒸気滅菌器
27日前
株式会社タカゾノ
蒸気滅菌器
27日前
株式会社タカゾノ
薬剤秤量装置
7日前
株式会社タカゾノ
ヒートシール装置および包装装置
2か月前
株式会社タカゾノ
滅菌器、滅菌の予約方法、及び滅菌の予約プログラム
27日前
株式会社タカゾノ
薬剤包装装置
13日前
株式会社タカゾノ
薬剤供給装置
20日前
株式会社タカゾノ
薬剤供給システム
13日前
株式会社タカゾノ
巻回体の製造方法、および巻回物
1か月前
個人
貼付剤
10日前
個人
健康器具
8か月前
個人
鼾防止用具
8か月前
個人
短下肢装具
3か月前
個人
白内障治療法
7か月前
個人
嚥下鍛錬装置
4か月前
個人
前腕誘導装置
3か月前
個人
洗井間専家。
7か月前
個人
脈波測定方法
8か月前
個人
マッサージ機
9か月前
個人
脈波測定方法
8か月前
個人
排尿補助器具
23日前
個人
歯の修復用材料
4か月前
個人
ホバーアイロン
7か月前
個人
バッグ式オムツ
4か月前
個人
胸骨圧迫補助具
2か月前
個人
矯正椅子
5か月前
個人
汚れ防止シート
1か月前
個人
腰ベルト
13日前
個人
アイマスク装置
2か月前
個人
ウォート指圧法
21日前
個人
湿布連続貼り機。
2か月前
個人
口内洗浄具
8か月前
個人
陣痛緩和具
4か月前
三生医薬株式会社
錠剤
7か月前
個人
シャンプー
6か月前
続きを見る
他の特許を見る