TOP
|
特許
|
意匠
|
商標
特許ウォッチ
Twitter
他の特許を見る
公開番号
2025161909
公報種別
公開特許公報(A)
公開日
2025-10-24
出願番号
2025137084,2024128831
出願日
2025-08-20,2020-07-15
発明の名称
薬剤包装装置
出願人
株式会社タカゾノ
代理人
弁理士法人深見特許事務所
主分類
A61J
3/00 20060101AFI20251017BHJP(医学または獣医学;衛生学)
要約
【課題】薬剤経路の清掃と薬剤の包装とのタイミングを適正化する。
【解決手段】薬剤包装装置は、薬剤を収容する薬剤容器から薬剤を供給する供給部と、供給部から供給された薬剤が通過する薬剤経路と、薬剤経路を通過した薬剤を包装する包装部と、供給部および包装部を制御する制御部とを備えている。制御部は、薬剤の包装後に薬剤経路の清掃が必要であるか否かを表す判定フラグを薬剤情報に関連付けて記憶する記憶部を有している。薬剤容器は、清掃材をさらに収容する。制御部は、包装後に薬剤経路の清掃が必要な薬剤が調剤データに含まれると、調剤データに従った包装が終了した後、次回の調剤データに含まれる薬剤の薬剤経路への供給を待機し、薬剤容器から薬剤経路に清掃材を供給する。
【選択図】図7
特許請求の範囲
【請求項1】
薬剤を収容する薬剤容器から前記薬剤を供給する供給部と、
前記供給部から供給された前記薬剤が通過する薬剤経路と、
前記薬剤経路を通過した前記薬剤を包装する包装部と、
前記供給部および前記包装部を制御する制御部とを備え、
前記制御部は、前記薬剤の包装後に前記薬剤経路の清掃が必要であるか否かを表す判定フラグを薬剤情報に関連付けて記憶する記憶部を有し、
前記薬剤容器は、清掃材をさらに収容し、
前記制御部は、包装後に前記薬剤経路の清掃が必要な薬剤が調剤データに含まれると、前記調剤データに従った包装が終了した後、次回の調剤データに含まれる薬剤の前記薬剤経路への供給を待機し、前記薬剤容器から前記薬剤経路に前記清掃材を供給する、薬剤包装装置。
続きを表示(約 1,000 文字)
【請求項2】
前記次回の調剤データが包装後に前記薬剤経路の清掃が必要な薬剤を含み、前記次回の調剤データに含まれる包装後に前記薬剤経路の清掃が必要な薬剤と前記調剤データに含まれる包装後に前記薬剤経路の清掃が必要な薬剤とが同じ種類である場合、前記制御部は、前記調剤データに従った包装が終了した後、前記清掃材を前記薬剤容器から前記薬剤経路に供給せず、前記次回の調剤データに従った包装を開始する、請求項1に記載の薬剤包装装置。
【請求項3】
前記次回の調剤データが包装後に前記薬剤経路の清掃が必要な薬剤を含まず、次々回以降の調剤データが包装後に前記薬剤経路の清掃が必要な薬剤を含み、前記次々回以降の調剤データに含まれる包装後に前記薬剤経路の清掃が必要な薬剤と前記調剤データに含まれる包装後に前記薬剤経路の清掃が必要な薬剤とが同じ種類である場合、前記制御部は、前記調剤データに含まれる包装後に前記薬剤経路の清掃が必要な薬剤と同じ薬剤を含む前記次々回以降の調剤データを、次回の調剤データに設定する、請求項2に記載の薬剤包装装置。
【請求項4】
前記薬剤経路は、前記供給部から供給された前記薬剤を一服用分ずつに分配する分配部を複数有し、
前記制御部は、複数の前記分配部のうち、包装後に前記薬剤経路の清掃が必要な薬剤を分配した分配部に、前記清掃材を供給する、請求項1から請求項3のいずれか1項に記載の薬剤包装装置。
【請求項5】
前記包装部は、前記薬剤経路を通過した前記清掃材を包装し、
前記制御部は、前記包装部が包装する前記清掃材の包数を、前記薬剤経路に供給される前記清掃材の量に従って決定する、請求項1から請求項4のいずれか1項に記載の薬剤包装装置。
【請求項6】
前記薬剤容器から取り出される薬剤を収容する容器を備え、
包装後に前記薬剤経路の清掃が必要な薬剤を前記容器から排出した後、前記薬剤容器から取り出される前記清掃材を前記容器に収容する、請求項1から請求項5のいずれか1項に記載の薬剤包装装置。
【請求項7】
前記供給部は、前記容器を搬送する搬送部を有し、
前記搬送部は、包装後に前記薬剤経路の清掃が必要な薬剤を排出した後の前記容器を、前記薬剤容器から取り出される前記清掃材を受ける位置に搬送する、請求項6に記載の薬剤包装装置。
発明の詳細な説明
【技術分野】
【0001】
本開示は、薬剤包装装置に関する。
続きを表示(約 1,500 文字)
【背景技術】
【0002】
特開2016-130972号公報(特許文献1)には、種類毎に散薬を収容するための複数の薬剤容器と、薬剤容器から排出された散剤を配分する分配ユニットと、散薬を個別に分包する分包動作を実行する薬剤分包装置とを備える、散薬分包装置が開示されている。
【先行技術文献】
【特許文献】
【0003】
特開2016-130972号公報
【発明の概要】
【発明が解決しようとする課題】
【0004】
上記文献には、分配ユニットの周辺に清掃装置が設けられていると記載されている。上記文献には、薬剤が通過する薬剤経路の清掃と、薬剤の包装とのタイミングに関する記載はない。
【0005】
本開示では、薬剤経路の清掃と薬剤の包装とのタイミングを適正化できる、薬剤包装装置が提供される。
【課題を解決するための手段】
【0006】
本開示に従うと、薬剤を収容する薬剤容器から薬剤を供給する供給部と、供給部から供給された薬剤が通過する薬剤経路と、薬剤経路を通過した薬剤を包装する包装部と、供給部および包装部を制御する制御部とを備える、薬剤包装装置が提供される。制御部は、薬剤の包装後に薬剤経路の清掃が必要であるか否かを表す判定フラグを薬剤情報に関連付けて記憶する記憶部を有している。薬剤容器は、清掃材をさらに収容する。制御部は、包装後に薬剤経路の清掃が必要な薬剤が調剤データに含まれると、調剤データに従った包装が終了した後、次回の調剤データに含まれる薬剤の薬剤経路への供給を待機し、薬剤容器から薬剤経路に清掃材を供給する。
【発明の効果】
【0007】
本開示に従った薬剤包装装置によれば、薬剤経路の清掃と薬剤の包装とのタイミングを適正化することができる。
【図面の簡単な説明】
【0008】
調剤システムを示す概略図である。
実施形態に係る薬剤分包装置の概略構成図である。
薬剤分包装置の電気的な構成を示すブロック図である。
中間容器(外部薬剤容器)の斜視図である。
搬出容器の斜視図である。
計量装置の概略構成図である。
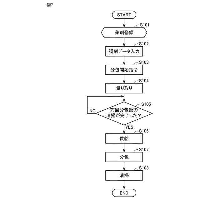
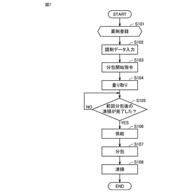
薬剤の供給および分包の処理の流れを示すフロー図である。
中間容器を清掃する処理の流れを示すフロー図である。
中間容器を清掃する処理の流れを示すフロー図である。
中間容器の内面の撮像画像を表示する表示部を示す図である。
中間容器の追加清掃の選択画面を表示する表示部を示す図である。
ホッパおよび分配部を清掃する処理の流れを示すフロー図である。
薬剤経路に清掃材を供給する処理の例の流れを示すフロー図である。
ホッパを手動清掃する処理の例の流れを示すフロー図である。
ホッパの内面の撮像画像を表示する表示部を示す図である。
ホッパの追加清掃の選択画面を表示する表示部を示す図である。
【発明を実施するための形態】
【0009】
以下、図面に基づいて本発明の実施の形態を説明する。なお、以下の図面において、同一または相当する部分には同一の参照番号を付し、その説明は繰り返さない。
【0010】
図1は、調剤システム100を示す概略図である。図2は、実施形態に係る薬剤分包装置1の概略構成図である。図3は、薬剤分包装置1の電気的な構成を示すブロック図である。
(【0011】以降は省略されています)
この特許をJ-PlatPat(特許庁公式サイト)で参照する
関連特許
株式会社タカゾノ
蒸気滅菌器
1か月前
株式会社タカゾノ
蒸気滅菌器
1か月前
株式会社タカゾノ
蒸気滅菌器
1か月前
株式会社タカゾノ
薬剤秤量装置
19日前
株式会社タカゾノ
滅菌器、滅菌の予約方法、及び滅菌の予約プログラム
1か月前
株式会社タカゾノ
薬剤包装装置
25日前
株式会社タカゾノ
薬剤供給装置
1か月前
株式会社タカゾノ
薬剤供給システム
25日前
株式会社タカゾノ
巻回体の製造方法、および巻回物
2か月前
個人
貼付剤
22日前
個人
簡易担架
4日前
個人
足踏み器具
11日前
個人
腋臭防止剤
4日前
個人
短下肢装具
3か月前
個人
嚥下鍛錬装置
4か月前
個人
排尿補助器具
1か月前
個人
前腕誘導装置
4か月前
個人
洗井間専家。
7か月前
個人
バッグ式オムツ
5か月前
個人
ホバーアイロン
7か月前
個人
歯の修復用材料
4か月前
個人
矯正椅子
5か月前
個人
アイマスク装置
2か月前
個人
腰ベルト
25日前
個人
ウォート指圧法
1か月前
個人
胸骨圧迫補助具
2か月前
個人
汚れ防止シート
1か月前
三生医薬株式会社
錠剤
8か月前
個人
陣痛緩和具
4か月前
個人
シャンプー
6か月前
個人
排尿排便補助器具
6日前
個人
湿布連続貼り機。
3か月前
個人
哺乳瓶冷まし容器
3か月前
個人
歯の保護用シール
5か月前
個人
車椅子持ち上げ器
8か月前
個人
美容セット
13日前
続きを見る
他の特許を見る